TOP
|
特許
|
意匠
|
商標
特許ウォッチ
Twitter
他の特許を見る
10個以上の画像は省略されています。
公開番号
2025163755
公報種別
公開特許公報(A)
公開日
2025-10-30
出願番号
2024067250
出願日
2024-04-18
発明の名称
導電モジュール
出願人
矢崎総業株式会社
,
トヨタ自動車株式会社
代理人
弁理士法人虎ノ門知的財産事務所
主分類
H01M
50/519 20210101AFI20251023BHJP(基本的電気素子)
要約
【課題】カバー部材の組付け作業性を向上させること。
【解決手段】電池モジュールBMにおける複数の電池セルBCを電気的に接続させる複数のバスバ10と、バスバを電池監視ユニットに電気接続させるバスバ毎の回路導体を備え、かつ、可撓性を持たせて平たく形成された回路導体部品20と、バスバと回路導体部品を開口から収容する収容部材40と、収容部材に組み付けられ、かつ、開口を塞ぐカバー部材50と、を備え、回路導体部品は、バスバ毎の回路導体が配線され、かつ、収容部材の中で規定位置に収容された幹線部21と、幹線部からバスバ毎に回路導体を分岐させ、かつ、規定位置の幹線部からバスバまでの間にて弾性域内で規定形状に折り曲げて配索される分岐部22と、を有し、収容部材には、分岐部が規定形状に折り曲げられた状態で幹線部を規定位置に係止する幹線係止部42を設けること。
【選択図】図4
特許請求の範囲
【請求項1】
電池モジュールにおける複数の電池セルを電気的に接続させる複数のバスバと、
前記バスバを電池監視ユニットに電気接続させる前記バスバ毎の回路導体を備え、かつ、可撓性を持たせて平たく形成された回路導体部品と、
前記バスバと前記回路導体部品を開口から収容する収容部材と、
前記収容部材に組み付けられ、かつ、前記開口を塞ぐカバー部材と、
を備え、
前記回路導体部品は、前記バスバ毎の前記回路導体が配線され、かつ、前記収容部材の中で規定位置に収容された幹線部と、前記幹線部から前記バスバ毎に前記回路導体を分岐させ、かつ、前記規定位置の前記幹線部から前記バスバまでの間にて弾性域内で規定形状に折り曲げて配索される分岐部と、を有し、
前記収容部材には、前記分岐部が前記規定形状に折り曲げられた状態で前記幹線部を前記規定位置に係止する幹線係止部を設けることを特徴とした導電モジュール。
続きを表示(約 670 文字)
【請求項2】
前記分岐部は、前記幹線部と前記収容部材の底部との間に潜り込ませる形で前記幹線部における前記分岐部の分岐起点側からU字状に折り曲げられ、
前記収容部材は、回転軸が前記幹線部の前記分岐起点側に設けられ、かつ、前記幹線係止部を前記幹線部の係止位置と非係止位置との間で回動させるヒンジ部を有することを特徴とした請求項1に記載の導電モジュール。
【請求項3】
前記ヒンジ部は、前記幹線係止部の一端に設けられ、
前記収容部材は、前記幹線係止部の他端に設けた第1係合部と、前記第1係合部を係合させて、前記幹線係止部による前記規定位置の前記幹線部の係止状態を保つ第2係合部と、を有することを特徴とした請求項2に記載の導電モジュール。
【請求項4】
前記幹線部は、前記分岐部を分岐させた前記分岐起点側を固定端とする片持ち梁となっており、
前記収容部材に組み付けられ、かつ、前記回路導体部品と前記カバー部材との間に介在して前記係止位置の前記幹線係止部と一緒に前記回路導体部品を覆う回路カバー部材を備え、
前記回路カバー部材は、前記収容部材に対する組付け完了状態のときに、前記規定位置の前記幹線部の自由端側で当該自由端を外した位置に配置される第1カバー係合部を有し、
前記収容部材は、前記第1カバー係合部を係合させて、前記回路カバー部材を前記収容部材に対する組付け完了状態に保つ第2カバー係合部を有することを特徴とした請求項1,2又は3に記載の導電モジュール。
発明の詳細な説明
【技術分野】
【0001】
本発明は、導電モジュールに関する。
続きを表示(約 2,100 文字)
【背景技術】
【0002】
導電モジュールは、複数の電池セルが配列された電池モジュールにおいて、複数のバスバを用いて複数の電池セルを電気的に接続させる。そして、この導電モジュールは、バスバ毎の回路導体が設けられ且つ可撓性を持たせた平らな回路導体部品を介して、それぞれのバスバを電池監視ユニットに電気的に接続させる。その回路導体部品は、シート状の絶縁層と複数の回路導体が設けられた導体層とを備える例えばフレキシブルプリント回路基板であり、バスバと共に収容部材に収容され且つカバー部材で覆われる。この回路導体部品は、バスバ毎の回路導体が配線された幹線部と、この幹線部からバスバ毎に回路導体を分岐させた分岐部と、を有しており、分岐部の回路導体をバスバに電気的に接続させる。この種の導電モジュールについては、例えば、下記の特許文献1に開示されている。この特許文献1の導電モジュールでは、端子金具を介して分岐部の回路導体をバスバに電気的に接続させる。そして、この特許文献1の導電モジュールでは、分岐部が幹線部から端子金具までの間において弾性域内で折り曲げて配索される。
【先行技術文献】
【特許文献】
【0003】
特開2022-173610号公報
【発明の概要】
【発明が解決しようとする課題】
【0004】
ところで、導電モジュールにおいては、例えば、分岐部の端部又は分岐部の端部に固定された端子金具を収容部材の中で位置決めされたバスバに固定し、その後で分岐部を規定形状に折り曲げて、収容部材にカバー部材を組み付ける。よって、回路導体部品においては、分岐部の折り曲げに伴う反力をバスバ又は端子金具に作用させるが、その反力がバスバ又は端子金具から分岐部に返されて、この分岐部が折り曲げる前の形状に戻ろうとしながら、幹線部を浮き上がらせる。これ故、従来の導電モジュールは、カバー部材の組付け作業性を低下させる虞がある。
【0005】
そこで、本発明は、カバー部材の組付け作業性を向上させ得る導電モジュールを提供することを、その目的とする。
【課題を解決するための手段】
【0006】
本発明は、電池モジュールにおける複数の電池セルを電気的に接続させる複数のバスバと、前記バスバを電池監視ユニットに電気接続させる前記バスバ毎の回路導体を備え、かつ、可撓性を持たせて平たく形成された回路導体部品と、前記バスバと前記回路導体部品を開口から収容する収容部材と、前記収容部材に組み付けられ、かつ、前記開口を塞ぐカバー部材と、を備え、前記回路導体部品は、前記バスバ毎の前記回路導体が配線され、かつ、前記収容部材の中で規定位置に収容された幹線部と、前記幹線部から前記バスバ毎に前記回路導体を分岐させ、かつ、前記規定位置の前記幹線部から前記バスバまでの間にて弾性域内で規定形状に折り曲げて配索される分岐部と、を有し、前記収容部材には、前記分岐部が前記規定形状に折り曲げられた状態で前記幹線部を前記規定位置に係止する幹線係止部を設けることを特徴とする。
【発明の効果】
【0007】
本発明に係る導電モジュールにおいて、幹線部は、幹線係止部によって浮き上がりを抑えて規定位置に保持される。よって、本発明に係る導電モジュールは、幹線部の状態を鑑みることなく収容部材にカバー部材を組み付けることができるので、収容部材に対するカバー部材の組付け作業性を向上させることができる。
【図面の簡単な説明】
【0008】
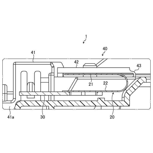
図1は、実施形態の導電モジュールを示す斜視図である。
図2は、実施形態の導電モジュールを示す分解斜視図である。
図3は、カバー部材と回路カバー部材を取り外した導電モジュールの一部を抜粋した平面図であり、幹線係止部で幹線部を規定位置に係止している状態を示す。
図4は、図3のX1-X1線断面の部分拡大図である。
図5は、図3のX2-X2線断面の部分拡大図である。
図6は、電池モジュールをバスバと共に示す模式図である。
図7は、カバー部材と回路カバー部材を取り外した導電モジュールの一部を抜粋した平面図であり、幹線係止部が非係止位置に位置している状態を示す。
図8は、図7のX2-X2線断面の部分拡大図である。
図9は、カバー部材を取り外した導電モジュールの一部を抜粋した平面図である。
図10は、図9のX3-X3線断面の部分拡大図である。
【発明を実施するための形態】
【0009】
以下に、本発明に係る導電モジュールの実施形態を図面に基づいて詳細に説明する。尚、この実施形態によりこの発明が限定されるものではない。
【0010】
[実施形態]
本発明に係る導電モジュールの実施形態の1つを図1から図10に基づいて説明する。
(【0011】以降は省略されています)
この特許をJ-PlatPat(特許庁公式サイト)で参照する
関連特許
矢崎総業株式会社
端子
5日前
矢崎総業株式会社
箱状体
25日前
矢崎総業株式会社
照明灯
1か月前
矢崎総業株式会社
箱状体
25日前
矢崎総業株式会社
コネクタ
1か月前
矢崎総業株式会社
コネクタ
1か月前
矢崎総業株式会社
コネクタ
1か月前
矢崎総業株式会社
照明装置
11日前
矢崎総業株式会社
止水部材
1か月前
矢崎総業株式会社
コネクタ
1か月前
矢崎総業株式会社
報知装置
12日前
矢崎総業株式会社
照明構造
1か月前
矢崎総業株式会社
コネクタ
26日前
矢崎総業株式会社
コネクタ
1か月前
矢崎総業株式会社
バスバー
16日前
矢崎総業株式会社
コネクタ
24日前
矢崎総業株式会社
コネクタ
1か月前
矢崎総業株式会社
コネクタ
23日前
矢崎総業株式会社
コネクタ
19日前
矢崎総業株式会社
コネクタ
1か月前
矢崎総業株式会社
コネクタ
1か月前
矢崎総業株式会社
コネクタ
26日前
矢崎総業株式会社
コネクタ
25日前
矢崎総業株式会社
コネクタ
1か月前
矢崎総業株式会社
コネクタ
1か月前
矢崎総業株式会社
コネクタ
26日前
矢崎総業株式会社
コネクタ
25日前
矢崎総業株式会社
照明装置
6日前
矢崎総業株式会社
照明装置
6日前
矢崎総業株式会社
コネクタ
1か月前
矢崎総業株式会社
照明装置
5日前
矢崎総業株式会社
コネクタ
1か月前
矢崎総業株式会社
コネクタ
1か月前
矢崎総業株式会社
プロテクタ
1か月前
矢崎総業株式会社
電気接続箱
1か月前
矢崎総業株式会社
カバー構造
3日前
続きを見る
他の特許を見る