TOP
|
特許
|
意匠
|
商標
意匠ウォッチ
Twitter
他の意匠を見る
発行日
2025-07-07
公報種別
意匠公報(S)
登録番号
1718623
登録日
2022-06-22
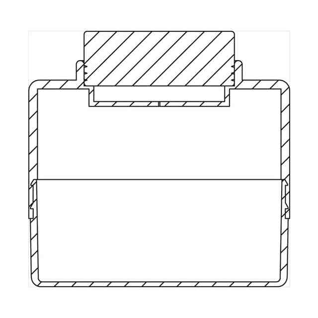
意匠に係る物品
ウェットティッシュケース
意匠分類
C4
-250(家庭用保健衛生用品)
出願番号
2021021923
出願日
2021-10-08
意匠権者
イデア 株式会社
代理人
意匠に係る物品の説明
本物品は、ウェットティッシュを内部に収納する容器であり、使用時には、参考斜視図に示すように、蓋を開け、内部に収納したウエットティッシュをスリットから一枚ずつ引き出して使用するものである。
意匠の説明
背面図は正面図と同一につき、背面図を省略する。右側面図は左側面図と同一につき、右側面図を省略する。下パーツの背面図は下パーツの正面図と同一につき、下パーツの背面図を省略する。下パーツの右側面図は下パーツの左側面図と同一につき、下パーツの右側面図を省略する。上パーツの背面図は上パーツの正面図と同一につき、上パーツの背面図を省略する。上パーツの右側面図は上パーツの左側面図と同一につき、上パーツの右側面図を省略する。蓋の背面図は蓋の正面図と同一につき、蓋の背面図を省略する。蓋の右側面図は蓋の左側面図と同一につき、蓋の右側面図を省略する。蓋の底面図は蓋の平面図と同一につき、蓋の底面図を省略する。
この意匠をJ-PlatPat(特許庁公式サイト)で参照する
関連意匠
株式会社リンク・インタラック
アイデア創出支援用紙
3か月前
イデア 株式会社
棚
7か月前
株式会社セガ
ゲーム機
8日前
株式会社島津製作所
回診撮影装置
2か月前
株式会社アイデア
頭部冷却用シート
9か月前
イデア 株式会社
載置台
6か月前
株式会社石野製作所
飲食物搬送機械用トレイ
7か月前
株式会社アイデア
頭部冷却用シート
9か月前
株式会社アイデア
首及び背中用冷却具
6か月前
イデア 株式会社
傘ホルダー
3か月前
株式会社 泡づけ本舗
脱着足置きシート付あぐら椅子
8か月前
イデア 株式会社
傘ホルダー
3か月前
株式会社 創心社
ディスプレイ
9か月前
三菱ロジスネクスト株式会社
フォークリフト
1か月前
三菱ロジスネクスト株式会社
フォークリフト
1か月前
三菱ロジスネクスト株式会社
フォークリフト
1か月前
三菱ロジスネクスト株式会社
フォークリフト
1か月前
三菱ロジスネクスト株式会社
フォークリフト
1か月前
三菱ロジスネクスト株式会社
フォークリフト
1か月前
PREDUCTS株式会社
キーボードトレイ
10か月前
株式会社内田洋行
ロッカー用小物トレイ
5か月前
株式会社バンダイ
おもちゃ用成型トレイ
1か月前
発想法株式会社
ノート用紙
2か月前
発想法株式会社
ノート用紙
2か月前
株式会社天王
トレイ
1か月前
イデア 株式会社
ウェットティッシュケース
3か月前
イデア 株式会社
ウェットティッシュケース
3か月前
DCM株式会社
食品トレイ
4か月前
明邦化学工業株式会社
蓋付収納トレイ
3か月前
Astemo株式会社
ディスクブレーキのキャリパボディ
4か月前
Astemo株式会社
ディスクブレーキのキャリパボディ
1か月前
クラシエ株式会社
菓子調製用トレイ
2か月前
クラシエ株式会社
菓子調製用トレイ
2か月前
クラシエ株式会社
菓子調製用トレイ
2か月前
クラシエ株式会社
菓子調製用トレイ
2か月前
富士紡ホールディングス株式会社
センサアレイ
2か月前
続きを見る
他の意匠を見る