TOP
|
特許
|
意匠
|
商標
意匠ウォッチ
Twitter
他の意匠を見る
発行日
2025-10-28
公報種別
意匠公報(S)
登録番号
1727877
登録日
2022-10-13
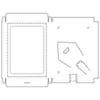
意匠に係る物品
額装具
意匠分類
C2
-22(室内装飾品)
出願番号
2022003158
出願日
2022-02-18
意匠権者
株式会社フェリシモ
代理人
特許業務法人 有古特許事務所
意匠に係る物品の説明
本物品は、例えばTシャツ等の布製品の額装に用いることができるものである。使用状態を示す参考図1及び2に示すように、本物品のスタンド部は縦置き状態及び横置き状態で本体を支持することができる。スタンド部を使用する時は、スタンド部及びスタンド保持部を起こして係合させる。
意匠の説明
参考図を除く各図において実線で表わした部分、すなわち、正面の窓部及び窓部の周辺部、背面の壁掛具用挿通孔、並びに蓋固定爪が形成されている部分を除く部分が意匠登録を受けようとする部分である。一点鎖線は意匠登録を受けようとする部分とその他の部分との境界のみを示す線である。
意匠ウォッチbot のツイートを見る
この意匠をJ-PlatPat(特許庁公式サイト)で参照する
関連意匠
株式会社フェリシモ
7か月前
株式会社フェリシモ
9か月前
株式会社フェリシモ
傘
7か月前
株式会社フェリシモ
額装具
3日前
株式会社フェリシモ
額装具用ブランク
3日前
株式会社フェリシモ
ぬいぐるみおもちゃ
7か月前
株式会社フェリシモ
ぬいぐるみおもちゃ
7か月前
株式会社フェリシモ
クッション
10か月前
個人
置物
24日前
フィスカース・フィンランド・オイ・アーベー
花瓶
7か月前
株式会社木楽舎
花器
6か月前
株式会社Geeniest
置物
2か月前
株式会社熊谷鉄工所
置物
6か月前
有限会社エムテック
置物
2か月前
ルイ ヴィトン マルチェ
花瓶
2か月前
株式会社アルナ
額縁
2か月前
有限会社平岡製工社
花瓶
2か月前
個人
花瓶
7か月前
アッシュコンセプト株式会社
花器
5か月前
個人
花器
4か月前
個人
額縁
7か月前
個人
置物
7か月前
個人
花瓶
7か月前
個人
置物
11か月前
個人
置物
1か月前
個人
置物
1か月前
山田化学株式会社
展示台
7か月前
個人
飾り台
7か月前
金華市芸統幻彩工芸品有限公司
装飾品
11か月前
株式会社サンワ製作所
貯金箱
6か月前
個人
壁掛け
7か月前
山田化学株式会社
展示台
7か月前
株式会社フェリシモ
額装具
3日前
個人
花留め
1か月前
個人
花留め
1か月前
有限会社あづま
載置台
1か月前
続きを見る
他の意匠を見る