TOP
|
特許
|
意匠
|
商標
意匠ウォッチ
Twitter
他の意匠を見る
発行日
2024-11-27
公報種別
意匠公報(S)
登録番号
1757882
登録日
2023-11-13
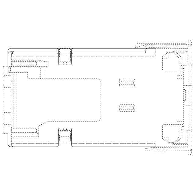
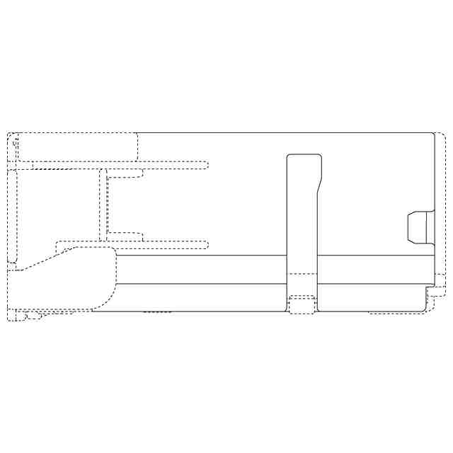
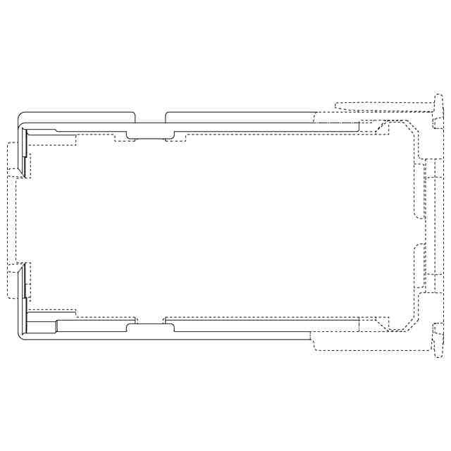
意匠に係る物品
ステープルリフィル
意匠分類
F2
-83290(筆記具、事務用具等)
出願番号
2023011119
出願日
2023-05-31
意匠権者
マックス株式会社
,
MAX KABUSHIKI KAISHA
代理人
個人
,
個人
,
個人
,
個人
意匠に係る物品の説明
本物品は、動力式の事務用ステープラーに使用されるもので、参考斜視図に示すとおり、内部にシート状ステープルを積層して収容するステープルリフィルである。内部に設けられた押圧板は、積層されたステープルを押し下げステープルシートの使用に伴って下降するようになっている。
意匠の説明
この意匠をJ-PlatPat(特許庁公式サイト)で参照する
関連意匠
マックス株式会社
空気釘打機
1か月前
マックス株式会社
鉄筋切断機
6か月前
マックス株式会社
空気ねじ打込機
6か月前
マックス株式会社
空気ねじ打込機
6か月前
マックス株式会社
ステープラー
11か月前
マックス株式会社
ステープルリフィル
10か月前
個人
印面
6か月前
シヤチハタ株式会社
印判
8か月前
株式会社ステップ・ケイ・スリー
定規
2か月前
個人
筆箱
10か月前
株式会社BLOW
印判
3か月前
一般社団法人未来ものづくり振興会
印判
3か月前
個人
画鋲
9か月前
株式会社あかしや
毛筆
3か月前
シヤチハタ株式会社
印判
11か月前
シヤチハタ株式会社
印判
11か月前
シヤチハタ株式会社
印判
2か月前
アッシュコンセプト株式会社
画鋲
8か月前
個人
画鋲
9か月前
シヤチハタ株式会社
印判
2か月前
シヤチハタ株式会社
印判
7か月前
シヤチハタ株式会社
印判
7か月前
株式会社パイロットコーポレーション
筆記具
3か月前
コクヨ株式会社
綴じ具
2か月前
コクヨ株式会社
綴じ具
2か月前
コクヨ株式会社
綴じ具
2か月前
個人
下敷き
7か月前
セキセイ株式会社
状差し
2日前
個人
筆記具
10か月前
株式会社パイロットコーポレーション
筆記具
3か月前
株式会社パイロットコーポレーション
筆記具
3か月前
三菱鉛筆株式会社
ペン皿
7か月前
三菱鉛筆株式会社
ペン皿
7か月前
コクヨ株式会社
筆記具
5か月前
コクヨ株式会社
筆記具
5か月前
コクヨ株式会社
筆記具
5か月前
続きを見る
他の意匠を見る