TOP
|
特許
|
意匠
|
商標
意匠ウォッチ
Twitter
他の意匠を見る
発行日
2024-11-27
公報種別
意匠公報(S)
登録番号
1785610
登録日
2024-11-19
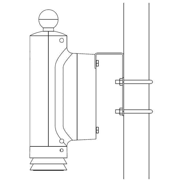
意匠に係る物品
熱中症指数計
意匠分類
J1
-220(計量器、測定機械器具及び測量機械器具)
出願番号
2024002816
出願日
2024-02-08
意匠権者
株式会社タニタ
,
TANITA CORPORATION
代理人
個人
,
個人
意匠に係る物品の説明
本物品は、上部の黒球温度計と下部の温湿度センサにより気温、湿度、黒球温度を計測することができる熱中症指数計である。本物品は、「支柱に取り付けた状態を示す参考図」に示すように、支柱や壁面等に取り付けて使用することができる。
意匠の説明
この意匠をJ-PlatPat(特許庁公式サイト)で参照する
関連意匠
株式会社タニタ
タイマー
2か月前
株式会社タニタ
熱中症指数計
10か月前
新潟精機株式会社
巻尺
6か月前
株式会社フォトジラフ
定規
5か月前
ムラテックKDS株式会社
巻尺
6か月前
ムラテックKDS株式会社
巻尺
6か月前
個人
巻尺
6か月前
株式会社吉田機工岡山
量水標
6日前
株式会社エムジー
記録計
11か月前
広東百事泰医療器械股ふん有限公司
温度計
3か月前
愛知時計電機株式会社
流量計
5か月前
深せん市森禾実業有限公司
体重計
8か月前
三和株式会社
温度計
4か月前
東フロコーポレーション株式会社
流量計
11か月前
株式会社アトラス
電子秤
5か月前
株式会社アトラス
電子秤
5か月前
東フロコーポレーション株式会社
流量計
11か月前
サーパス工業株式会社
流量計
10か月前
JUST MATCH株式会社
体温計
4か月前
株式会社小野測器
振動計
9か月前
個人
載置台
2か月前
株式会社小野測器
振動計
9か月前
株式会社トプコン
測量機
4か月前
サーパス工業株式会社
流量計
10か月前
JUST MATCH株式会社
体温計
10か月前
株式会社エビス
水準器
10か月前
サーパス工業株式会社
流量計
10か月前
青島海爾特種電氷櫃有限公司
カップ
11か月前
JUST MATCH株式会社
体温計
4か月前
横河電機株式会社
光測定器
9か月前
リガク アナリティカル デバイシーズ インコーポレイテッド
分析装置
4か月前
リガク アナリティカル デバイシーズ インコーポレイテッド
分析装置
4か月前
横河電機株式会社
光測定器
9か月前
横河電機株式会社
光測定器
9か月前
FrontAct株式会社
活動量計
28日前
株式会社フジタ
打診装置
8か月前
続きを見る
他の意匠を見る