TOP
|
特許
|
意匠
|
商標
意匠ウォッチ
Twitter
他の意匠を見る
発行日
2025-01-08
公報種別
意匠公報(S)
登録番号
1788525
登録日
2024-12-24
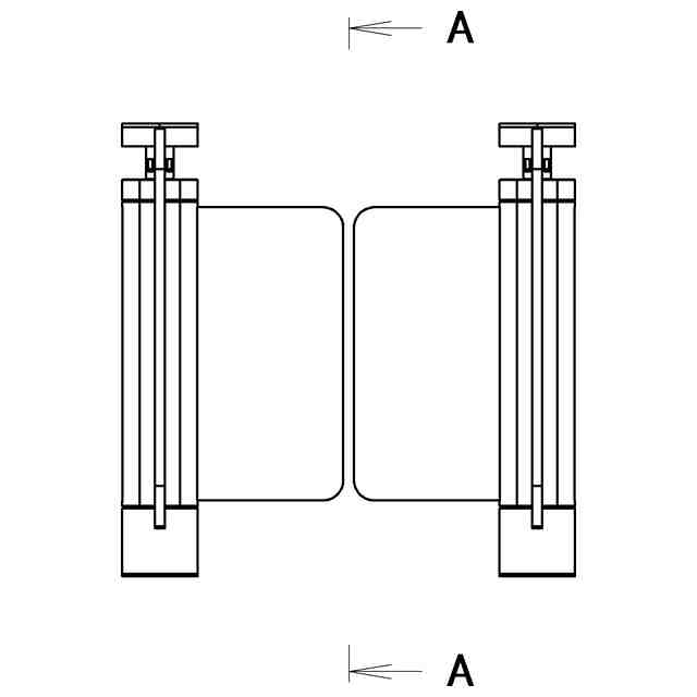
意匠に係る物品
入退管理ゲート機
意匠分類
J5
-40(自動販売機及び自動サービス機)
出願番号
2024018532
出願日
2024-09-09
意匠権者
株式会社高見沢サイバネティックス
代理人
意匠に係る物品の説明
本物品は、利用者が媒体を認証部にかざすことにより情報が読み取られ、扉の開閉を行う入退管理ゲート機である。
意匠の説明
背面図は正面図と同一である。右側面図は左側面図と同一である。透光部を示す参考図の斜線部は透光部を示す。
この意匠をJ-PlatPat(特許庁公式サイト)で参照する
関連意匠
株式会社高見沢サイバネティックス
自動改札機
9か月前
株式会社高見沢サイバネティックス
自動改札機
9か月前
株式会社高見沢サイバネティックス
自動改札機
9か月前
株式会社高見沢サイバネティックス
カード発売機
2か月前
株式会社高見沢サイバネティックス
入退管理ゲート機
9か月前
株式会社高見沢サイバネティックス
入退管理ゲート機
9か月前
株式会社東芝
自動改札機
10か月前
株式会社高見沢サイバネティックス
自動改札機
9か月前
株式会社高見沢サイバネティックス
自動改札機
9か月前
富士電機株式会社
自動販売機
8か月前
株式会社スリーライク
販売機用蓋
6か月前
株式会社東芝
自動改札機
10か月前
株式会社東芝
自動改札機
10か月前
株式会社東芝
自動改札機
10か月前
株式会社東芝
自動改札機
2か月前
株式会社東芝
自動改札機
2か月前
日本信号株式会社
自動改札機
2か月前
日本信号株式会社
自動改札機
2か月前
日本信号株式会社
自動改札機
2か月前
株式会社高見沢サイバネティックス
自動改札機
9か月前
株式会社暁電機製作所
自動券売機
1か月前
オムロン株式会社
自動改札機
1か月前
株式会社東芝
自動改札機
10か月前
株式会社東芝
自動改札機
10か月前
株式会社東芝
自動改札機
12か月前
日本電気株式会社
認証ゲート
1か月前
日本電気株式会社
認証ゲート
1か月前
日本電気株式会社
認証ゲート
1か月前
サントリーホールディングス株式会社
自動販売機
1か月前
富士電機株式会社
貨幣入出金機
1か月前
富士電機株式会社
貨幣入出金機
1か月前
富士電機株式会社
貨幣入出金機
1か月前
株式会社高見沢サイバネティックス
カード発売機
2か月前
パーク二四株式会社
駐車料金精算機
12か月前
ウォーターポイント株式会社
飲料自動販売機
8か月前
パーク二四株式会社
駐車料金精算機
12か月前
続きを見る
他の意匠を見る