TOP
|
特許
|
意匠
|
商標
意匠ウォッチ
Twitter
他の意匠を見る
発行日
2025-01-10
公報種別
意匠公報(S)
登録番号
1788712
登録日
2024-12-26
意匠に係る物品
建物用窓
意匠分類
L4
-6210(建築用構成品)
出願番号
2024010255
出願日
2024-05-22
意匠権者
YKK AP株式会社
代理人
意匠に係る物品の説明
本物品は、窓枠、レール部、固定窓、スライド式可動窓(掃き出し窓)およびスライド式可動網戸のユニットからなる建物用窓である。
意匠の説明
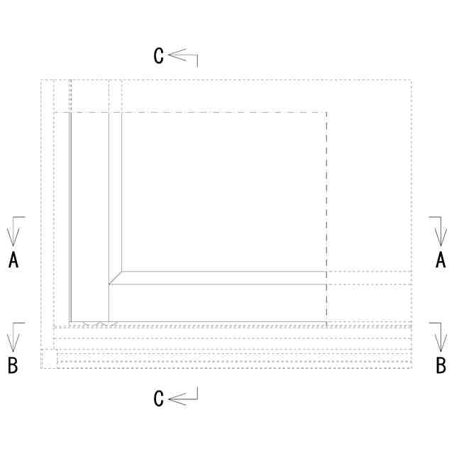
実線で表された部分が、登録を受けようとする部分である。一点鎖線は、意匠登録を受けようとする部分とその他の部分との境界のみを示す線である。「正面図」は室内から視認した際の本件意匠を示し、「背面図」は、室外から視認した際の本件意匠を示す。「網戸部分を示す参考図」における網掛け部は網戸用網を示す。「透明部分を示す参考図1」、「透明部分を示す参考図2」及び「網戸を外した状態の、透明部分を示す参考図」において、網点部は透明である。「左側面図」は、「右側面図」と対称に表れるため省略する。
意匠ウォッチbot のツイートを見る
この意匠をJ-PlatPat(特許庁公式サイト)で参照する
関連意匠
YKK AP株式会社
4か月前
YKK AP株式会社
見切材
1か月前
YKK AP株式会社
外構壁
3か月前
YKK AP株式会社
屋根材
6か月前
YKK AP株式会社
屋根材
6か月前
YKK AP株式会社
外構壁
3か月前
YKK AP株式会社
外構壁
3か月前
YKK AP株式会社
外構壁
3か月前
YKK AP株式会社
建物用窓
9か月前
YKK AP株式会社
建物用戸
8か月前
YKK AP株式会社
建物用窓
9か月前
YKK AP株式会社
建物用窓
9か月前
YKK AP株式会社
建物用窓
9か月前
YKK AP株式会社
建物用戸
8か月前
YKK AP株式会社
建物用窓
9か月前
YKK AP株式会社
建物用戸
7か月前
YKK AP株式会社
建物用戸
7か月前
YKK AP株式会社
建物用戸
8か月前
YKK AP株式会社
枠付き折戸
7か月前
YKK AP株式会社
枠付き折戸
7か月前
YKK AP株式会社
枠付きドア
8か月前
YKK AP株式会社
枠付き引戸
8か月前
YKK AP株式会社
枠付き引戸
7か月前
YKK AP株式会社
枠付きドア
7か月前
YKK AP株式会社
換気框
6か月前
YKK AP株式会社
枠付き折戸
9か月前
YKK AP株式会社
枠付き折戸
9か月前
YKK AP株式会社
枠付き折戸
9か月前
YKK AP株式会社
建物用外壁板
9か月前
YKK AP株式会社
建物用外壁板
9か月前
YKK AP株式会社
ドア付きパネル
15日前
YKK AP株式会社
ドア用縦枠
7か月前
YKK AP株式会社
建具用縦框
6か月前
YKK AP株式会社
建具用上枠
6か月前
YKK AP株式会社
建具用縦枠
6か月前
YKK AP株式会社
建具用縦枠
6か月前
続きを見る
他の意匠を見る