TOP
|
特許
|
意匠
|
商標
意匠ウォッチ
Twitter
他の意匠を見る
発行日
2025-01-17
公報種別
意匠公報(S)
登録番号
1789224
登録日
2025-01-08
意匠に係る物品
ソファ
意匠分類
D7
-21(家具)
出願番号
2024013022
出願日
2024-06-26
意匠権者
コクヨ株式会社
代理人
弁理士法人藤本パートナーズ
意匠に係る物品の説明
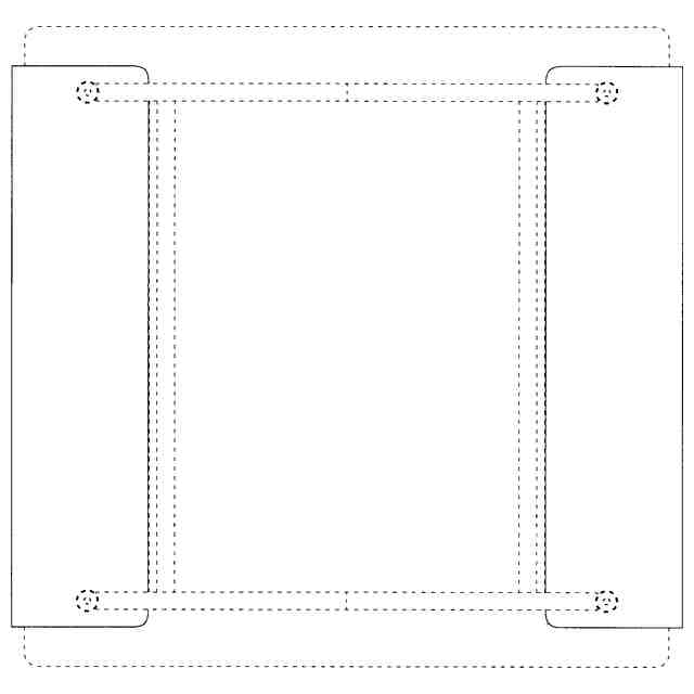
意匠の説明
実線であらわした部分が、意匠登録を受けようとする部分である。斜視図を含めて意匠登録を受けようとする部分を特定している。背面図は正面図と同一に、左側面図は右側面図と同一にあらわれる。
この意匠をJ-PlatPat(特許庁公式サイト)で参照する
関連意匠
コクヨ株式会社
2か月前
コクヨ株式会社
2か月前
コクヨ株式会社
2か月前
コクヨ株式会社
2か月前
コクヨ株式会社
10か月前
コクヨ株式会社
7か月前
コクヨ株式会社
椅子
5か月前
コクヨ株式会社
椅子
5か月前
コクヨ株式会社
椅子
5か月前
コクヨ株式会社
椅子
5か月前
コクヨ株式会社
椅子
3か月前
コクヨ株式会社
椅子
8か月前
コクヨ株式会社
椅子
5か月前
コクヨ株式会社
椅子
12日前
コクヨ株式会社
椅子
5か月前
コクヨ株式会社
椅子
8か月前
コクヨ株式会社
ソファ
8か月前
コクヨ株式会社
ソファ
1か月前
コクヨ株式会社
ソファ
7か月前
コクヨ株式会社
ソファ
7か月前
コクヨ株式会社
ソファ
5か月前
コクヨ株式会社
ソファ
7か月前
コクヨ株式会社
ソファ
7か月前
コクヨ株式会社
ついたて
5か月前
コクヨ株式会社
テーブル
10か月前
コクヨ株式会社
テーブル
10か月前
コクヨ株式会社
テーブル
4か月前
コクヨ株式会社
テーブル
5か月前
コクヨ株式会社
テーブル
5か月前
コクヨ株式会社
テーブル
5か月前
コクヨ株式会社
テーブル
4か月前
コクヨ株式会社
テーブル
4か月前
コクヨ株式会社
テーブル
4か月前
コクヨ株式会社
テーブル
4か月前
コクヨ株式会社
テーブル
5か月前
コクヨ株式会社
テーブル
3か月前
続きを見る
他の意匠を見る