TOP
|
特許
|
意匠
|
商標
意匠ウォッチ
Twitter
他の意匠を見る
発行日
2025-01-24
公報種別
意匠公報(S)
登録番号
1789866
登録日
2025-01-16
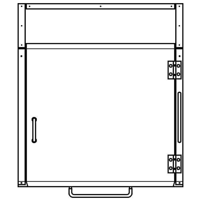
意匠に係る物品
ゴミ集積ボックス
意匠分類
L3
-101(組立て家屋、屋外装備品等)
出願番号
2024011033
出願日
2024-05-31
意匠権者
株式会社SANKA
代理人
個人
意匠に係る物品の説明
本物品は、たとえば公園や集合住宅のゴミ集積場所に設置され、上部開口部を開口した状態の参考斜視図に示すように、上部開口部を開口し、この上部開口部からゴミ袋を投入収納するゴミステーションなどのゴミ集積ボックスである。
意匠の説明
各図において表された細線は、いずれも立体形状を示すためのものである。また、左側面図は右側面図と対称にあらわれる為省略する。
意匠ウォッチbot のツイートを見る
この意匠をJ-PlatPat(特許庁公式サイト)で参照する
関連意匠
株式会社SANKA
作業用椅子
6か月前
株式会社SANKA
ワゴン
8か月前
株式会社SANKA
物掛け具
9か月前
株式会社SANKA
ワゴン
8か月前
株式会社SANKA
ワゴン
8か月前
株式会社SANKA
ワゴン
8か月前
株式会社SANKA
小物置き具
9か月前
株式会社SANKA
収納ケース
8か月前
株式会社SANKA
収納ケース
11か月前
株式会社SANKA
収納ケース
8か月前
株式会社SANKA
収納ケース
11か月前
株式会社SANKA
プランタースタンド
6か月前
株式会社SANKA
ゴミ集積ボックス
9か月前
株式会社SANKA
ゴミ集積ボックス
9か月前
株式会社SANKA
ペーパーロールホルダー
6か月前
株式会社SANKA
ゴミ集積ボックス
9か月前
株式会社SANKA
ゴミ集積ボックス
8か月前
株式会社SANKA
ゴミ集積ボックス
11か月前
株式会社SANKA
ゴミ集積ボックス
11か月前
株式会社SANKA
芝生根切り具
8か月前
株式会社LIXIL
門
29日前
株式会社大林組
柵
1か月前
株式会社LIXIL
門
29日前
株式会社LIXIL
門
29日前
株式会社LIXIL
門
29日前
YKK AP株式会社
門扉
3か月前
積水ハウス株式会社
住宅
7か月前
個人
鳥居
8か月前
YKK AP株式会社
門扉
3か月前
個人
住宅
8か月前
旭化成ホームズ株式会社
住宅
7か月前
旭化成ホームズ株式会社
住宅
7か月前
積水ハウス株式会社
住宅
7か月前
積水ハウス株式会社
住宅
9か月前
積水ハウス株式会社
住宅
7か月前
積水ハウス株式会社
住宅
7か月前
続きを見る
他の意匠を見る