TOP
|
特許
|
意匠
|
商標
意匠ウォッチ
Twitter
他の意匠を見る
発行日
2025-02-03
公報種別
意匠公報(S)
登録番号
1790404
登録日
2025-01-24
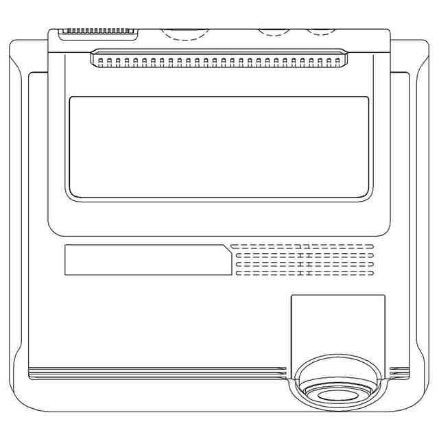
意匠に係る物品
自動車用ビデオレコーダー
意匠分類
J3
-230(光学機械器具)
出願番号
2024013734,30-2024-0024083
出願日
2024-07-03
意匠権者
シンクウェア コーポレーション
,
THINKWARE CORPORATION
代理人
弁理士法人高橋・林アンドパートナーズ
意匠に係る物品の説明
意匠の説明
破線は意匠登録を受けようとする部分でない部分をあらわすことを目的としたものであって、意匠登録を受けようとする部分を構成しない。実線で表した部分が、部分意匠として意匠登録を受けようとする部分である。
意匠ウォッチbot のツイートを見る
この意匠をJ-PlatPat(特許庁公式サイト)で参照する
関連意匠
シンクウェア コーポレーション
自動車用ドライブレコーダー
8か月前
シンクウェア コーポレーション
自動車用ビデオレコーダー
8か月前
シンクウェア コーポレーション
自動車用ビデオレコーダー
8か月前
シンクウェア コーポレーション
自動車用ビデオレコーダー
8か月前
シンクウェア コーポレーション
自動車用ビデオレコーダー
8か月前
シンクウェア コーポレーション
自動車用ビデオレコーダー
8か月前
シンクウェア コーポレーション
自動車用ドライブレコーダー
8か月前
シンクウェア コーポレーション
自動車用ドライブレコーダー
8か月前
シンクウェア コーポレーション
自動車用ドライブレコーダー
8か月前
シンクウェア コーポレーション
自動車用ドライブレコーダー
8か月前
株式会社シンシア
カメラ
4か月前
杭州覓睿科技股分有限公司
カメラ
5か月前
富士フイルム株式会社
双眼鏡
3か月前
富士フイルム株式会社
双眼鏡
3か月前
富士フイルム株式会社
双眼鏡
3か月前
富士フイルム株式会社
双眼鏡
3か月前
任天堂株式会社
カメラ
2か月前
海狸文創科技(深せん)有限公司
カメラ
10か月前
大日本印刷株式会社
投影機
10か月前
アイコム株式会社
カメラ
4か月前
深セン市意安迪電子有限公司
カメラ
2か月前
富士フイルム株式会社
双眼鏡
2か月前
富士フイルム株式会社
双眼鏡
2か月前
神達數位股ふん有限公司
カメラ
2か月前
富士フイルム株式会社
双眼鏡
3か月前
個人
カメラ
5か月前
富士フイルム株式会社
双眼鏡
3か月前
日本電気株式会社
カメラ
2か月前
株式会社インタニヤ
カメラ
5か月前
海狸文創科技(深せん)有限公司
カメラ
6か月前
エムケー精工株式会社
取付具
5か月前
尚鎧株式会社
カメラ
1か月前
株式会社インタニヤ
カメラ
5か月前
星和電機株式会社
カメラ
5か月前
ネグロス電工株式会社
取付具
8か月前
ネグロス電工株式会社
取付具
8か月前
続きを見る
他の意匠を見る