TOP
|
特許
|
意匠
|
商標
意匠ウォッチ
Twitter
他の意匠を見る
発行日
2025-02-19
公報種別
意匠公報(S)
登録番号
1791524
登録日
2025-02-10
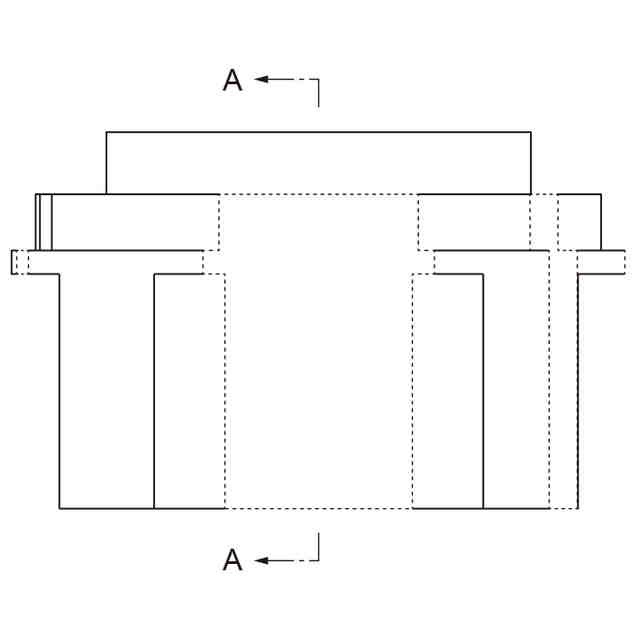
意匠に係る物品
フラッシュランプ用台座
意匠分類
H1
-769(基本的電気素子)
出願番号
2024020888
出願日
2024-10-08
意匠権者
浜松ホトニクス株式会社
代理人
個人
,
個人
,
個人
,
個人
意匠に係る物品の説明
本物品は、血液検査機器などに使用するフラッシュランプ用の台座である。使用者は「使用状態を示す参考図」に示すように本物品にフラッシュランプを取り付け、さらにそれを血液検査機器などに取り付ける。本物品は位置決めのための溝部を設けているため、フラッシュランプを血液検査機器などに容易に取り付けることができる。
意匠の説明
実線で表した部分が、部分意匠として意匠登録を受けようとする部分である。一点鎖線は、部分意匠として意匠登録を受けようとする部分とその他の部分との境界を示す線であり、模様として意匠を構成しない。「部分意匠として意匠登録を受けようとする部分を示す参考図」で赤く着色した部分が、部分意匠として意匠登録を受けようとする部分である。
この意匠をJ-PlatPat(特許庁公式サイト)で参照する
関連意匠
浜松ホトニクス株式会社
8か月前
浜松ホトニクス株式会社
8か月前
浜松ホトニクス株式会社
7か月前
浜松ホトニクス株式会社
6か月前
浜松ホトニクス株式会社
8か月前
浜松ホトニクス株式会社
8か月前
浜松ホトニクス株式会社
情報表示操作用画像
2日前
浜松ホトニクス株式会社
情報表示操作用画像
2日前
浜松ホトニクス株式会社
情報表示操作用画像
2日前
浜松ホトニクス株式会社
情報表示操作用画像
2日前
浜松ホトニクス株式会社
デジタルパソロジー機器
2日前
浜松ホトニクス株式会社
半導体デバイス検査用画像
1か月前
浜松ホトニクス株式会社
半導体デバイス検査用画像
5か月前
浜松ホトニクス株式会社
半導体デバイス検査用画像
6か月前
浜松ホトニクス株式会社
接続ケーブル
6か月前
浜松ホトニクス株式会社
電気コネクタ
8か月前
浜松ホトニクス株式会社
フラッシュランプ
8か月前
浜松ホトニクス株式会社
フラッシュランプ
8か月前
浜松ホトニクス株式会社
フラッシュランプ
8か月前
浜松ホトニクス株式会社
フラッシュランプ
8か月前
浜松ホトニクス株式会社
フラッシュランプ
8か月前
浜松ホトニクス株式会社
フラッシュランプ用台座
8か月前
浜松ホトニクス株式会社
フラッシュランプ用台座
8か月前
浜松ホトニクス株式会社
フラッシュランプ用台座
8か月前
浜松ホトニクス株式会社
フラッシュランプ用台座
8か月前
浜松ホトニクス株式会社
フラッシュランプ用台座
8か月前
浜松ホトニクス株式会社
フラッシュランプ用台座
8か月前
浜松ホトニクス株式会社
キャリブレーション用スライド
3か月前
浜松ホトニクス株式会社
キャリブレーション用スライド
3か月前
浜松ホトニクス株式会社
キャリブレーション用スライド
3か月前
浜松ホトニクス株式会社
キャリブレーション用スライド
3か月前
浜松ホトニクス株式会社
キャリブレーション用スライド
3か月前
浜松ホトニクス株式会社
キャリブレーション用スライド
3か月前
浜松ホトニクス株式会社
キャリブレーション用スライド
2か月前
浜松ホトニクス株式会社
エックス線発生器
11か月前
浜松ホトニクス株式会社
エックス線発生器
11か月前
続きを見る
他の意匠を見る