TOP
|
特許
|
意匠
|
商標
意匠ウォッチ
Twitter
他の意匠を見る
発行日
2025-03-04
公報種別
意匠公報(S)
登録番号
1792446
登録日
2025-02-21
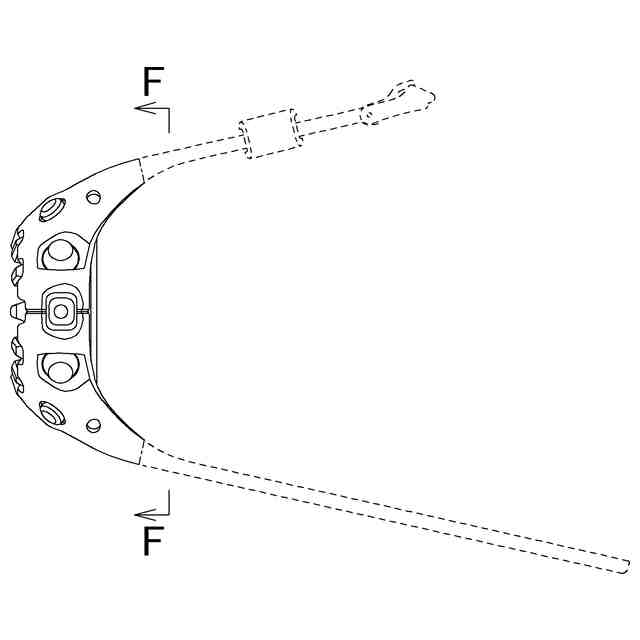
意匠に係る物品
バンド付腕時計側
意匠分類
J2
-391(時計)
出願番号
2024022470
出願日
2024-10-29
意匠権者
カシオ計算機株式会社
代理人
個人
,
個人
,
個人
意匠に係る物品の説明
意匠の説明
実線で表した部分は、部分意匠として意匠登録を受けようとする部分であり、一点鎖線は、部分意匠として意匠登録を受けようとする部分とその他の部分との境界のみを示す線である。
意匠ウォッチbot のツイートを見る
この意匠をJ-PlatPat(特許庁公式サイト)で参照する
関連意匠
カシオ計算機株式会社
12か月前
カシオ計算機株式会社
腕時計側
2か月前
カシオ計算機株式会社
電子ピアノ
10か月前
カシオ計算機株式会社
電子ピアノ
10か月前
カシオ計算機株式会社
電子ルーペ
4か月前
カシオ計算機株式会社
電子ルーペ
4か月前
カシオ計算機株式会社
電子ルーペ
4か月前
カシオ計算機株式会社
バンド付腕時計側
5か月前
カシオ計算機株式会社
バンド付腕時計側
7か月前
カシオ計算機株式会社
バンド付腕時計側
7か月前
カシオ計算機株式会社
バンド付腕時計側
7か月前
カシオ計算機株式会社
電子辞書
4か月前
カシオ計算機株式会社
卓上電子計算機
1か月前
フジアン バーチュー インダストリ カンパニー リミテッド
時計
19日前
ハリー・ウィンストン・エス アー
時計
2か月前
個人
砂時計
11か月前
DESIGN TAZA合同会社
置時計
7か月前
ハリー・ウィンストン・エス アー
時計側
2か月前
セイコーウオッチ株式会社
腕時計
6か月前
ハリー・ウィンストン・エス アー
時計側
6か月前
オメガ・エス アー(オメガ・アーゲー)(オメガ・リミテッド)
腕時計
1か月前
オメガ・エス アー(オメガ・アーゲー)(オメガ・リミテッド)
腕時計
1か月前
オメガ・エス アー(オメガ・アーゲー)(オメガ・リミテッド)
腕時計
1か月前
スウォッチ アーゲー(スウォッチ エスアー)(スウォッチ リミテッド)
腕時計
2か月前
セイコータイムクリエーション株式会社
置時計
1か月前
リズム株式会社
置時計
4か月前
珠海我愛生活科技有限公司
置時計
9か月前
ブランパン・エス アー
時計本体
4か月前
カシオ計算機株式会社
腕時計側
2か月前
モントレー ブレゲ・エスアー(モントレー ブレゲ・アーゲー)(モントレー ブレゲ・リミテッド)
時計本体
3か月前
ブランパン・エス アー
時計本体
4か月前
ブランパン・エス アー
時計本体
4か月前
株式会社ドリテック
タイマー
7か月前
株式会社大阪クリップ
タイマー
7か月前
しょう州市恒達斯鐘表有限公司
壁掛時計
8か月前
株式会社ドリテック
タイマー
8か月前
続きを見る
他の意匠を見る