TOP
|
特許
|
意匠
|
商標
意匠ウォッチ
Twitter
他の意匠を見る
発行日
2025-03-28
公報種別
意匠公報(S)
登録番号
1794583
登録日
2025-03-19
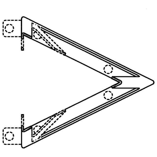
意匠に係る物品
棚受具
意匠分類
D9
-161(住宅設備用品汎用部品及び付属品)
出願番号
2024016319
出願日
2024-08-06
意匠権者
株式会社サヌキ
代理人
個人
,
個人
,
個人
,
個人
,
個人
意匠に係る物品の説明
本物品は、使用状態の参考図に示すよう、棚を支持するものである。
意匠の説明
背面図は正面図と対称にあらわれる。正面、平面、及び右側面をあらわす斜視図、並びに背面、底面、及び左側面をあらわす斜視図にあらわされた直線状及び曲線状の細線は表面の立体形状を特定するためのものである。実線であらわされた部分が、部分意匠として意匠登録を受けようとする部分である。一点鎖線は、部分意匠として意匠登録を受けようとする部分とその他の部分との境界のみを示す線である。断面図を含めて部分意匠として意匠登録を受けようとする部分を特定している。
この意匠をJ-PlatPat(特許庁公式サイト)で参照する
関連意匠
株式会社サヌキ
棚受具
6か月前
株式会社サヌキ
棚受具
6か月前
スガツネ工業株式会社
棚受
16日前
スガツネ工業株式会社
棚受
16日前
株式会社ミラタップ
棚板
1か月前
コクヨ株式会社
棚板
8か月前
株式会社セラタ
棚柱
1か月前
スガツネ工業株式会社
棚受
16日前
株式会社ウッドワン
棚受け
8か月前
株式会社ウッドワン
棚受け
8か月前
株式会社サヌキ
棚受具
6か月前
株式会社サヌキ
棚受具
6か月前
ケイ・ジー・ワイ工業株式会社
棚受け具
9か月前
個人
収納家具
9か月前
クリナップ株式会社
家具用扉
12か月前
タカラスタンダード株式会社
家具用扉
4か月前
クリナップ株式会社
家具用扉
2か月前
クリナップ株式会社
家具用扉
2か月前
クリナップ株式会社
家具用扉
2か月前
クリナップ株式会社
家具用扉
2か月前
クリナップ株式会社
家具用扉
7か月前
トクラス株式会社
家具用扉
8か月前
クリナップ株式会社
家具用扉
12か月前
クリナップ株式会社
家具用扉
今日
TOTO株式会社
家具用扉
3か月前
トクラス株式会社
家具用扉
6か月前
株式会社オカムラ
家具用脚
5か月前
江陰市友邦家居用品有限公司
家具用金具
8か月前
株式会社シモダイラ
家具用型材
4か月前
株式会社オカムラ
家具用棚板
5か月前
株式会社オカムラ
家具用棚板
5か月前
株式会社ムラコシ精工
棚受レール
10か月前
株式会社オカムラ
家具用棚板
5か月前
株式会社オカムラ
家具用棚板
5か月前
ユリウス ブルーム ゲー・エム・ベー・ハー
家具用部品
3か月前
ユリウス ブルーム ゲー・エム・ベー・ハー
家具用部品
3か月前
続きを見る
他の意匠を見る