TOP
|
特許
|
意匠
|
商標
意匠ウォッチ
Twitter
他の意匠を見る
発行日
2025-04-04
公報種別
意匠公報(S)
登録番号
1795214
登録日
2025-03-27
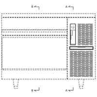
意匠に係る物品
真空包装機
意匠分類
K0
-60(K1~K9に属さないその他の産業用機械器具)
出願番号
2024015877
出願日
2024-07-31
意匠権者
ホシザキ株式会社
代理人
意匠に係る物品の説明
意匠の説明
縮小参考斜視図において薄墨を施した部分は透明である。
この意匠をJ-PlatPat(特許庁公式サイト)で参照する
関連意匠
ホシザキ株式会社
真空包装機操作用画像
7か月前
ホシザキ株式会社
真空包装機操作用画像
7か月前
ホシザキ株式会社
真空包装機操作用画像
7か月前
ホシザキ株式会社
調理用再加熱機操作用画像
7か月前
ホシザキ株式会社
調理用再加熱機操作用画像
7か月前
ホシザキ株式会社
製氷機
4か月前
ホシザキ株式会社
製氷機
4か月前
ホシザキ株式会社
製氷機
4か月前
ホシザキ株式会社
製氷機
4か月前
ホシザキ株式会社
製氷機
16日前
ホシザキ株式会社
製氷機
4か月前
ホシザキ株式会社
製氷機
4か月前
ホシザキ株式会社
製氷機
4か月前
ホシザキ株式会社
製氷機
4か月前
ホシザキ株式会社
製氷機
4か月前
ホシザキ株式会社
製氷機
4か月前
ホシザキ株式会社
製氷機
4か月前
ホシザキ株式会社
製氷機
4か月前
ホシザキ株式会社
製氷機
4か月前
ホシザキ株式会社
製氷機
4か月前
ホシザキ株式会社
製氷機
4か月前
ホシザキ株式会社
製氷機
4か月前
ホシザキ株式会社
製氷機
9か月前
ホシザキ株式会社
製氷機
9か月前
ホシザキ株式会社
製氷機
4か月前
ホシザキ株式会社
真空マイクロ波解凍機操作用画像
7か月前
ホシザキ株式会社
冷蔵庫
7か月前
ホシザキ株式会社
冷蔵庫
7か月前
ホシザキ株式会社
冷蔵庫
9か月前
ホシザキ株式会社
真空マイクロ波解凍機操作用画像
7か月前
ホシザキ株式会社
冷蔵庫
9か月前
ホシザキ株式会社
冷蔵庫
9か月前
ホシザキ株式会社
冷蔵庫
9か月前
ホシザキ株式会社
冷蔵庫
7か月前
ホシザキ株式会社
冷蔵庫
4か月前
ホシザキ株式会社
冷蔵庫
7か月前
続きを見る
他の意匠を見る