TOP
|
特許
|
意匠
|
商標
意匠ウォッチ
Twitter
他の意匠を見る
発行日
2025-05-26
公報種別
意匠公報(S)
登録番号
1799521
登録日
2025-05-16
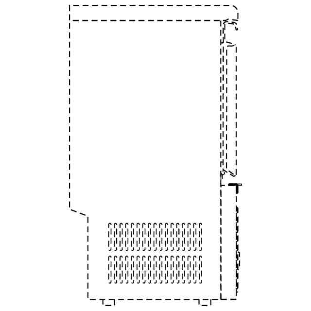
意匠に係る物品
製氷機
意匠分類
C6
-52(飲食用具及び調理用器具)
出願番号
2024027266
出願日
2024-12-27
意匠権者
ホシザキ株式会社
代理人
意匠に係る物品の説明
意匠の説明
実線で表された部分が、部分意匠として意匠登録を受けようとする部分である。参考斜視図において薄墨を施した部分は透光性を有する。
この意匠をJ-PlatPat(特許庁公式サイト)で参照する
関連意匠
ホシザキ株式会社
真空包装機操作用画像
7か月前
ホシザキ株式会社
真空包装機操作用画像
7か月前
ホシザキ株式会社
真空包装機操作用画像
7か月前
ホシザキ株式会社
調理用再加熱機操作用画像
8か月前
ホシザキ株式会社
調理用再加熱機操作用画像
8か月前
ホシザキ株式会社
製氷機
5か月前
ホシザキ株式会社
製氷機
5か月前
ホシザキ株式会社
製氷機
5か月前
ホシザキ株式会社
製氷機
5か月前
ホシザキ株式会社
製氷機
1か月前
ホシザキ株式会社
製氷機
5か月前
ホシザキ株式会社
製氷機
5か月前
ホシザキ株式会社
製氷機
5か月前
ホシザキ株式会社
製氷機
5か月前
ホシザキ株式会社
製氷機
5か月前
ホシザキ株式会社
製氷機
5か月前
ホシザキ株式会社
製氷機
5か月前
ホシザキ株式会社
製氷機
5か月前
ホシザキ株式会社
製氷機
5か月前
ホシザキ株式会社
製氷機
5か月前
ホシザキ株式会社
製氷機
5か月前
ホシザキ株式会社
製氷機
5か月前
ホシザキ株式会社
製氷機
10か月前
ホシザキ株式会社
製氷機
10か月前
ホシザキ株式会社
製氷機
5か月前
ホシザキ株式会社
真空マイクロ波解凍機操作用画像
7か月前
ホシザキ株式会社
冷蔵庫
7か月前
ホシザキ株式会社
冷蔵庫
7か月前
ホシザキ株式会社
冷蔵庫
10か月前
ホシザキ株式会社
真空マイクロ波解凍機操作用画像
7か月前
ホシザキ株式会社
冷蔵庫
10か月前
ホシザキ株式会社
冷蔵庫
10か月前
ホシザキ株式会社
冷蔵庫
10か月前
ホシザキ株式会社
冷蔵庫
7か月前
ホシザキ株式会社
冷蔵庫
5か月前
ホシザキ株式会社
冷蔵庫
7か月前
続きを見る
他の意匠を見る