TOP
|
特許
|
意匠
|
商標
意匠ウォッチ
Twitter
他の意匠を見る
発行日
2025-04-07
公報種別
意匠公報(S)
登録番号
1795288
登録日
2025-03-28
意匠に係る物品
置物
意匠分類
C0
-13(C1~C7に属さないその他の生活用品)
出願番号
2024012357
出願日
2024-06-03
意匠権者
株式会社ニッシン
代理人
意匠に係る物品の説明
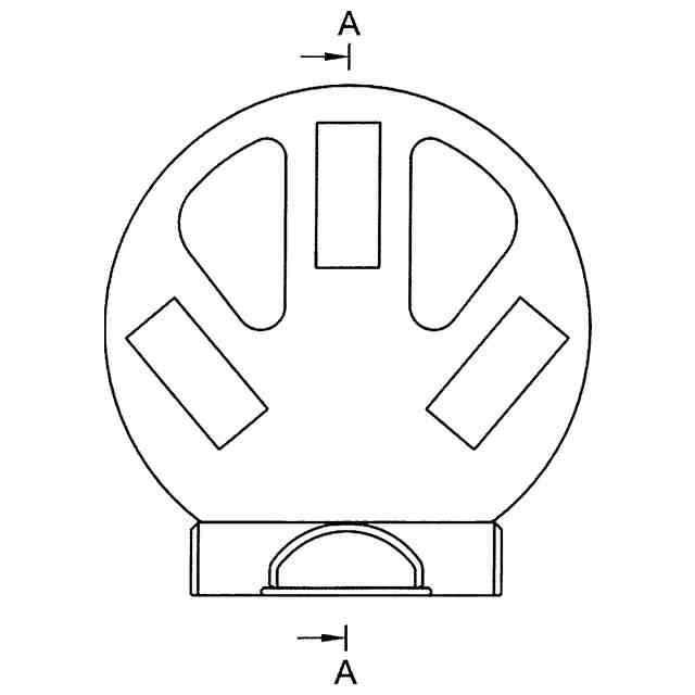
本物品は、円形状をモチーフとした置物であり、後部上部、左右の差し込み口より団扇の柄を差し込み3本の団扇をディスプレイ用途として使用することができる。背面部下側の円形部は、団扇をディスプレイした状態で安定性を持たせる為、市販のペットボトル等を置けるようになっている。
意匠の説明
この意匠をJ-PlatPat(特許庁公式サイト)で参照する
関連意匠
株式会社ニッシン
装飾体
8か月前
株式会社ニッシン
置物
6か月前
株式会社ニッシン
置物
6か月前
株式会社ニッシン
置物
6か月前
株式会社ニッシン
置物
6か月前
株式会社ニッシン
置物
6か月前
株式会社ニッシン
置物
6か月前
株式会社天王
トレイ
1か月前
個人
刺繍枠
8か月前
トモエ陶業株式会社
宝石箱
7か月前
個人
刺繍枠
8か月前
レック株式会社
ボトル
3か月前
近畿編針株式会社
編み針
7か月前
淀川建材工業株式会社
スタンド
9か月前
株式会社マーナ
収納容器
8か月前
株式会社シーズワン
収納容器
10か月前
アッシュコンセプト株式会社
スタンド
3か月前
株式会社フォルム
収納容器
2か月前
株式会社フォルム
収納容器
2か月前
深せん市半秒科技有限公司
収納容器
6か月前
大山株式会社
裁縫ケース
8か月前
錦化成株式会社
小物整理箱
7か月前
個人
オルゴール
5か月前
個人
キーツリー
4か月前
深せん市点星光電有限公司
収納ケース
3か月前
チューンズ デザイン エルエルシー
フックツール
10か月前
白元アース株式会社
包装用噴霧器
11か月前
白元アース株式会社
包装用噴霧器
11か月前
The Procter & Gamble Company
Bottle
12か月前
個人
小物整理用具
1か月前
フマキラー株式会社
包装用噴霧器
7か月前
フマキラー株式会社
包装用噴霧器
7か月前
フマキラー株式会社
包装用噴霧器
7か月前
フマキラー株式会社
包装用噴霧器
7か月前
The Procter & Gamble Company
Bottle
12か月前
株式会社マーナ
収納容器用の蓋
8か月前
続きを見る
他の意匠を見る