TOP
|
特許
|
意匠
|
商標
意匠ウォッチ
Twitter
他の意匠を見る
発行日
2025-04-10
公報種別
意匠公報(S)
登録番号
1795799
登録日
2025-04-02
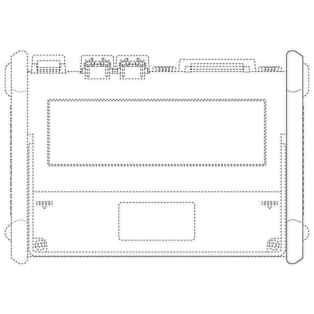
意匠に係る物品
光測定器
意匠分類
J1
-48(計量器、測定機械器具及び測量機械器具)
出願番号
2024017244
出願日
2024-08-22
意匠権者
横河電機株式会社
,
横河計測株式会社
代理人
個人
,
個人
,
個人
意匠に係る物品の説明
本物品は、光ファイバーネットワークなどの光学機器の敷設および保守の際に、光パルス測定などを行う光測定器である。
意匠の説明
実線で表された部分が、意匠登録を受けようとする部分である。一点鎖線は、意匠登録を受けようとする部分とその他の部分との境界を示す。細線は立体表面の形状を表す。
この意匠をJ-PlatPat(特許庁公式サイト)で参照する
関連意匠
横河電機株式会社
光測定器
6か月前
横河電機株式会社
光測定器
9か月前
横河電機株式会社
光測定器
9か月前
横河電機株式会社
光測定器
9か月前
横河電機株式会社
データロガー
3か月前
横河電機株式会社
データロガー
3か月前
個人
巻尺
6か月前
株式会社フォトジラフ
定規
5か月前
新潟精機株式会社
巻尺
6か月前
ムラテックKDS株式会社
巻尺
6か月前
ムラテックKDS株式会社
巻尺
6か月前
株式会社トプコン
測量機
4か月前
愛知時計電機株式会社
流量計
4か月前
株式会社エビス
水準器
10か月前
JUST MATCH株式会社
体温計
4か月前
個人
載置台
1か月前
JUST MATCH株式会社
体温計
4か月前
JUST MATCH株式会社
体温計
10か月前
三和株式会社
温度計
4か月前
株式会社アトラス
電子秤
5か月前
株式会社ケット科学研究所
膜厚計
12か月前
株式会社エムジー
記録計
10か月前
青島海爾特種電氷櫃有限公司
カップ
11か月前
東フロコーポレーション株式会社
流量計
11か月前
株式会社アトラス
電子秤
5か月前
サーパス工業株式会社
流量計
10か月前
広東百事泰医療器械股ふん有限公司
温度計
2か月前
株式会社小野測器
振動計
9か月前
株式会社吉田機工岡山
量水標
3日前
深せん市森禾実業有限公司
体重計
7か月前
株式会社小野測器
振動計
9か月前
東フロコーポレーション株式会社
流量計
11か月前
サーパス工業株式会社
流量計
10か月前
サーパス工業株式会社
流量計
10か月前
横河電機株式会社
光測定器
9か月前
横河電機株式会社
光測定器
9か月前
続きを見る
他の意匠を見る