TOP
|
特許
|
意匠
|
商標
意匠ウォッチ
Twitter
他の意匠を見る
発行日
2025-04-14
公報種別
意匠公報(S)
登録番号
1795983
登録日
2025-04-04
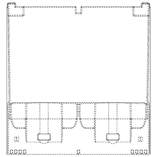
意匠に係る物品
充電器
意匠分類
H2
-2120(回転電気機械、配電機械器具)
出願番号
2024013667
出願日
2024-07-02
意匠権者
株式会社オーディオテクニカ
代理人
弁理士法人創光国際特許事務所
意匠に係る物品の説明
本物品は、マイクロホンと、マイクロホンに音声信号を無線通信で送信する送信機を充電可能な充電器であり、縦置きと横置きのいずれの状態でも充電可能である。
意匠の説明
右側面図は、左側面図と対称に表されるため省略される。実線で表した部分が、部分意匠として意匠登録を受けようとする部分である。
この意匠をJ-PlatPat(特許庁公式サイト)で参照する
関連意匠
株式会社オーディオテクニカ
1か月前
株式会社オーディオテクニカ
集音器
1か月前
株式会社オーディオテクニカ
集音器
1か月前
株式会社オーディオテクニカ
送信機
10か月前
株式会社オーディオテクニカ
ヘッドホン
7か月前
株式会社オーディオテクニカ
ヘッドホン
6か月前
株式会社オーディオテクニカ
ヘッドホン
11か月前
株式会社オーディオテクニカ
ヘッドホン
11か月前
株式会社オーディオテクニカ
ヘッドホン
7か月前
株式会社オーディオテクニカ
ヘッドホン
7か月前
株式会社オーディオテクニカ
ヘッドホン
3か月前
株式会社オーディオテクニカ
ヘッドホン
3か月前
株式会社オーディオテクニカ
マイクロホン
5か月前
株式会社オーディオテクニカ
スピーカー
10か月前
株式会社オーディオテクニカ
受信機
10か月前
株式会社オーディオテクニカ
マイクロホン
9か月前
株式会社オーディオテクニカ
マイクロホン
9か月前
株式会社オーディオテクニカ
送信機
3か月前
株式会社オーディオテクニカ
マイクロホン
10か月前
株式会社オーディオテクニカ
スピーカー
10か月前
株式会社オーディオテクニカ
マイクロホン
5か月前
株式会社オーディオテクニカ
スピーカー
10か月前
株式会社オーディオテクニカ
送信機
10か月前
株式会社オーディオテクニカ
スピーカー
5か月前
株式会社オーディオテクニカ
マイクロホン
4か月前
株式会社オーディオテクニカ
充電器
5か月前
株式会社オーディオテクニカ
充電器
7か月前
株式会社オーディオテクニカ
クリーナー
7か月前
株式会社オーディオテクニカ
ターンテーブル
1か月前
株式会社オーディオテクニカ
ターンテーブル
11か月前
株式会社オーディオテクニカ
ターンテーブル
11か月前
株式会社オーディオテクニカ
ターンテーブル
11か月前
株式会社オーディオテクニカ
ターンテーブル
11か月前
株式会社オーディオテクニカ
マイクロホンホルダ
4か月前
株式会社オーディオテクニカ
マイクロホンホルダ
4か月前
株式会社オーディオテクニカ
無線通信用受信機
10か月前
続きを見る
他の意匠を見る