TOP
|
特許
|
意匠
|
商標
意匠ウォッチ
Twitter
他の意匠を見る
発行日
2025-04-21
公報種別
意匠公報(S)
登録番号
1796686
登録日
2025-04-11
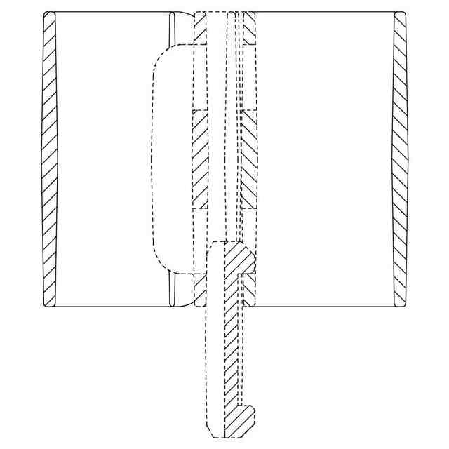
意匠に係る物品
配線ガイド用ダクトのジョイント付き保持具
意匠分類
M2
-39(配線・配管用管、管継ぎ手、バルブ等)
出願番号
2024020242
出願日
2024-09-30
意匠権者
株式会社内田洋行
代理人
個人
,
個人
意匠に係る物品の説明
この意匠に係る物品は、ケーブルやコードを内部に挿通して収納・保護する配線ガイド用ダクトに用いられるジョイント付き保持具である。使用状態を示す参考図1~3に示すように、本物品を複数連結して任意の長さの配線ガイド用ダクトを構成することができる。
意匠の説明
各斜視図に表れる途切れた線は、立体表面の形状を表すためのものである。意匠登録を受けようとする部分を実線で、それ以外の部分を破線で表した。赤色の一点鎖線は、意匠登録を受けようとする部分とそれ以外の部分との境界のみを表すものである。登録を受けようとする部分を示す参考図1,2において、薄墨を施した部分は、意匠登録を受けようとする部分である。
意匠ウォッチbot のツイートを見る
この意匠をJ-PlatPat(特許庁公式サイト)で参照する
関連意匠
株式会社内田洋行
椅子
6か月前
株式会社内田洋行
椅子
6か月前
株式会社内田洋行
椅子
3か月前
株式会社内田洋行
椅子
3か月前
株式会社内田洋行
椅子
3か月前
株式会社内田洋行
椅子
6か月前
株式会社内田洋行
テーブル
1か月前
株式会社内田洋行
テーブル
7か月前
株式会社内田洋行
防災用品収納ベンチ
11か月前
株式会社内田洋行
吸音部材
3か月前
株式会社内田洋行
ままごと用キッチン
3か月前
株式会社内田洋行
防災用品収納箱
11か月前
株式会社内田洋行
ブース
6か月前
株式会社内田洋行
電子機器のスクリーン用シェード
7か月前
株式会社内田洋行
電子機器のスクリーン用シェード
7か月前
株式会社内田洋行
電子機器のスクリーン用シェード
7か月前
株式会社内田洋行
電子機器のスクリーン用シェード
7か月前
株式会社内田洋行
ロッカー用小物入れ
5か月前
株式会社内田洋行
一組の家具セット
6か月前
株式会社内田洋行
ロッカー用小物トレイ
5か月前
株式会社内田洋行
ユニット家具のコーナー部材
3か月前
株式会社内田洋行
配線ガイド用保持具
5か月前
株式会社内田洋行
配線ガイド用ダクト
5か月前
株式会社内田洋行
配線ガイド用保持具
5か月前
株式会社内田洋行
配線ガイド用ダクトのジョイント付き保持具
5か月前
株式会社内田洋行
配線ガイド用ダクトのジョイント付き保持具
5か月前
大蔵工業株式会社
帯掛機
5か月前
大蔵工業株式会社
帯掛機
7か月前
大蔵工業株式会社
帯掛機
7か月前
大蔵工業株式会社
帯掛機
5か月前
株式会社KVK
水栓
1か月前
株式会社KVK
水栓
1か月前
株式会社タブチ
水栓
7か月前
株式会社タブチ
水栓
7か月前
株式会社LIXIL
水栓
10か月前
SANEI株式会社
水栓
6か月前
続きを見る
他の意匠を見る