TOP特許意匠商標
意匠ウォッチ Twitter
発行日2025-04-30
公報種別意匠公報(S)
登録番号1797444
登録日2025-04-21
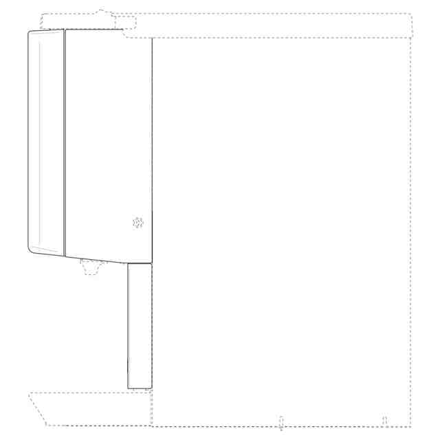
意匠に係る物品Machine and appliance for preparing and serving beverages
意匠分類C6-610(飲食用具及び調理用器具)
出願番号2024501993,29/915,397
出願日
意匠権者PepsiCo, Inc.
代理人
意匠に係る物品の説明
意匠の説明The characteristic features of the design lie in the shape of the portions shown in solid lines; the dashed broken lines in the figures show portions that form no part of the claimed design. 1.1)Perspective; 1.2)Perspective; 1.3)Front; 1.4)Back; 1.5)Left; 1.6)Right; 1.7)Top; 1.8)Bottom
この意匠をJ-PlatPat(特許庁公式サイト)で参照する

関連意匠

PepsiCo, Inc.
Bottle
11か月前
PepsiCo, Inc.
Bottle
11か月前
PepsiCo, Inc.
Bottle
11か月前
PepsiCo, Inc.
Bottle
11か月前
PepsiCo, Inc.
Bottle
8か月前
PepsiCo, Inc.
Bottle
11か月前
PepsiCo, Inc.
Bottle
11か月前
PepsiCo, Inc.
Bottle
2か月前
PepsiCo, Inc.
Bottle
11か月前
PepsiCo, Inc.
Bottle
2か月前
PepsiCo, Inc.
Bottle
3か月前
PepsiCo, Inc.
Bottle
3か月前
PepsiCo, Inc.
Bottle
2か月前
PepsiCo, Inc.
Bottle
5か月前
PepsiCo, Inc.
Bottle
5か月前
PepsiCo, Inc.
Drinking cup
10か月前
PepsiCo, Inc.
Drinking cup
9か月前
PepsiCo, Inc.
Drinking cup
4か月前
PepsiCo, Inc.
Drinking cup
10か月前
PepsiCo, Inc.
Drinking cup
10か月前
PepsiCo, Inc.
Drinking cup
10か月前
PepsiCo, Inc.
Drinking cup
10か月前
PepsiCo, Inc.
Portable cooler
5日前
PepsiCo, Inc.
Portable cooler
5か月前
PepsiCo, Inc.
Graphical user interface for screen display
3か月前
PepsiCo, Inc.
Graphical user interface for screen display
1か月前
PepsiCo, Inc.
Portable digital multimedia player
3か月前
PepsiCo, Inc.
Graphical user interface [GUI] for screen display
9か月前
PepsiCo, Inc.
Graphical user interface [GUI] for screen display
9か月前
PepsiCo, Inc.
Graphical user interface [GUI] for screen display
9か月前
PepsiCo, Inc.
Animated graphical user interface for screen display
1か月前
PepsiCo, Inc.
Animated graphical user interface for screen display
3か月前
PepsiCo, Inc.
Drink preparing machine or appliance [electric]
5か月前
PepsiCo, Inc.
Drink preparing machine or appliance [electric]
5か月前
PepsiCo, Inc.
Machine and appliance for preparing and serving beverages
5か月前
個人
8か月前
続きを見る