TOP
|
特許
|
意匠
|
商標
意匠ウォッチ
Twitter
他の意匠を見る
発行日
2025-05-08
公報種別
意匠公報(S)
登録番号
1797908
登録日
2025-04-25
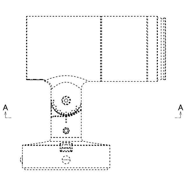
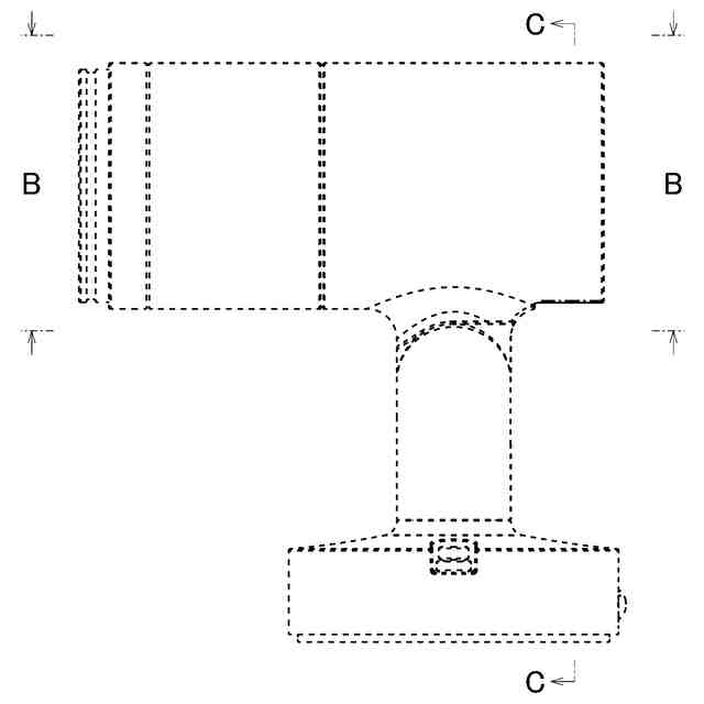
意匠に係る物品
スポットライト
意匠分類
D3
-302(発光具及び照明器具)
出願番号
2024018033
出願日
2024-08-30
意匠権者
コイズミ照明株式会社
代理人
弁理士法人 HARAKENZO WORLD PATENT & TRADEMARK
意匠に係る物品の説明
本物品は、発光ダイオード等を光源とするスポットライトである。部分意匠として意匠登録を受けようとする切り欠き部分は、灯体内の通気及び防水を行う通気防水部品を配置するためのものである。
意匠の説明
実線で表した部分が部分意匠として意匠登録を受けようとする部分である。一点鎖線は、部分意匠として意匠登録を受けようとする部分とその他の部分との境界のみを示す線である。断面図を含めて意匠登録を受けようとする部分を特定している。各断面図において、ハッチングを施した部分は物品の断面を表す。
この意匠をJ-PlatPat(特許庁公式サイト)で参照する
関連意匠
コイズミ照明株式会社
椅子
5か月前
コイズミ照明株式会社
椅子
7か月前
コイズミ照明株式会社
壁灯
11か月前
コイズミ照明株式会社
壁灯
11か月前
コイズミ照明株式会社
壁灯
7か月前
コイズミ照明株式会社
庭園灯
9か月前
コイズミ照明株式会社
庭園灯
9か月前
コイズミ照明株式会社
庭園灯
9か月前
コイズミ照明株式会社
スイッチ
3か月前
コイズミ照明株式会社
スイッチ
3か月前
コイズミ照明株式会社
スイッチ
3か月前
コイズミ照明株式会社
スポットライト
9か月前
コイズミ照明株式会社
天井直付け灯
11か月前
コイズミ照明株式会社
配線ダクト用プラグ
2か月前
コイズミ照明株式会社
ダウンライト
9か月前
コイズミ照明株式会社
スポットライト
5か月前
コイズミ照明株式会社
スポットライト
5か月前
コイズミ照明株式会社
スポットライト
5か月前
コイズミ照明株式会社
スポットライト
5か月前
コイズミ照明株式会社
スポットライト
5か月前
コイズミ照明株式会社
スポットライト
5か月前
コイズミ照明株式会社
ポール灯用灯具本体
9か月前
コイズミ照明株式会社
天井吊り下げ灯灯具本体
11か月前
コイズミ照明株式会社
天井吊り下げ灯灯具本体
11か月前
コイズミ照明株式会社
壁灯
11か月前
個人
行灯
5か月前
コイズミ照明株式会社
壁灯
11か月前
コイズミ照明株式会社
壁灯
7か月前
個人
火屋
11か月前
株式会社浅野商店
行灯
4か月前
深せん市貝禾科技発展有限公司
照明灯
2か月前
岩崎電気株式会社
街路灯
2か月前
コイズミ照明株式会社
庭園灯
9か月前
コイズミ照明株式会社
庭園灯
9か月前
フクビ化学工業株式会社
照明灯
1か月前
かがつう株式会社
防犯灯
6か月前
続きを見る
他の意匠を見る