TOP
|
特許
|
意匠
|
商標
意匠ウォッチ
Twitter
他の意匠を見る
発行日
2025-05-16
公報種別
意匠公報(S)
登録番号
1798662
登録日
2025-05-08
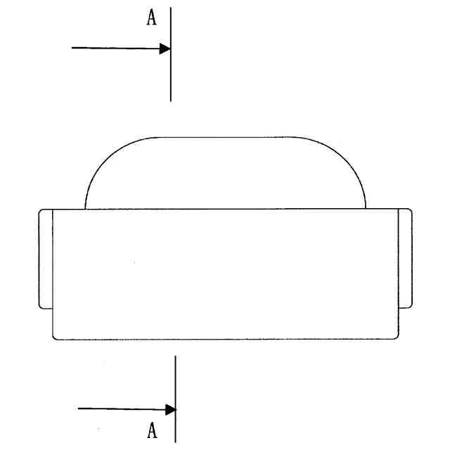
意匠に係る物品
電動アシスト自転車バッテリー充電端子保護カバー
意匠分類
H1
-222(基本的電気素子)
出願番号
2024012466
出願日
2024-06-03
意匠権者
株式会社タテコーポレーション
代理人
意匠に係る物品の説明
本願物品は、自転車及び電動アシスト自転車のバッテリー充電器 及び 車体に装備された充電端子を保護するカバーである。
意匠の説明
電動アシスト自転車 主要メーカーのバッテリー充電器 及び 車体側の充電端子に兼用して使用できるよう凹凸ある形状とした。 また端子を覆う空洞部を断面図で示す。
意匠ウォッチbot のツイートを見る
この意匠をJ-PlatPat(特許庁公式サイト)で参照する
関連意匠
株式会社タテコーポレーション
自転車用錠
10か月前
株式会社タテコーポレーション
自転車用カバー
7か月前
株式会社タテコーポレーション
自転車用ワイヤー錠
12か月前
株式会社タテコーポレーション
自転車用バスケット
11か月前
株式会社タテコーポレーション
自転車用バスケット
11か月前
株式会社タテコーポレーション
自転車用バスケットカバー
1日前
株式会社タテコーポレーション
自転車用バスケットカバー
1日前
株式会社タテコーポレーション
自転車用バスケットカバー
11か月前
株式会社タテコーポレーション
自転車用バスケットカバー
11か月前
株式会社タテコーポレーション
電動アシスト自転車バッテリー充電端子保護カバー
1日前
株式会社タテコーポレーション
電動アシスト自転車バッテリー充電端子保護カバー
5か月前
深せん市緑巨能科技発展有限公司
電池
4か月前
タイコ エレクトロニクス (シャンハイ) カンパニー リミテッド
端子
6か月前
リーダーソン ライティング カンパニー リミテッド
電球
8か月前
タイコ エレクトロニクス (シャンハイ) カンパニー リミテッド
端子
10か月前
タイコ エレクトロニクス (シャンハイ) カンパニー リミテッド
端子
6か月前
東莞市諾星電子有限公司
電池
6か月前
タイコ エレクトロニクス (シャンハイ) カンパニー リミテッド
端子
6か月前
タイコ エレクトロニクス (シャンハイ) カンパニー リミテッド
端子
6か月前
ベンアン エナジー テクノロジー ジャンスー シーオー.,エルティーディー
蓄電池
10か月前
安克創新科技股ふん有限公司
充電器
11か月前
深セン安培時代数字能源科技有限公司
蓄電池
5か月前
ムーブオン株式会社
充電器
6か月前
株式会社マキタ
蓄電池
19日前
新電元工業株式会社
コイル
6か月前
日本航空電子工業株式会社
端子台
5か月前
新電元工業株式会社
ボビン
6か月前
ベンアン エナジー テクノロジー ジャンスー シーオー.,エルティーディー
組電池
10か月前
新電元工業株式会社
コイル
6か月前
日東工業株式会社
端子台
2か月前
洪祿有限公司
ボビン
22日前
日東工業株式会社
端子台
2か月前
日東工業株式会社
端子台
2か月前
安克創新科技股ふん有限公司
充電器
11か月前
株式会社CIO
充電器
7か月前
株式会社マキタ
蓄電池
4か月前
続きを見る
他の意匠を見る