TOP
|
特許
|
意匠
|
商標
意匠ウォッチ
Twitter
他の意匠を見る
発行日
2025-05-23
公報種別
意匠公報(S)
登録番号
1799323
登録日
2025-05-15
意匠に係る物品
折り畳み椅子
意匠分類
D7
-24(家具)
出願番号
2024020391
出願日
2024-10-01
意匠権者
株式会社カインズ
代理人
弁理士法人みなとみらい特許事務所
意匠に係る物品の説明
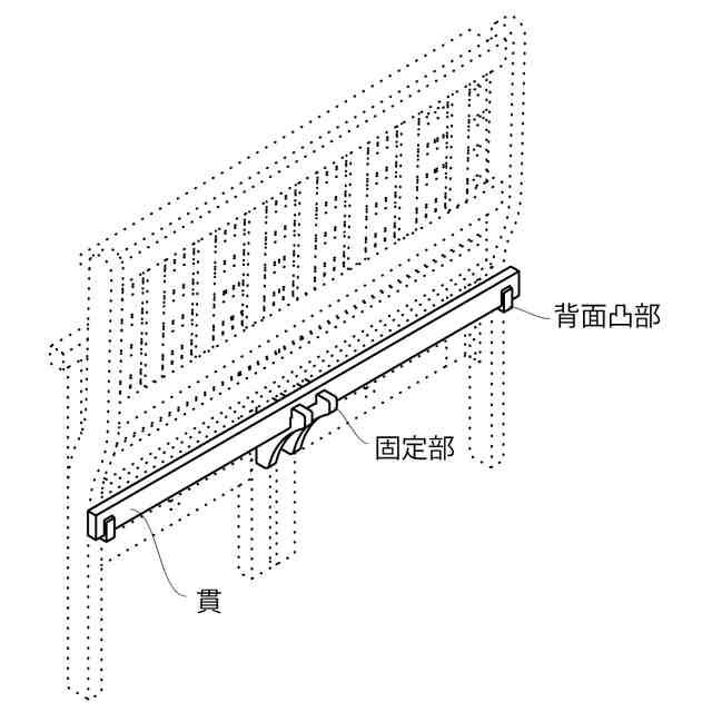
本物品は、折り畳み椅子である。使用時の状態で椅子の貫に該当する部位が取り外し可能になっている。折りたたんだ状態時には貫を取り外し、肘置きに設けられた固定部と背もたれの下部に設けられた背面凸部とを貫で固定することで、折りたたんだ状態を維持できるようになっている。
意匠の説明
実線で表した部分が、部分意匠として意匠登録を受けようとする部分である。左側面図は、右側面図と対称のため省略する。開いた状態の左側面図は、開いた状態の右側面図と対称のため省略する。斜視図は、背面側から見た時の斜視図である。開いた状態の各図は、正面図・背面図・右側面図・平面図・底面図・斜視図が示す折りたたんだ状態から、貫を外し、肘置きを広げ、貫を脚貫に固定した状態を示している。
意匠ウォッチbot のツイートを見る
この意匠をJ-PlatPat(特許庁公式サイト)で参照する
関連意匠
株式会社カインズ
机
2か月前
株式会社カインズ
机
2か月前
株式会社カインズ
椅子
1か月前
株式会社カインズ
椅子
1か月前
株式会社カインズ
机
2か月前
株式会社カインズ
机
2か月前
株式会社カインズ
ベンチ
5か月前
株式会社カインズ
台車
1か月前
株式会社カインズ
台車
1か月前
株式会社カインズ
台車
2か月前
株式会社カインズ
ベンチ
5か月前
株式会社カインズ
衝立用枠
5か月前
株式会社カインズ
スツール
9か月前
株式会社カインズ
スツール
7か月前
株式会社カインズ
衝立用枠
5か月前
株式会社カインズ
テーブル
5か月前
株式会社カインズ
サンダル
10か月前
株式会社カインズ
サンダル
6か月前
株式会社カインズ
一輪運搬車
2か月前
株式会社カインズ
テーブル
5か月前
株式会社カインズ
サンダル
6か月前
株式会社カインズ
サンダル
6か月前
株式会社カインズ
サンダル
6か月前
株式会社カインズ
折り畳み椅子
5か月前
株式会社カインズ
二輪運搬車
11か月前
株式会社カインズ
二輪運搬車
11か月前
株式会社カインズ
二輪運搬車
11か月前
株式会社カインズ
バッグ
10か月前
株式会社カインズ
バッグ
10か月前
株式会社カインズ
衝立用ランナー
5か月前
株式会社カインズ
バッグ
10か月前
株式会社カインズ
バッグ
10か月前
株式会社カインズ
バッグ
10か月前
株式会社カインズ
剪定鋏
8か月前
株式会社カインズ
ペンチ
4か月前
株式会社カインズ
ペンチ
4か月前
続きを見る
他の意匠を見る