TOP
|
特許
|
意匠
|
商標
意匠ウォッチ
Twitter
他の意匠を見る
発行日
2025-06-17
公報種別
意匠公報(S)
登録番号
1801202
登録日
2025-06-09
意匠に係る物品
圧力炊飯器
意匠分類
C5
-41211(飲食用容器又は調理用容器)
出願番号
2024009768
出願日
2024-05-15
意匠権者
気高電機株式会社
,
タイガー魔法瓶株式会社
代理人
弁理士法人 東和国際特許事務所
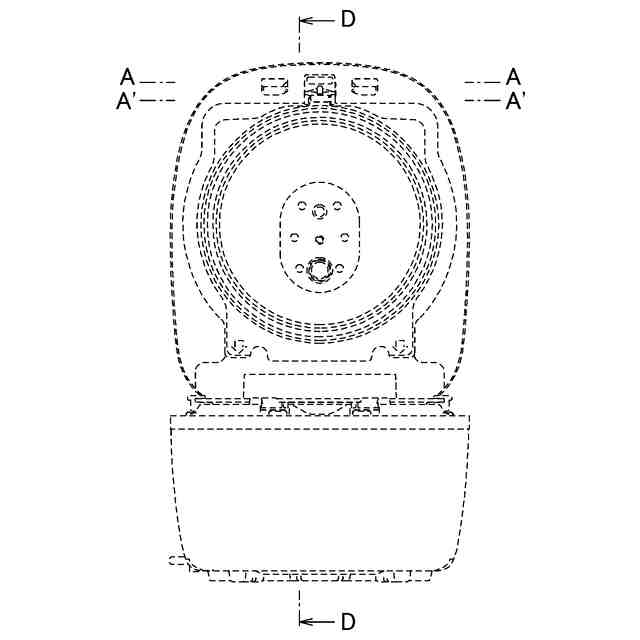
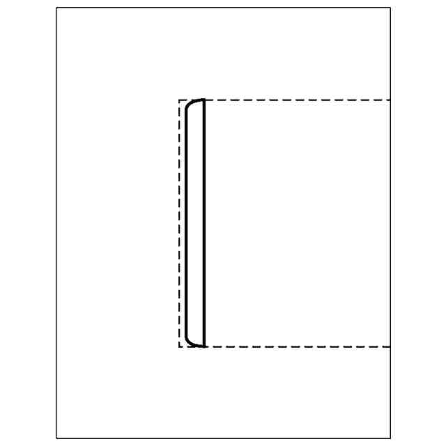
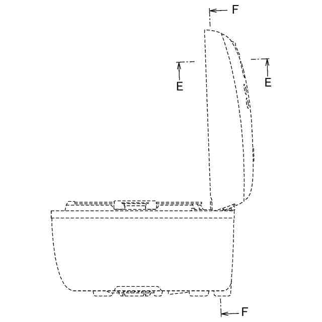
意匠に係る物品の説明
本願意匠に係る物品は、高圧で炊飯調理を行う炊飯器である。意匠登録を受けようとする部分は、蓋体にバネ付勢されて揺動自在に設けられている係止爪の先端部分であって、炊飯器の内部が高圧環境となっている状態で不用意に蓋が開くことを防止するために、閉蓋操作時に揺動する係止爪が本体の係止部に確実に係合するように誘導する機能を備えている。意匠登録を受けようとする部分は、各図に表れている通りの視覚を通じて美感を起こさせる形状により、当該機能を発揮するものである。
意匠の説明
実線で表された部分が、部分意匠として意匠登録を受けようとする部分である。背面図、左側面図、底面図には、意匠登録を受けようとする部分が表れないため、それぞれ省略する。
この意匠をJ-PlatPat(特許庁公式サイト)で参照する
関連意匠
気高電機株式会社
圧力炊飯器
4か月前
株式会社トレードワン
鍋
10か月前
カノー株式会社
椀
10か月前
株式会社丸山技研
鍋
5か月前
株式会社 ゼンショーホールディングス
鍋
5か月前
モザンビーク株式会社
蓋
1か月前
株式会社カインズ
皿
6か月前
個人
杯
7か月前
株式会社ジェイエイチキュー
鍋
2か月前
株式会社カインズ
皿
5か月前
株式会社カインズ
皿
5か月前
株式会社トレードワン
鍋
10か月前
山梨県
鍋
5か月前
株式会社ムロコーポレーション
鍋
10か月前
個人
膳
9か月前
株式会社キントー
鍋
10か月前
株式会社リバーズ
水筒
12か月前
株式会社キントー
水筒
5か月前
池田物産株式会社
急須
5か月前
有限会社瀬川興業
重箱
5か月前
パシフィック マーケット インターナショナル エルエルシー
容器
26日前
パシフィック マーケット インターナショナル エルエルシー
容器
26日前
池田物産株式会社
急須
5か月前
池田物産株式会社
急須
5か月前
池田物産株式会社
急須
5か月前
奔邁(上海)国際貿易有限公司
水筒
6か月前
株式会社マーナ
水筒
11か月前
パール金属株式会社
鍋蓋
11か月前
浙江同富特美刻股分有限公司
水筒
11か月前
浙江同富特美刻股分有限公司
水筒
11か月前
サントリーホールディングス株式会社
酒器
11か月前
探岩科技有限公司
水筒
2か月前
個人
食器
11か月前
株式会社すすむ商店
急須
8か月前
株式会社AZAYAKA JAPAN
土鍋
2か月前
スワンソン テクノロジーズ コーポレーション
水筒
5か月前
続きを見る
他の意匠を見る