TOP
|
特許
|
意匠
|
商標
意匠ウォッチ
Twitter
他の意匠を見る
発行日
2025-07-10
公報種別
意匠公報(S)
登録番号
1803392
登録日
2025-07-02
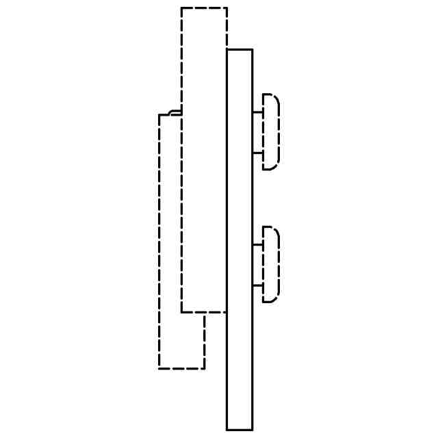
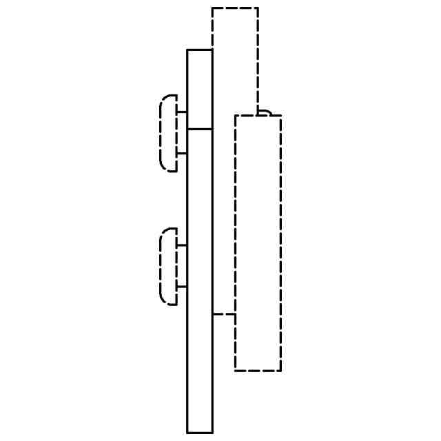
意匠に係る物品
床付き布枠の掴み金具
意匠分類
L1
-50(仮設工事用品)
出願番号
2025000173
出願日
2025-01-07
意匠権者
日鉄建材株式会社
代理人
個人
,
個人
意匠に係る物品の説明
本物品は、建設現場等で仮設足場に用いられ、足場板と補強枠が一体となった床付き布枠を構成する鋼製の部材である。本物品は、使用状態を示す参考図1に示すように、床付き布枠の四隅に取り付けられ、布枠本体の長手方向の端部から外側へ向け突出して建枠に掛け止めるための掴み金具である。本物品は、使用状態を示す参考図2に示すように、厚手の金属プレートからなる掴み金具本体に、建枠から掴み金具が外れて床付き布枠が落下することを防止する落下錠が揺動自在にリベット止めされている。また、本物品の落下錠は、床付き布枠の片側を持ち上げた後、解除した落下錠が再度、建枠の横地材に掛け止められないように、落下錠の揺動方向を案内する案内孔の分岐部分により、使用状態を示す参考図3に示す状態に、落下錠が揺動しないように一時的に掛け止められて預けられる預け機能が付与されている。
意匠の説明
実線で表された部分が、部分意匠として意匠登録を受けようとする部分である。意匠登録を受けようとする部分は、落下錠部分である。
この意匠をJ-PlatPat(特許庁公式サイト)で参照する
関連意匠
日鉄建材株式会社
5日前
日鉄建材株式会社
5日前
日鉄建材株式会社
5日前
日鉄建材株式会社
5日前
日鉄建材株式会社
土留め壁
6か月前
日鉄建材株式会社
土留め壁
6か月前
日鉄建材株式会社
土留め壁
2か月前
日鉄建材株式会社
土留め壁
7か月前
日鉄建材株式会社
立坑用補強部材
9か月前
日鉄建材株式会社
立坑用補強部材
9か月前
日鉄建材株式会社
構造物用接続具
24日前
日鉄建材株式会社
立坑用補強部材
9か月前
日鉄建材株式会社
立坑用補強部材
9か月前
日鉄建材株式会社
立坑用補強部材
9か月前
日鉄建材株式会社
立坑用補強部材
9か月前
日鉄建材株式会社
構造物用接続具
24日前
日鉄建材株式会社
立坑用補強部材
9か月前
日鉄建材株式会社
立坑用補強部材
5か月前
日鉄建材株式会社
立坑用補強部材
5か月前
日鉄建材株式会社
立坑用補強部材
9か月前
日鉄建材株式会社
掴み金具の落下錠
2か月前
日鉄建材株式会社
掴み金具の落下錠
2か月前
日鉄建材株式会社
床付き布枠の掴み金具
3か月前
日鉄建材株式会社
床付き布枠の掴み金具
3か月前
日鉄建材株式会社
床付き布枠の掴み金具
3か月前
日鉄建材株式会社
床付き布枠の掴み金具
3か月前
日鉄建材株式会社
床付き布枠の掴み金具
3か月前
日鉄建材株式会社
床付き布枠の掴み金具
3か月前
日鉄建材株式会社
土留部材連結用仮留め具
2か月前
日鉄建材株式会社
土留部材連結用仮留め具
2か月前
日鉄建材株式会社
土留部材連結用仮留め具
2か月前
日鉄建材株式会社
土留部材連結用仮留め具
2か月前
日鉄建材株式会社
土留部材連結用仮留め具
2か月前
日鉄建材株式会社
ペービングシート
5か月前
日鉄建材株式会社
ペービングシート
5か月前
個人
柵
8か月前
続きを見る
他の意匠を見る