TOP特許意匠商標
意匠ウォッチ Twitter
発行日2025-08-26
公報種別意匠公報(S)
登録番号1807119
登録日2025-08-18
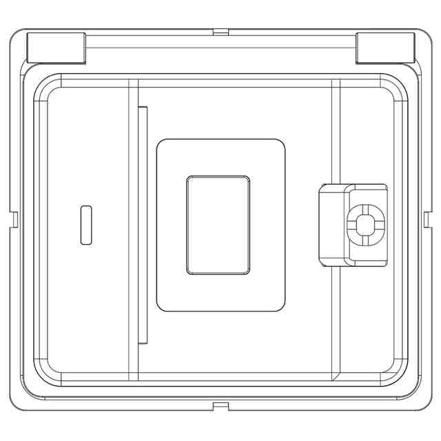
意匠に係る物品Sequencing instrument
意匠分類J1-51(計量器、測定機械器具及び測量機械器具)
出願番号2024503458,202430080164.4
出願日
意匠権者BGI SHENZHEN
代理人弁理士法人秀和特許事務所
意匠に係る物品の説明
意匠の説明Reproduction 3.9 is a reference view showing the open state; the part marked in gray in reproduction 3.9 is transparent. 3.1)Perspective; 3.2)Front; 3.3)Back; 3.4)Left; 3.5)Right; 3.6)Top; 3.7)Bottom; 3.8)Perspective; 3.9)Reference view
この意匠をJ-PlatPat(特許庁公式サイト)で参照する

関連意匠

BGI SHENZHEN
Sequencing instrument
1か月前
BGI SHENZHEN
Sequencing instrument
3か月前
BGI SHENZHEN
Sequencing instrument
3か月前
BGI SHENZHEN
Sequencing instrument
3か月前
BGI SHENZHEN
Sequencing instrument
5か月前
株式会社フォトジラフ
定規
6か月前
個人
巻尺
7か月前
新潟精機株式会社
巻尺
6か月前
ムラテックKDS株式会社
巻尺
6か月前
ムラテックKDS株式会社
巻尺
6か月前
広東百事泰医療器械股ふん有限公司
温度計
3か月前
株式会社小野測器
振動計
9か月前
株式会社小野測器
振動計
9か月前
深せん市森禾実業有限公司
体重計
8か月前
個人
載置台
2か月前
JUST MATCH株式会社
体温計
11か月前
サーパス工業株式会社
流量計
10か月前
サーパス工業株式会社
流量計
10か月前
サーパス工業株式会社
流量計
10か月前
株式会社エビス
水準器
10か月前
株式会社アトラス
電子秤
5か月前
株式会社アトラス
電子秤
5か月前
株式会社エムジー
記録計
11か月前
愛知時計電機株式会社
流量計
5か月前
JUST MATCH株式会社
体温計
5か月前
青島海爾特種電氷櫃有限公司
カップ
11か月前
JUST MATCH株式会社
体温計
5か月前
三和株式会社
温度計
5か月前
東フロコーポレーション株式会社
流量計
11か月前
東フロコーポレーション株式会社
流量計
11か月前
株式会社トプコン
測量機
5か月前
株式会社吉田機工岡山
量水標
13日前
FrontAct株式会社
活動量計
1か月前
上海タイ酷科技有限公司
検出ペン
6か月前
株式会社フジタ
打診装置
8か月前
横河電機株式会社
光測定器
10か月前
続きを見る