TOP
|
特許
|
意匠
|
商標
意匠ウォッチ
Twitter
他の意匠を見る
発行日
2025-09-01
公報種別
意匠公報(S)
登録番号
1807484
登録日
2025-08-22
意匠に係る物品
冷凍ショーケース
意匠分類
F5
-2313(広告用具、表示具及び商品陳列用具)
出願番号
2024023544
出願日
2024-11-13
意匠権者
ホシザキ株式会社
代理人
意匠に係る物品の説明
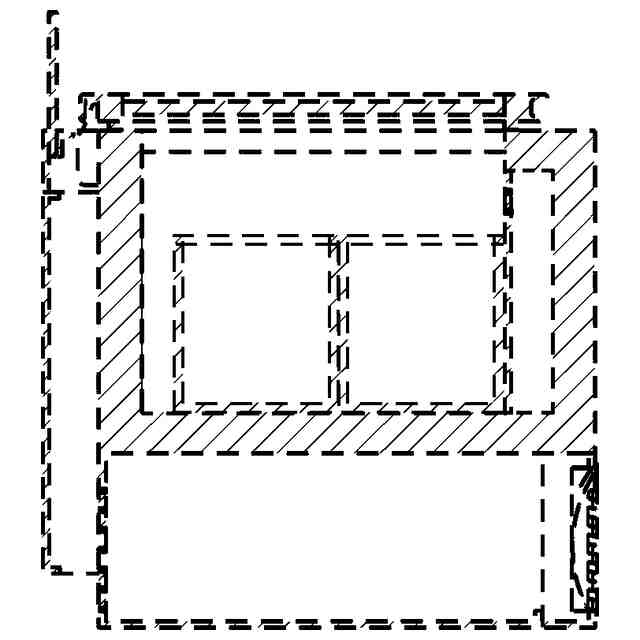
本物品は、アイスクリーム等の冷凍食材を保冷および陳列することが可能な冷凍ショーケースである。A-A断面図における手掛け部分の参考拡大図から明らかなように、手掛け部の中央部分は凹形状、上下部分は凸形状になっている。そのため、使用者は扉を開く際は上側の凸形状の突起に手を掛けて扉を開くことが、また扉を閉める際は下側の凸形状の突起に手を掛けて扉を閉めることが可能である。
意匠の説明
実線で表された部分が、部分意匠として意匠登録を受けようとする部分である。正面側から見た縮小参考斜視図および背面側から見た縮小参考斜視図において薄墨を施した部分は透明である。
この意匠をJ-PlatPat(特許庁公式サイト)で参照する
関連意匠
ホシザキ株式会社
真空包装機操作用画像
7か月前
ホシザキ株式会社
真空包装機操作用画像
7か月前
ホシザキ株式会社
真空包装機操作用画像
7か月前
ホシザキ株式会社
調理用再加熱機操作用画像
7か月前
ホシザキ株式会社
調理用再加熱機操作用画像
7か月前
ホシザキ株式会社
製氷機
4か月前
ホシザキ株式会社
製氷機
4か月前
ホシザキ株式会社
製氷機
4か月前
ホシザキ株式会社
製氷機
4か月前
ホシザキ株式会社
製氷機
16日前
ホシザキ株式会社
製氷機
4か月前
ホシザキ株式会社
製氷機
4か月前
ホシザキ株式会社
製氷機
4か月前
ホシザキ株式会社
製氷機
4か月前
ホシザキ株式会社
製氷機
4か月前
ホシザキ株式会社
製氷機
4か月前
ホシザキ株式会社
製氷機
4か月前
ホシザキ株式会社
製氷機
4か月前
ホシザキ株式会社
製氷機
4か月前
ホシザキ株式会社
製氷機
4か月前
ホシザキ株式会社
製氷機
4か月前
ホシザキ株式会社
製氷機
4か月前
ホシザキ株式会社
製氷機
9か月前
ホシザキ株式会社
製氷機
9か月前
ホシザキ株式会社
製氷機
4か月前
ホシザキ株式会社
真空マイクロ波解凍機操作用画像
7か月前
ホシザキ株式会社
冷蔵庫
7か月前
ホシザキ株式会社
冷蔵庫
7か月前
ホシザキ株式会社
冷蔵庫
9か月前
ホシザキ株式会社
真空マイクロ波解凍機操作用画像
7か月前
ホシザキ株式会社
冷蔵庫
9か月前
ホシザキ株式会社
冷蔵庫
9か月前
ホシザキ株式会社
冷蔵庫
9か月前
ホシザキ株式会社
冷蔵庫
7か月前
ホシザキ株式会社
冷蔵庫
4か月前
ホシザキ株式会社
冷蔵庫
7か月前
続きを見る
他の意匠を見る