TOP特許意匠商標
意匠ウォッチ Twitter
発行日2025-09-02
公報種別意匠公報(S)
登録番号1807619
登録日2025-08-25
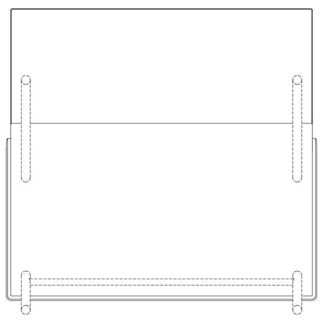
意匠に係る物品Television receiver
意匠分類H7-6242(電子情報入出力機器)
出願番号2023501693,30-2022-0054809
出願日
意匠権者LG Display Co., Ltd.
代理人
意匠に係る物品の説明
意匠の説明The present design is a television receiver that may transform into a desk; the broken lines indicate portions of the article that form no part of the claimed design; figs. 1.1 to 1.7 show a state where a display is used as a desk by storing the display inside; figs. 1.8 to 1.14 show a state where the display is sliding to be taken out; figs. 1.15 to 1.21 show a state where the display is used as a television receiver by taking the display out. 1.1)Perspective; 1.2)Front; 1.3)Back; 1.4)Left; 1.5)Right; 1.6)Top; 1.7)Bottom; 1.8)Perspective; 1.9)Front; 1.10)Back; 1.11)Left; 1.12)Right; 1.13)Top; 1.14)Bottom; 1.15)Perspective; 1.16)Front; 1.17)Back; 1.18)Left; 1.19)Right; 1.20)Top; 1.21)Bottom
この意匠をJ-PlatPat(特許庁公式サイト)で参照する

関連意匠

LG Display Co., Ltd.
Display panel for computer monitor
2か月前
LG Display Co., Ltd.
Display screen with speaker
3か月前
LG Display Co., Ltd.
Display screen with speaker
3か月前
LG Display Co., Ltd.
Bendable display screen for data processing and transmission
1か月前
LG Display Co., Ltd.
Portable display device for data processing devices
7か月前
LG Display Co., Ltd.
Portable display device for data processing devices
7か月前
LG Display Co., Ltd.
Bendable display screen for data processing and transmission
1か月前
LG Display Co., Ltd.
Desk with rollable display device
11か月前
LG Display Co., Ltd.
Stand for data-processing display screen with covering function
3か月前
LG Display Co., Ltd.
Stand for data-processing display screen with covering function
2か月前
LG Display Co., Ltd.
Partition desk with a transparent display
11か月前
LG Display Co., Ltd.
Stand for portable data-processing display device
7か月前
LG Display Co., Ltd.
Stand for portable data-processing display device
7か月前
LG Display Co., Ltd.
Bracket for portable data-processing display device
7か月前
LG Display Co., Ltd.
Console for control coupled with transparent display
11か月前
LG Display Co., Ltd.
Touch screen
4か月前
LG Display Co., Ltd.
Computer screen
6か月前
LG Display Co.,Ltd.
Computer monitor
5か月前
LG Display Co., Ltd.
Television receiver
1か月前
LG Display Co., Ltd.
Television receiver
1か月前
LG Display Co., Ltd.
Television receiver
1か月前
LG Display Co., Ltd.
Television receiver
1か月前
LG Display Co., Ltd.
Television receiver
1か月前
LG Display Co., Ltd.
Television receiver
3か月前
LG Display Co., Ltd.
Television receiver
1か月前
LG Display Co., Ltd.
Television receiver
1か月前
LG Display Co., Ltd.
Television receiver
1か月前
LG Display Co., Ltd.
Television receiver
1か月前
LG Display Co., Ltd.
Television receiver
3か月前
LG Display Co., Ltd.
Television receiver
1か月前
LG Display Co., Ltd.
Television receiver
1か月前
LG Display Co., Ltd.
Television receiver
1か月前
LG Display Co., Ltd.
Movable touch screen
4か月前
LG Display Co., Ltd.
Movable touch screen
4か月前
LG Display Co., Ltd.
Computer monitor with hub stand
2か月前
LG Display Co., Ltd.
Computer monitor with hub stand
2か月前
続きを見る