TOP
|
特許
|
意匠
|
商標
意匠ウォッチ
Twitter
他の意匠を見る
発行日
2025-09-08
公報種別
意匠公報(S)
登録番号
1808046
登録日
2025-08-29
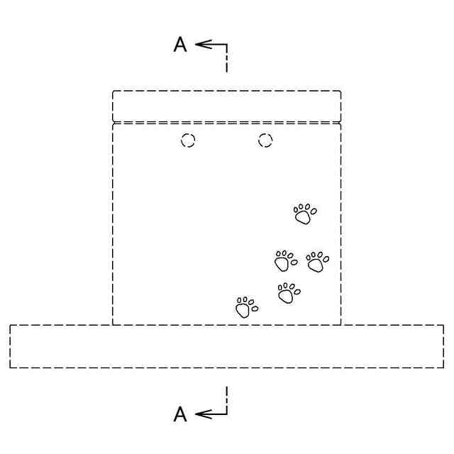
意匠に係る物品
立水栓
意匠分類
D5
-270(厨房設備用品及び衛生設備用品)
出願番号
2024018596
出願日
2024-09-09
意匠権者
日本興業株式会社
代理人
弁理士法人山内特許事務所
意匠に係る物品の説明
本願意匠に係る物品(以下、本物品という。)は立水栓である。使用状態参考図に示すように本物品は水道蛇口などを取り付けて使用される。
意匠の説明
実線で表した部分が、意匠登録を受けようとする部分である。
意匠ウォッチbot のツイートを見る
この意匠をJ-PlatPat(特許庁公式サイト)で参照する
関連意匠
日本興業株式会社
立水栓
29日前
日本興業株式会社
立水栓
29日前
日本興業株式会社
立水栓
29日前
日本興業株式会社
立水栓
29日前
日本興業株式会社
立水栓
5か月前
TOTO株式会社
浴槽
8か月前
クリナップ株式会社
浴槽
7か月前
株式会社S.P.M
浴槽
5か月前
株式会社S.P.M
浴槽
8か月前
株式会社S.P.M
浴槽
2か月前
株式会社S.P.M
浴槽
2か月前
クリナップ株式会社
浴槽
2か月前
クリナップ株式会社
浴槽
2か月前
クリナップ株式会社
浴槽
2か月前
オージー技研株式会社
浴槽
8か月前
株式会社LIXIL
浴槽
4か月前
株式会社S.P.M
浴槽
11か月前
積水ホームテクノ株式会社
浴槽
1か月前
クリナップ株式会社
浴槽
7か月前
クリナップ株式会社
浴槽
7か月前
クリナップ株式会社
浴槽
7か月前
クリナップ株式会社
浴槽
7か月前
クリナップ株式会社
浴槽
7か月前
吉本産業株式会社
洗面台
6か月前
日本興業株式会社
立水栓
5か月前
日本興業株式会社
立水栓
29日前
日本興業株式会社
立水栓
29日前
日本興業株式会社
立水栓
29日前
アイカ工業株式会社
洗面台
2か月前
日創グループ株式会社
洗面台
1か月前
クリナップ株式会社
シンク
9か月前
日本興業株式会社
立水栓
29日前
吉本産業株式会社
洗面台
6か月前
吉本産業株式会社
洗面台
6か月前
株式会社LIXIL
手洗い台
8か月前
株式会社LIXIL
手洗い台
8か月前
続きを見る
他の意匠を見る