TOP
|
特許
|
意匠
|
商標
意匠ウォッチ
Twitter
他の意匠を見る
発行日
2025-09-16
公報種別
意匠公報(S)
登録番号
1808453
登録日
2025-09-05
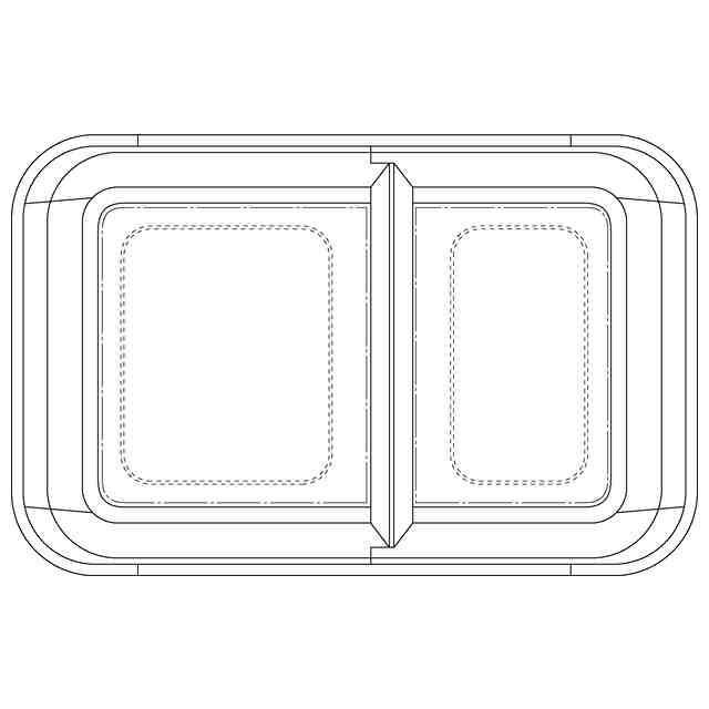
意匠に係る物品
包装用容器
意匠分類
F4
-7141(包装紙、包装用容器等)
出願番号
2025002988
出願日
2025-02-18
意匠権者
王子ホールディングス株式会社
,
Oji Holdings Corporation
代理人
弁理士法人谷・阿部特許事務所
意匠に係る物品の説明
本物品は、食品等を収容する紙製の包装用容器であり、容器の表面は、合成樹脂でコーティングされている。
意匠の説明
実線で表した部分が、意匠登録を受けようとする部分である。一点鎖線は、意匠登録を受けようとする部分とその他の部分との境界のみを示す線である。背面図は、正面図と対称に表れるため省略する。左側面図は、右側面図と同一のため省略する。
この意匠をJ-PlatPat(特許庁公式サイト)で参照する
関連意匠
王子ホールディングス株式会社
2か月前
王子ホールディングス株式会社
2か月前
王子ホールディングス株式会社
包装用箱
10か月前
王子ホールディングス株式会社
包装用箱
6か月前
王子ホールディングス株式会社
包装用箱
5か月前
王子ホールディングス株式会社
包装用箱
4か月前
王子ホールディングス株式会社
包装用箱
4か月前
王子ホールディングス株式会社
包装用容器
1か月前
王子ホールディングス株式会社
包装用容器
1か月前
王子ホールディングス株式会社
包装用容器
3か月前
王子ホールディングス株式会社
包装用容器
3か月前
王子ホールディングス株式会社
包装用容器
3か月前
王子ホールディングス株式会社
包装用容器
2か月前
王子ホールディングス株式会社
包装用容器
2か月前
王子ホールディングス株式会社
包装用容器
1か月前
王子ホールディングス株式会社
包装用容器
3か月前
王子ホールディングス株式会社
包装用箱のブランクシート
4か月前
王子ホールディングス株式会社
商品展示用什器
9か月前
王子ホールディングス株式会社
商品展示用什器
9か月前
王子ホールディングス株式会社
商品展示用什器
9か月前
インターコンチネンタル グレート ブランズ エルエルシー
容器
11か月前
インターコンチネンタル グレート ブランズ エルエルシー
容器
11か月前
エス.コールマン エンタープライズ インコーポレーテッド(エスシーイーアイ)
容器
5か月前
インターコンチネンタル グレート ブランズ エルエルシー
容器
11か月前
インターコンチネンタル グレート ブランズ エルエルシー
容器
11か月前
温州かん隆実業有限公司
紙袋
11か月前
インターコンチネンタル グレート ブランズ エルエルシー
容器
11か月前
インターコンチネンタル グレート ブランズ エルエルシー
容器
11か月前
株式会社ニシキ
容器
3か月前
ストール マシーナリ カンパニー,エルエルシー
缶蓋
19日前
ゼロックス コーポレイション
容器
1か月前
フジモリ産業株式会社
容器
5か月前
東洋アルミエコープロダクツ株式会社
包装体
10か月前
株式会社寺岡精工
ラベル
3か月前
バイエルスドルフ・アクチエンゲゼルシヤフト
ラベル
4か月前
ザ コカ・コーラ カンパニー
ボトル
10か月前
続きを見る
他の意匠を見る