TOP
|
特許
|
意匠
|
商標
意匠ウォッチ
Twitter
他の意匠を見る
発行日
2025-09-16
公報種別
意匠公報(S)
登録番号
1808486
登録日
2025-09-05
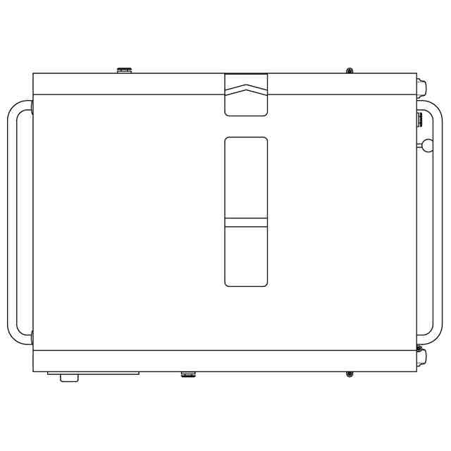
意匠に係る物品
発電機
意匠分類
H2
-111(回転電気機械、配電機械器具)
出願番号
2025002655
出願日
2025-02-12
意匠権者
デンヨー株式会社
代理人
個人
,
個人
,
個人
,
個人
意匠に係る物品の説明
意匠の説明
実線であらわした部分が、意匠登録を受けようとする部分である。重量物であるため底面図を省略する。
この意匠をJ-PlatPat(特許庁公式サイト)で参照する
関連意匠
デンヨー株式会社
発電機
25日前
デンヨー株式会社
溶接機
7か月前
デンヨー株式会社
発電機
9か月前
デンヨー株式会社
電源供給器
9か月前
デンヨー株式会社
燃料電池発電機
9か月前
デンヨー株式会社
発電機
9か月前
深セン市緑聯科技股フン有限公司
充電器
1か月前
テンパール工業株式会社
分電盤
11か月前
テンパール工業株式会社
分電盤
11か月前
デンヨー株式会社
発電機
25日前
GROOVE X株式会社
充電器
6か月前
CPSpeed株式会社
充電器
11か月前
株式会社オーディオテクニカ
充電器
7か月前
株式会社工進
発電機
3か月前
パナソニック株式会社
蓄電池
9か月前
威陞科技有限公司
充電器
6か月前
トヨタ自動車株式会社
充電器
1か月前
安克創新科技股ふん有限公司
充電器
4か月前
京セラ株式会社
充電台
3か月前
深セン市緑聯科技股フン有限公司
充電器
1か月前
広東麦多多実業有限公司
充電器
4か月前
株式会社マキタ
充電器
1か月前
株式会社CIO
充電器
6か月前
ホシデン株式会社
充電器
1か月前
パナソニックIPマネジメント株式会社
分電盤
4か月前
パナソニックIPマネジメント株式会社
分電盤
4か月前
株式会社JR西日本新幹線テクノス
発電機
4か月前
深せん市藍禾技術有限公司
充電器
8か月前
パナソニックIPマネジメント株式会社
蓄電池
6か月前
株式会社CIO
充電器
6か月前
プライム・スター株式会社
蓄電池
7か月前
深セン市緑聯科技股フン有限公司
充電器
6か月前
深せん市易検車服科技有限公司
放電器
8か月前
深せん英派森科技有限公司
充電器
1か月前
株式会社マキタ
充電器
1か月前
テンパール工業株式会社
分電盤
11か月前
続きを見る
他の意匠を見る