TOP
|
特許
|
意匠
|
商標
意匠ウォッチ
Twitter
他の意匠を見る
発行日
2025-09-19
公報種別
意匠公報(S)
登録番号
1808786
登録日
2025-09-10
意匠に係る物品
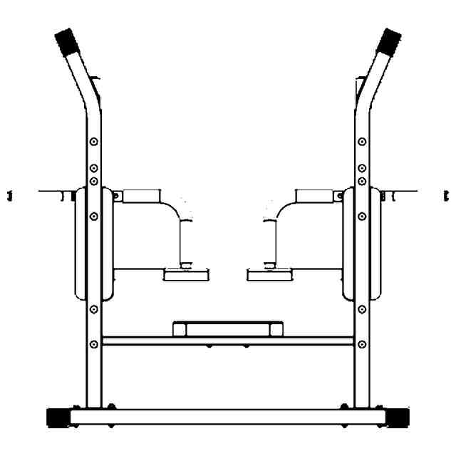
身体鍛錬器具
意匠分類
E3
-0100(運動競技用品)
出願番号
2023022648
出願日
2023-10-31
意匠権者
株式会社オールマーケットジャパン
代理人
意匠に係る物品の説明
本物品は、ディップスや腕立て伏せ、懸垂やニーレイズなどができる身体鍛錬器具である。上部支柱の先端に設けられた懸垂部には、左右夫々に懸垂バーが備えられると共に、平面視にて上部支柱と各懸垂バーとで左右に夫々四角形状を成すように配設されており、使用者の鍛えたい筋肉によって様々な持ち方に変えて、懸垂やぶら下がりといったトレーニングを行うことができる。さらに懸垂部は左右方向に位置調整可能となっており、これによって使用者は自分の体格にあった手幅でトレーニングを行うことが可能となっている。
意匠の説明
意匠ウォッチbot のツイートを見る
この意匠をJ-PlatPat(特許庁公式サイト)で参照する
関連意匠
株式会社オールマーケットジャパン
ベッドフレーム
10か月前
株式会社オールマーケットジャパン
身体鍛錬器具
3か月前
株式会社オールマーケットジャパン
身体鍛錬器具
10か月前
株式会社オールマーケットジャパン
身体鍛錬器具
29日前
株式会社オールマーケットジャパン
身体鍛錬器具
8か月前
株式会社オールマーケットジャパン
身体鍛錬器具
8か月前
株式会社オールマーケットジャパン
身体鍛錬器具
10か月前
株式会社オールマーケットジャパン
収納ラック
8か月前
株式会社オールマーケットジャパン
トレーニング用バイク
4か月前
株式会社オールマーケットジャパン
踏み台
4か月前
個人
足ひれ
2か月前
株式会社キザキ
ポール
6か月前
個人
手裏剣
3か月前
個人
足ひれ
2か月前
個人
運動器具
2か月前
武義博達工貿有限公司
バーベル
7か月前
株式会社カインズ
ダンベル
6か月前
武義博達工貿有限公司
バーベル
7か月前
ニューテックウェルネス カンパニー,リミテッド
ダンベル
6か月前
個人
応援道具
6か月前
株式会社大文字
応援用具
6か月前
パッショネート カンパニー リミテッド
運動器具
3か月前
個人
ハードル
7か月前
株式会社吉増製作所
運動器具
11か月前
株式会社ヴァルテックス
健康器具
2か月前
株式会社リモハブ
身体鍛錬機
7か月前
株式会社YOCABITO
投球練習具
6か月前
レ グエンカイン チン
運動用器具
4か月前
株式会社リモハブ
身体鍛錬機
7か月前
株式会社フィールドフォース
投球練習機
5か月前
武義博達工貿有限公司
ケトルベル
7か月前
グラビティ アップギア エルエルシー
加重ベスト
2か月前
株式会社スポーツオアシス
身体鍛錬具
7か月前
アクシュネット カンパニー
旅行バッグ
1か月前
大進プレス工業有限会社
雪上用そり
1か月前
大進プレス工業有限会社
雪上用そり
1か月前
続きを見る
他の意匠を見る