TOP
|
特許
|
意匠
|
商標
意匠ウォッチ
Twitter
他の意匠を見る
発行日
2025-09-25
公報種別
意匠公報(S)
登録番号
1809131
登録日
2025-09-16
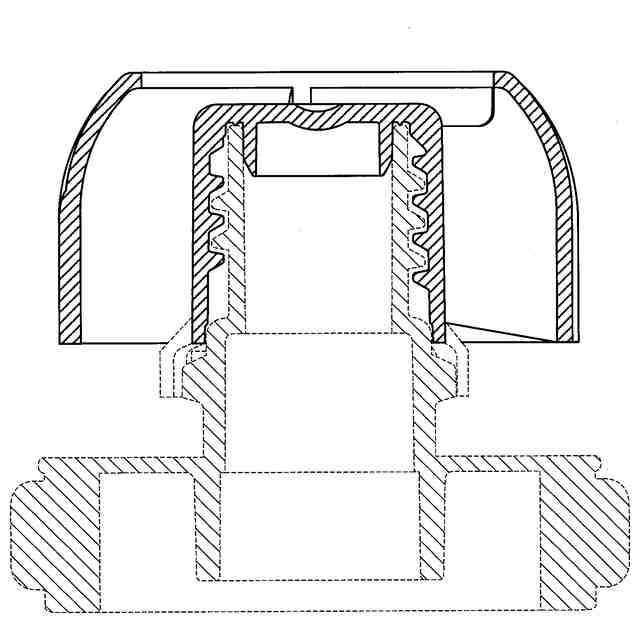
意匠に係る物品
包装用袋の注出口
意匠分類
F4
-91220(包装紙、包装用容器等)
出願番号
2025002893
出願日
2025-02-17
意匠権者
三笠産業株式会社
代理人
弁理士法人森本国際特許事務所
意匠に係る物品の説明
意匠の説明
実線で表した部分が、部分意匠として意匠登録を受けようとする部分である。背面図は正面図と、左側面図は右側面図と、同一に表れるため省略する。上方斜視図及び下方斜視図において、六面図以外に表わされた細線は、いずれも立体表面の形状を特定するためのものである。
この意匠をJ-PlatPat(特許庁公式サイト)で参照する
関連意匠
三笠産業株式会社
7か月前
三笠産業株式会社
包装用容器
11か月前
三笠産業株式会社
包装用容器
1か月前
三笠産業株式会社
包装用容器
2か月前
三笠産業株式会社
包装用容器
11か月前
三笠産業株式会社
包装用容器
11か月前
三笠産業株式会社
包装用容器
10か月前
三笠産業株式会社
包装用容器
10か月前
三笠産業株式会社
包装用容器の蓋
10か月前
三笠産業株式会社
包装用容器の蓋
9か月前
三笠産業株式会社
包装用容器の蓋
9か月前
三笠産業株式会社
包装用容器の蓋
7か月前
三笠産業株式会社
包装用容器の蓋
9か月前
三笠産業株式会社
包装用容器の蓋
7か月前
三笠産業株式会社
包装用容器の蓋
7か月前
三笠産業株式会社
包装用容器の蓋
3か月前
三笠産業株式会社
包装用袋の注出口
9か月前
三笠産業株式会社
包装用袋の注出口
9か月前
三笠産業株式会社
包装用袋の注出口
10か月前
三笠産業株式会社
包装用袋の注出口
10か月前
三笠産業株式会社
包装用袋の注出口
10か月前
三笠産業株式会社
包装用袋の注出口
9か月前
三笠産業株式会社
包装用袋の注出口
18日前
大日本印刷株式会社
包装用容器の蓋
9か月前
インターコンチネンタル グレート ブランズ エルエルシー
容器
10か月前
ゼロックス コーポレイション
容器
1か月前
エス.コールマン エンタープライズ インコーポレーテッド(エスシーイーアイ)
容器
5か月前
インターコンチネンタル グレート ブランズ エルエルシー
容器
10か月前
インターコンチネンタル グレート ブランズ エルエルシー
容器
10か月前
インターコンチネンタル グレート ブランズ エルエルシー
容器
10か月前
株式会社ニシキ
容器
3か月前
インターコンチネンタル グレート ブランズ エルエルシー
容器
10か月前
インターコンチネンタル グレート ブランズ エルエルシー
容器
10か月前
ストール マシーナリ カンパニー,エルエルシー
缶蓋
13日前
フジモリ産業株式会社
容器
4か月前
温州かん隆実業有限公司
紙袋
11か月前
続きを見る
他の意匠を見る