TOP
|
特許
|
意匠
|
商標
意匠ウォッチ
Twitter
他の意匠を見る
発行日
2025-09-29
公報種別
意匠公報(S)
登録番号
1809360
登録日
2025-09-18
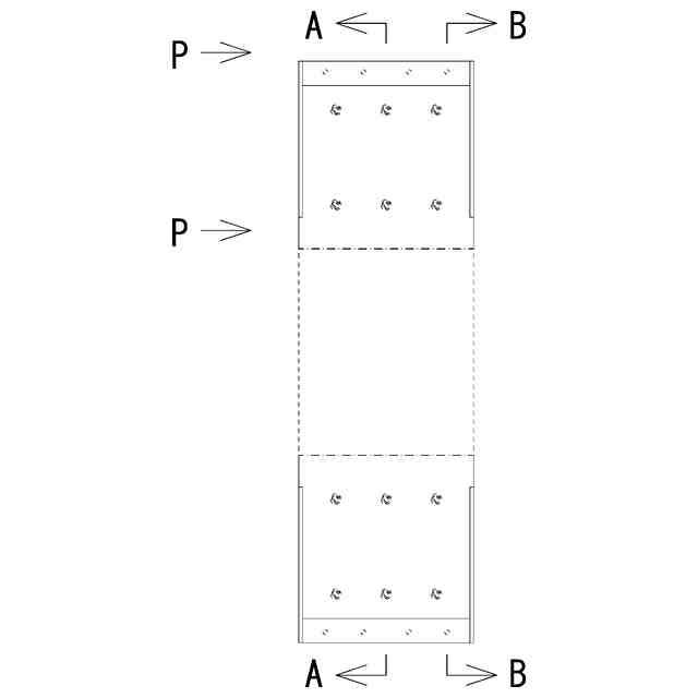
意匠に係る物品
柱
意匠分類
L7
-11(建物用構造材、枠材等)
出願番号
2025002265
出願日
2025-02-05
意匠権者
株式会社大林組
代理人
個人
,
個人
,
個人
意匠に係る物品の説明
本物品は、鉄骨フレームの一部に取り付けて間柱を構成する柱である。
意匠の説明
実線で表された部分が、意匠登録を受けようとする部分である。一点鎖線は、意匠登録を受けようとする部分とその他の部分との境界のみを示す線である。背面図は正面図と、左側面図は右側面図と、底面図は平面図と同一に表れるため省略する。
この意匠をJ-PlatPat(特許庁公式サイト)で参照する
関連意匠
株式会社大林組
ベンチ
4か月前
株式会社大林組
ベンチ
4か月前
株式会社大林組
ベンチ
6か月前
株式会社大林組
テーブル
5か月前
株式会社大林組
自動走行装置
10か月前
株式会社大林組
テーブル
5か月前
株式会社大林組
自動走行装置本体
10か月前
株式会社大林組
自動走行装置本体
10か月前
株式会社大林組
連結具
1か月前
株式会社大林組
吊元装置
23日前
株式会社大林組
吊元装置
23日前
株式会社大林組
家具用ユニット材
5か月前
株式会社大林組
柱
18日前
株式会社大林組
柱
18日前
株式会社大林組
柱
3か月前
株式会社大林組
温度調整機能付ベンチ
4か月前
株式会社大林組
仮囲いパネル
5か月前
株式会社大林組
仮囲いパネル
8か月前
株式会社大林組
仮囲いパネル
5か月前
株式会社大林組
温度調整機能付ベンチ
4か月前
株式会社大林組
梁材
11か月前
株式会社大林組
柱材
18日前
株式会社大林組
温度調整機能付ベンチ
4か月前
株式会社大林組
墜落防止器具
11か月前
株式会社大林組
鋼管の篏合位置監視用画像
6か月前
株式会社大林組
建築用格子
4か月前
株式会社大林組
照明具
8か月前
株式会社大林組
建築物用構造体
5か月前
株式会社大林組
建築用ルーバー
10か月前
株式会社大林組
建築用ルーバー材
6か月前
株式会社大林組
植栽帯
2か月前
株式会社大林組
藻場礁
7か月前
株式会社大林組
藻場礁
7か月前
株式会社大林組
銘板
5か月前
株式会社大林組
照明用パネル
11か月前
株式会社大林組
柵
1か月前
続きを見る
他の意匠を見る