TOP
|
特許
|
意匠
|
商標
意匠ウォッチ
Twitter
他の意匠を見る
発行日
2025-09-30
公報種別
意匠公報(S)
登録番号
1809457
登録日
2025-09-19
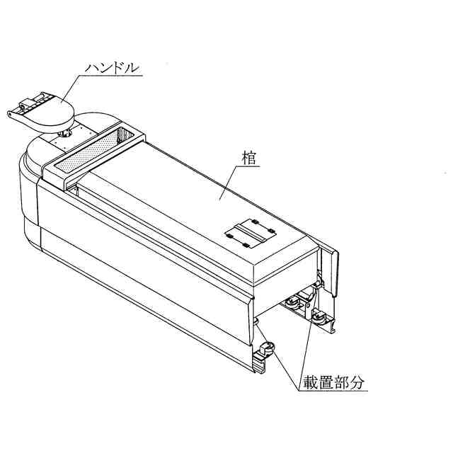
意匠に係る物品
棺用台車
意匠分類
C7
-119(慶弔用品)
出願番号
2025004698
出願日
2025-03-10
意匠権者
中西金属工業株式会社
代理人
弁理士法人柳野国際特許事務所
意匠に係る物品の説明
意匠の説明
「使用状態を示す参考図」においてドットを付した窓部分は透明である。また、重量物のため底面図は省略する。
この意匠をJ-PlatPat(特許庁公式サイト)で参照する
関連意匠
中西金属工業株式会社
棺用台車
18日前
中西金属工業株式会社
棺用台車
18日前
中西金属工業株式会社
棺用台車
18日前
中西金属工業株式会社
棺用台車
18日前
中西金属工業株式会社
無人フォークリフト
8日前
中西金属工業株式会社
無人フォークリフト
1か月前
中西金属工業株式会社
運搬車用可動式昇降機
11か月前
中西金属工業株式会社
運搬車用可動式昇降機
11か月前
中西金属工業株式会社
運搬車用可動式昇降機
11か月前
株式会社 萩原
棺
1か月前
株式会社小泉製作所
りん
11か月前
個人
墓石
6か月前
株式会社野沢木工所
仏壇
6か月前
株式会社TAJIRO
置物
6か月前
株式会社 宮忠
花立
6か月前
株式会社 宮忠
神棚
6か月前
株式会社 宮忠
神棚
6か月前
株式会社 宮忠
神棚
6か月前
株式会社 宮忠
神棚
6か月前
株式会社 宮忠
神棚
6か月前
株式会社 宮忠
神棚
6か月前
佐々木陶器株式会社
仏器
6か月前
株式会社雪花
香炉
6か月前
カリモク家具株式会社
仏壇
7か月前
株式会社雪花
香炉
6か月前
株式会社TAJIRO
置物
3か月前
個人
仏像
7か月前
有限会社ハンド
香皿
7か月前
個人
香炉
7か月前
名工銘鈑株式会社
神棚
7か月前
個人
香炉
7か月前
新日本石材株式会社
霊標
7か月前
株式会社関菊
りん
7か月前
個人
御札
8か月前
株式会社小泉製作所
りん
9か月前
株式会社小泉製作所
りん
9か月前
続きを見る
他の意匠を見る