TOP
|
特許
|
意匠
|
商標
意匠ウォッチ
Twitter
他の意匠を見る
発行日
2025-10-10
公報種別
意匠公報(S)
登録番号
1810442
登録日
2025-10-02
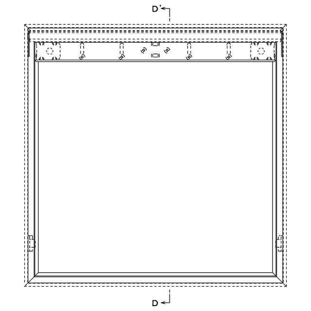
意匠に係る物品
点検口
意匠分類
L4
-642(建築用構成品)
出願番号
2024020097
出願日
2024-09-27
意匠権者
ナカ工業株式会社
代理人
意匠に係る物品の説明
本物品は、建物に設けられる点検口である。
意匠の説明
実線で表された部分が、部分意匠として意匠登録を受けようとする部分である。左側面図は右側面図と対称にあらわれるため省略する。開蓋状態の左側面図は開蓋状態の右側面図と対称にあらわれるため省略する。一点鎖線は意匠登録を受けようとする部分とその他の部分との境界のみを示す線である。
この意匠をJ-PlatPat(特許庁公式サイト)で参照する
関連意匠
ナカ工業株式会社
点検口
今日
ナカ工業株式会社
点検口
1か月前
ナカ工業株式会社
点検口
1か月前
ナカ工業株式会社
点検口
1か月前
ナカ工業株式会社
二重床用支持脚
6か月前
ナカ工業株式会社
二重床用支持脚
6か月前
ナカ工業株式会社
二重床用支持脚
6か月前
ナカ工業株式会社
下肢用介助具
6か月前
ナカ工業株式会社
手すり用支柱
11か月前
ナカ工業株式会社
立位姿勢介助具
1か月前
ナカ工業株式会社
据置型手すり
5か月前
ナカ工業株式会社
据置型手すり
5か月前
ナカ工業株式会社
据置型手すり
6か月前
大建工業株式会社
窓
15日前
大建工業株式会社
窓
15日前
株式会社サカタ製作所
吊子
10か月前
株式会社大林組
障子
8か月前
株式会社サカタ製作所
吊子
10か月前
株式会社サカタ製作所
吊子
10か月前
個人
階段
6か月前
株式会社サカタ製作所
吊子
10か月前
株式会社サカタ製作所
吊子
10か月前
株式会社タクト
戸当り
7か月前
株式会社タクト
戸当り
7か月前
ナカ工業株式会社
点検口
1か月前
ナカ工業株式会社
点検口
1か月前
ナカ工業株式会社
点検口
1か月前
株式会社大林組
連結具
1か月前
ナカ工業株式会社
点検口
今日
積水化学工業株式会社
樋継手
3日前
ライフデザイン・カバヤ株式会社
耐力壁
4か月前
YKK AP株式会社
外構壁
3か月前
YKK AP株式会社
外構壁
3か月前
YKK AP株式会社
外構壁
3か月前
YKK AP株式会社
外構壁
3か月前
株式会社橋梁メンテナンス
集水器
3か月前
続きを見る
他の意匠を見る