TOP
|
特許
|
意匠
|
商標
意匠ウォッチ
Twitter
他の意匠を見る
発行日
2025-10-24
公報種別
意匠公報(S)
登録番号
1811340
登録日
2025-10-16
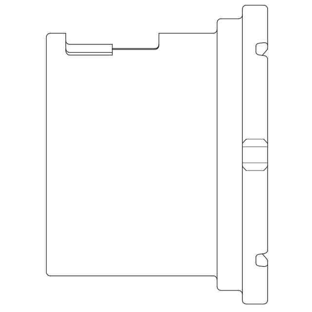
意匠に係る物品
ショットブラスト機用コントロールケージ
意匠分類
K7
-1900(金属加工機械、木材加工機械等)
出願番号
2024026813
出願日
2024-12-25
意匠権者
新東工業株式会社
,
SINTOKOGIO,LTD.
代理人
個人
,
個人
,
個人
意匠に係る物品の説明
本物品は、ショットブラスト機に用いられるコントロールケージである。このコントロールケージは、供給口から投入された投射材の、ブレードに投入される位置を調整するものである。
意匠の説明
各図において、物品の表面部に表された細線は、いずれも立体表面の形状を特定するためのものである。
この意匠をJ-PlatPat(特許庁公式サイト)で参照する
関連意匠
新東工業株式会社
集塵作業台
8か月前
新東工業株式会社
藻類培養容器
2か月前
新東工業株式会社
藻類培養容器
2か月前
新東工業株式会社
粉末分離回収機
8か月前
新東工業株式会社
産業機械用分級機
6か月前
新東工業株式会社
ブラスト機
7か月前
新東工業株式会社
ブラスト機
12か月前
新東工業株式会社
ショットブラスト機用コントロールケージ
2日前
新東工業株式会社
ショットブラスト機用コントロールケージ
2日前
新東工業株式会社
ショットブラスト機用コントロールケージ
2日前
新東工業株式会社
ショットブラスト機用コントロールケージ
2日前
サーモ エレクトロン (カールスルーエ) ゲーエムベーハー
押出機
2か月前
株式会社高野鉄工所
切断機
11日前
サーモ エレクトロン (カールスルーエ) ゲーエムベーハー
押出機
2か月前
サーモ エレクトロン (カールスルーエ) ゲーエムベーハー
押出機
2か月前
株式会社塩
ノズル
4か月前
株式会社塩
ノズル
12か月前
株式会社塩
ノズル
7か月前
深せん市東瑞はん接設備股分有限公司
溶接機
7か月前
デンヨー株式会社
溶接機
8か月前
高津伝動精機株式会社
工作機械
6か月前
株式会社駿河生産プラットフォーム
コレット
2か月前
株式会社三和プレス工業所
ジャバラ
6か月前
三井金属鉱業株式会社
インペラ
8か月前
三井金属鉱業株式会社
インペラ
8か月前
聖杰國際股ふん有限公司
治具装置
11か月前
三井金属鉱業株式会社
インペラ
7か月前
新東工業株式会社
ブラスト機
7か月前
アサダ株式会社
バンドソー
8か月前
西部電機株式会社
放電加工機
7か月前
保定明昇はん業科技有限公司
溶接ワイヤ
5か月前
三和テクノ株式会社
シール部材
8か月前
個人
切削用治具
10か月前
三和テクノ株式会社
シール部材
8か月前
ファナック株式会社
切削加工機
2か月前
ファナック株式会社
切削加工機
2か月前
続きを見る
他の意匠を見る