TOP
|
特許
|
意匠
|
商標
特許ウォッチ
Twitter
他の特許を見る
10個以上の画像は省略されています。
公開番号
2025080018
公報種別
公開特許公報(A)
公開日
2025-05-23
出願番号
2023192971
出願日
2023-11-13
発明の名称
カードゲーム具
出願人
個人
代理人
主分類
A63F
1/02 20060101AFI20250516BHJP(スポーツ;ゲーム;娯楽)
要約
【課題】 本発明の目的は、魚介類の生態を理解可能とするカードゲーム具を提供するものである
【解決手段】 釣り対象となる魚介類が表示された複数種類の基本カードと、魚介類の釣り条件が表示された複数種類のサブカードとを備え、各基本カードは、一つの種類の魚介類と、当該魚介類の生態に基づく釣り条件とが表示され、プレイヤにより選択された基本カードの釣り条件とサブカードの釣り条件とが一致した場合に、当該プレイヤに所定の利益が付与されるカードゲーム具を提供する。
【選択図】図3
特許請求の範囲
【請求項1】
釣り対象となる魚介類が表示された複数種類の基本カードと、魚介類の釣り条件が表示された複数種類のサブカードとを備え、各基本カードは、一つの種類の魚介類と、当該魚介類の生態に基づく釣り条件とが表示され、プレイヤにより選択された基本カードの釣り条件とサブカードの釣り条件とが一致した場合に、当該プレイヤに所定の利益が付与されるカードゲーム具。
続きを表示(約 340 文字)
【請求項2】
請求項1において、基本カードは、釣り条件として釣法を示す情報が表示され、サブカードは、釣り条件として釣法を示す情報が表示された第1サブカードと釣法に応じた疑似餌または捕食餌を示す情報が表示された第2サブカードとを備え、プレイヤにより第1サブカードと第2サブカードが選択され、当該第2サブカードに表示された疑似餌または捕食餌が、当該第1サブカードに表示された釣法に応じていた場合に、当該プレイヤに所定の利益が付与されるカードゲーム具。
【請求項3】
請求項1または請求項2において、魚介類の生態に基づく釣り条件の一つである複数種類の釣り場を示す情報が、複数の面にそれぞれ表示されたサイコロを更に備え、釣り場をプレイヤがサイコロで決定するカードゲーム具。
発明の詳細な説明
【技術分野】
【0001】
本発明は、カードゲーム具に関する。
続きを表示(約 1,500 文字)
【背景技術】
【0002】
一般的にカードゲーム具にはトランプ、ウノ、かるたなどカードを用いて勝敗を競う対戦型のカードゲームが知られている。一方、カードにポイントを決めておき、その獲得ポイントで順位を決めるカードゲームも考えられる。
【0003】
身近な対象物をカードに置き換え設定することで、カードゲームの利用範囲を魚介類の知識や知育にまで広げることができる。
【先行技術文献】
【特許文献】
【0004】
特開2023-64591号公報
【発明の概要】
【発明が解決しようとする課題】
【0005】
本発明の目的は、魚介類の生態を理解可能とするカードゲーム具を提供するものである。
【課題を解決するための手段】
【0006】
釣り対象となる魚介類が表示された複数種類の基本カードと、魚介類の釣り条件が表示された複数種類のサブカードとを備え、各基本カードは、一つの種類の魚介類と、当該魚介類の生態に基づく釣り条件とが表示され、プレイヤにより選択された基本カードの釣り条件とサブカードの釣り条件とが一致した場合に、当該プレイヤに所定の利益が付与されるカードゲーム具を提供する。
【0007】
基本カードは、釣り条件として釣法を示す情報が表示され、サブカードは、釣り条件として釣法を示す情報が表示された第1サブカードと釣法に応じた疑似餌または捕食餌を示す情報が表示された第2サブカードとを備え、プレイヤにより第1サブカードと第2サブカードが選択され、当該第2サブカードに表示された疑似餌または捕食餌が、当該第1サブカードに表示された釣法に応じていた場合に、当該プレイヤに所定の利益が付与されるカードゲーム具を提供する
【0008】
魚介類の生態に基づく釣り条件の一つである複数種類の釣り場を示す情報が、複数の面にそれぞれ表示されたサイコロを更に備え、釣り場をプレイヤがサイコロで決定するカードゲーム具を提供する。
【発明の効果】
【0009】
魚介類の生態を理解可能とするカードゲーム具を提供できる。
【図面の簡単な説明】
【0010】
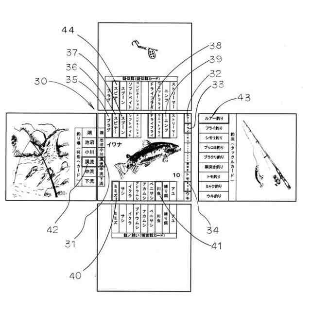
淡水魚20種類一覧表である。
海水魚介類30種類一覧表である。
タグが一致した淡水魚イワナのカード配置例である。
タグが一致した海水魚介類ボラのカード配置例である。
淡水魚カード1(アユ他6枚の淡水魚例)である。
淡水魚カード2(コイ他6枚の淡水魚例)である。
海水魚介類カード1(アイナメ他6枚の海水魚介類例)である。
海水魚介類カード2(カワハギ他6枚の海水魚介類例)である。
何処へカード(淡水魚の渓流他6枚の釣り場例)である。
何処へカード(海水魚介類の堤防他6枚の釣り場例)である。
タックルカード1(ウキ釣り他6枚の釣法例)である。
タックルカード2(投げ釣り他6枚の釣法例)である。
疑似餌カード1(プラグ他6枚の疑似餌例)である。
疑似餌カード2(スプーン他6枚の疑似餌例)である。
淡水魚の捕食餌カード(ミミズ他6枚の餌/誘い例)である。
海水魚介類の捕食餌カード(アオイソメ他6枚の餌/誘い例)である。
ゲームフロー1/2である。
ゲームフロー2/2である。
【発明を実施するための形態】
(【0011】以降は省略されています)
この特許をJ-PlatPat(特許庁公式サイト)で参照する
関連特許
個人
玩具
3か月前
個人
玩具
24日前
個人
自走玩具
17日前
個人
盤上遊戯具
8か月前
個人
運動補助具
2か月前
個人
ゲーム玩具
4か月前
個人
フィギュア
8か月前
個人
玩具
8か月前
株式会社三共
遊技機
9か月前
株式会社三共
遊技機
9か月前
株式会社三共
遊技機
9か月前
株式会社三共
遊技機
9か月前
株式会社三共
遊技機
9か月前
株式会社三共
遊技機
9か月前
株式会社三共
遊技機
9か月前
株式会社三共
遊技機
9か月前
株式会社三共
遊技機
9か月前
株式会社三共
遊技機
9か月前
株式会社三共
遊技機
9か月前
株式会社三共
遊技機
9か月前
株式会社三共
遊技機
9か月前
株式会社三共
遊技機
9か月前
株式会社三共
遊技機
9か月前
株式会社三共
遊技機
9か月前
株式会社三共
遊技機
9か月前
株式会社三共
遊技機
6か月前
株式会社三共
遊技機
6か月前
個人
ゴルフ練習装置
6か月前
株式会社高尾
遊技機
6か月前
株式会社三共
遊技機
9か月前
個人
カードスタンド
6か月前
株式会社三共
遊技機
9か月前
株式会社三共
遊技機
9か月前
株式会社三共
遊技機
9か月前
株式会社三共
遊技機
9か月前
株式会社三共
遊技機
9か月前
続きを見る
他の特許を見る