TOP
|
特許
|
意匠
|
商標
特許ウォッチ
Twitter
他の特許を見る
10個以上の画像は省略されています。
公開番号
2025135962
公報種別
公開特許公報(A)
公開日
2025-09-19
出願番号
2024034070
出願日
2024-03-06
発明の名称
自走玩具
出願人
個人
代理人
主分類
A63H
29/18 20060101AFI20250911BHJP(スポーツ;ゲーム;娯楽)
要約
【課題】駆動装置の部品数を少なくシンプルにすることで、壊れにくく、ゴムバンドの交換も容易に実現できる構造とスムーズな走行を提供する。
【解決手段】後側車軸を駆動する駆動手段とを備えた自走玩具であって、後側車軸穴は前後方向にスライド可能な長孔形状とされるとともに、車台底面には後側車軸に固定された突部が回転可能に収容できる空洞スペースが形成され、空洞スペースには車台に形成された取付部に取付けられたゴムバンドが配置されており、ゴムバンドは後側車軸が後側車軸穴の前側までスライドした状態で突部の回転によって後側車軸に巻き取られるように構成されるとともに、後側車軸が後側車軸穴の後側へスライドすることで解放され、突部は歯車の歯先で構成されており、取付部は空洞スペースに垂下された突起部とされるとともにゴムバンドが取付けられており、この突起部には歯先が嵌り込み可能な縦方向の溝部が形成する。
【選択図】図1
特許請求の範囲
【請求項1】
車台と、該車台の前後に形成された前側車軸穴と後側車軸穴とにそれぞれ回転可能に軸支されて左右にそれぞれ車輪を有する前側車軸と後側車軸と、この後側車軸を駆動する駆動手段とを備えた自走玩具であって、前記後側車軸穴は前後方向にスライド可能な長孔形状とされるとともに、前記車台底面には前記後側車軸に固定された突部が回転可能に収容できる空洞スペースが形成され、該空洞スペースには前記車台に形成された取付部に取付けられたゴムバンドが配置されており、該ゴムバンドは前記後側車軸が前記後側車軸穴の前側までスライドした状態で前記突部の回転によって前記後側車軸に巻き取られるように構成されるとともに、前記後側車軸が前記後側車軸穴の後側へスライドすることで解放されることを特徴とする自走玩具。
続きを表示(約 130 文字)
【請求項2】
前記突部は歯車の歯先で構成されており、前記取付部は前記空洞スペースに垂下された突起部とされるとともに前記ゴムバンドが取付けられており、この突起部には前記歯先が嵌り込み可能な縦方向の溝部が形成されていることを特徴とする請求項1記載の自走玩具。
発明の詳細な説明
【技術分野】
【0001】
本発明は、伸張性あるゴムバンドを用いた駆動装置に関するものである。
続きを表示(約 2,900 文字)
【背景技術】
【0002】
自走玩具を実現するには自らが車輪を回すための駆動装置の仕組みが必要である。ゼンマイなどを用いて強力な動力をつくり走らせるものは実現している。また、ゴムバンドの駆動力によって走行させる提案はあるが(例えば特許文献1参照)、シンプルな構造を重視し、駆動部にゴムバンドが直結されており、長い距離の走行はできない構造になっている。このため、駆動力を最大限に活用できるシンプルな構造で、ゴムバンドの交換が容易にできる構造をもち、安心して遊戯できる玩具の実現が期待されていた。
【先行技術文献】
【特許文献】
【0003】
特許7352054
【発明の概要】
【発明が解決しようとする課題】
【0004】
そこで本発明は、駆動装置の部品数を少なくシンプルにすることで、壊れにくく、ゴムバンドの交換も容易に実現できること。さらに、ゴムバンドの円滑な巻き取り、繰り出しの仕組みを実現できる構造と駆動力を最大限に活用できたスムーズな走行を提供することを課題とする。
【課題を解決するための手段】
【0005】
車台と、該車台の前後に形成された前側車軸穴と後側車軸穴とにそれぞれ回転可能に軸支されて左右にそれぞれ車輪を有する前側車軸と後側車軸と、この後側車軸を駆動する駆動手段とを備えた自走玩具であって、前記後側車軸穴は前後方向にスライド可能な長孔形状とされるとともに、前記車台底面には前記後側車軸に固定された突部が回転可能に収容できる空洞スペースが形成され、該空洞スペースには前記車台に形成された取付部に取付けられたゴムバンドが配置されており、該ゴムバンドは前記後側車軸が前記後側車軸穴の前側までスライドした状態で前記突部の回転によって前記後側車軸に巻き取られるように構成されるとともに、前記後側車軸が前記後側車軸穴の後側へスライドすることで解放され、前記突部は歯車の歯先で構成されており、前記取付部は前記空洞スペースに垂下された突起部とされるとともに前記ゴムバンドが取付けられており、この突起部には前記歯先が嵌り込み可能な縦方向の溝部が形成されていることを特徴とする。
【発明の効果】
【0006】
本発明によれば、後側車軸穴を長孔形状とすることで後側車軸が前後方向にスライド可能とし、後側車軸を前側にスライドさせ、ゴムバンドが後側車軸に固定された突部に引っ掛かることで、ゴムバンドを巻き取ることを可能とし、後側車軸が後側にスライドし、ゴムバンドに後側車軸に固定された突部が触れないことで、後側車軸の回転を阻害するものがなく、スムーズな回転を可能とする。
また、取付部の幅を空洞スペースの横幅より小さく形成し、空洞スペースの側壁と取付部の間に隙間を持たせることで、ゴムバンドが空洞スペースの側壁に触れることがなくなり、ゴムバンドが空洞スペースの側壁に触れて、引っ掛かりを起こすことなくスムーズに巻き取りや繰り出し動作を行うことを可能とする。さらに直進補助溝部を形成し、その溝の中に歯車の歯先が納まって動作することで、後側車軸穴が長孔形状で、後側車軸が左右にガタつきやすくなることを補い、スムーズな直進走行を可能とする。その結果として、輪ゴムの動力を最大限に活用し、安定した直進走行が可能となり、遊戯する人の楽しみをより一層高めることができる。
【図面の簡単な説明】
【0007】
本発明の実施例1における玩具車台の底面斜視からの構造図
本発明の実施例1における玩具車台の底面の構造図
本発明の実施例1における玩具車台の側面断面図
本発明の実施例1における後側車輪の構成図
本発明の実施例1における玩具車台にゴムバンドを巻き取り繰り出し動作図
本発明の実施例1における玩具車台にゴムバンドを巻き取り繰り出し動作図
本発明の実施例1における玩具車台にゴムバンドを巻き取り繰り出し動作図
本発明の実施例1における玩具の全体図
本発明の実施例1における玩具の側面断面図
本発明の実施例2における玩具車台の底面斜視からの構造図
本発明の実施例2における後側車輪の構成図
本発明の実施例2における玩具車台にゴムバンドを巻き取り繰り出し動作図
本発明の実施例2における玩具車台にゴムバンドを巻き取り繰り出し動作図
本発明の実施例2における玩具車台にゴムバンドを巻き取り繰り出し動作図
本発明の実施例2における玩具の全体図
【発明を実施するための形態】
【0008】
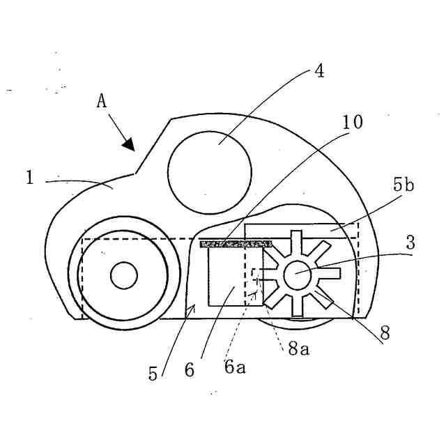
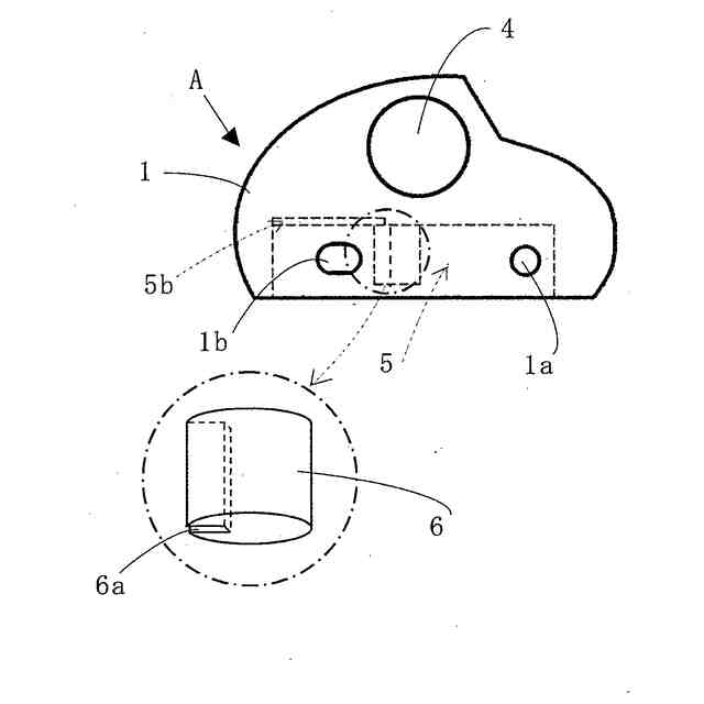
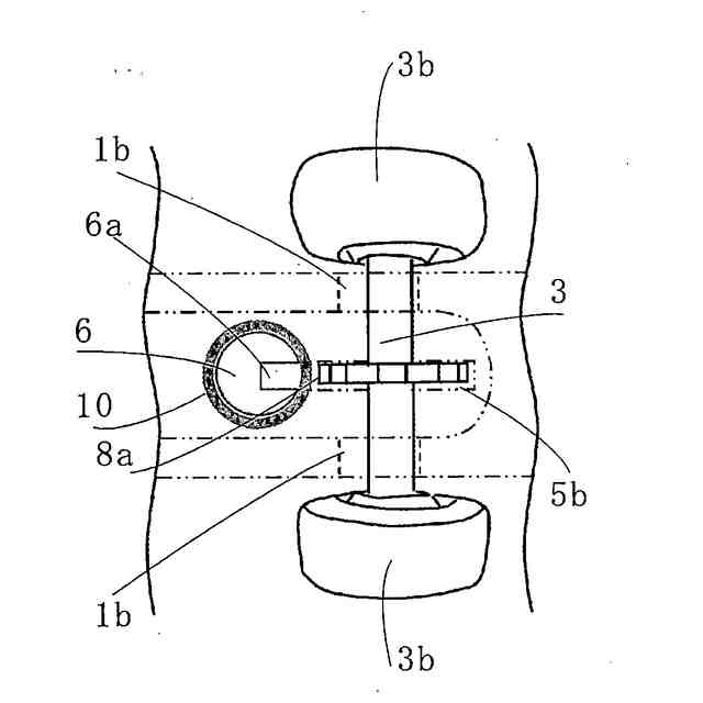
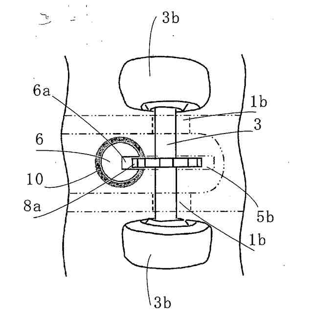
本発明の実施例1を図面に基づいて説明する。なお、本発明の実施例として自動車の玩具で説明する。玩具Aは、窓4を配した自動車の形をした車台1を備えている。車台1の側面には丸状の前側車軸穴1aと長孔形状の後側車軸穴1bが形成されている(図1図5参照)。そして前側車軸穴1aには、丸い棒状の前側車軸2が挿通されるとともに、その左右には前側車輪2a、2aが固定されている。また、後側車軸穴1bには、丸い棒状の後側車軸3が挿通されるとともに、その左右には、後側車輪3a、3aが固定されている(図4、図5参照)。そして、この後側車軸3の左右方向の中心線部Bに突部(歯車)8が固定されている(図3参照)。なお、前側車軸2、および後側車軸3は、車台1に形成された前側車軸穴1aと後側車軸穴1bに対して回動可能とされている。そして、後輪車軸3は、この長孔形状の後側車軸穴1b内にて回動するとともに前後方向にスライド可能となっている(図1図4参照)。
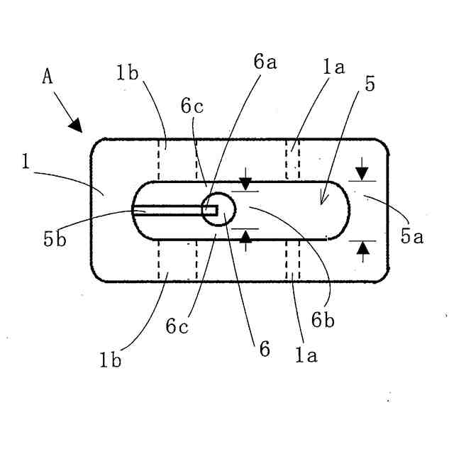
【0009】
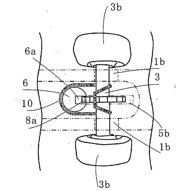
また、この車台1の底面には、空洞スペース5が形成されている。この空洞スペース5は車台1の底面の周囲を所定幅残して彫り込まれている(図2A参照)。そして、この空洞スペース5内に駆動手段としての後側車軸3に取り付けられた歯車8と車台1の空洞スペース5内に垂下された突起部である取付部6に取り付けられたゴムバンド10とが納まるようになっている (図2B参照)。
【0010】
そして取付部6は、後側車軸3が後側車軸穴1bの前側にある時、歯車8の歯先8aが、取付部6に形成された縦方向の縦溝部6aに納まり(図4A図4B参照)、後側車軸3が後側車軸穴1bの後側にある時、歯車8の歯先8aが取付部6に取り付けられたゴムバンド10に触れない位置に形成されており(図4C参照)、取付部6の横幅6bは、空洞スペース横幅5aより小さく、空洞スペース5の側壁と取付部6の間に隙間6cができるよう形成されることで(図2参照)、ゴムバンド10が空洞スペース5の側壁に触れることなく、スムーズに巻き取り、繰り出しができるという効果がある(図4参照)。
(【0011】以降は省略されています)
この特許をJ-PlatPat(特許庁公式サイト)で参照する
関連特許
個人
玩具
22日前
個人
玩具
3か月前
個人
自走玩具
15日前
個人
ゲーム玩具
4か月前
個人
玩具
8か月前
個人
盤上遊戯具
8か月前
個人
運動補助具
2か月前
個人
フィギュア
8か月前
株式会社三共
遊技機
3か月前
株式会社三共
遊技機
1か月前
株式会社三共
遊技機
1か月前
株式会社三共
遊技機
3か月前
株式会社三共
遊技機
1か月前
株式会社三共
遊技機
1か月前
株式会社三共
遊技機
1か月前
株式会社三共
遊技機
1か月前
株式会社三共
遊技機
1か月前
株式会社三共
遊技機
1か月前
株式会社三共
遊技機
1か月前
株式会社三共
遊技機
3か月前
株式会社三共
遊技機
3か月前
株式会社三共
遊技機
1か月前
株式会社三共
遊技機
1か月前
株式会社三共
遊技機
3か月前
株式会社三共
遊技機
1か月前
株式会社三共
遊技機
1か月前
株式会社三共
遊技機
3か月前
株式会社三共
遊技機
1か月前
株式会社三共
遊技機
3か月前
株式会社三共
遊技機
1か月前
株式会社三共
遊技機
5か月前
株式会社三共
遊技機
3か月前
株式会社三共
遊技機
6か月前
株式会社三共
遊技機
1か月前
株式会社三共
遊技機
1か月前
株式会社三共
遊技機
1か月前
続きを見る
他の特許を見る