TOP
|
特許
|
意匠
|
商標
特許ウォッチ
Twitter
他の特許を見る
10個以上の画像は省略されています。
公開番号
2025123175
公報種別
公開特許公報(A)
公開日
2025-08-22
出願番号
2024219569,2024019025
出願日
2024-12-16,2024-02-09
発明の名称
情報処理プログラム、情報処理方法および情報処理システム
出願人
株式会社Cygames
代理人
弁理士法人青海国際特許事務所
主分類
A63F
13/69 20140101AFI20250815BHJP(スポーツ;ゲーム;娯楽)
要約
【課題】ゲーム性を向上させる。
【解決手段】情報処理プログラムは、特定ゲーム媒体を含む複数のゲーム媒体の中から少なくとも一のゲーム媒体を抽選により決定する第1抽選を実行する処理と、第1抽選と異なり、特定ゲーム媒体を含む複数のゲーム媒体の中から少なくとも一のゲーム媒体を抽選により決定する第2抽選を実行する処理と、特定ゲーム媒体が当選し、かつ、特定条件が満たされている場合、プレイヤ識別情報に特典情報を紐付ける処理と、プレイヤ識別情報への特典情報の紐付けに応じて、プレイヤ識別情報に紐付けられる特典情報の紐付回数を更新する処理と、をコンピュータに遂行させ、特定条件は、特典情報の紐付回数が所定回数未満であることであり、プレイヤ識別情報に紐付けられる特典情報の紐付回数を更新する処理は、第1抽選および第2抽選による特典情報の紐付回数を更新する場合、共通の紐付回数を更新する。
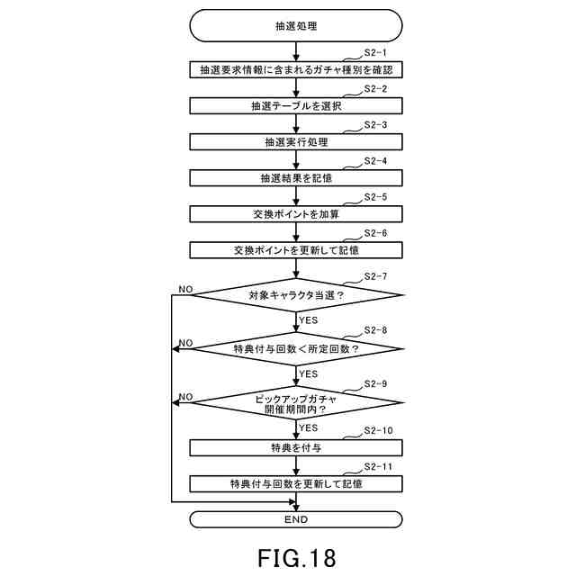
【選択図】図18
特許請求の範囲
【請求項1】
特定ゲーム媒体を含む複数のゲーム媒体の中から少なくとも一のゲーム媒体を抽選により決定する第1抽選を実行する処理と、
前記第1抽選と異なり、前記特定ゲーム媒体を含む前記複数のゲーム媒体の中から少なくとも一の前記ゲーム媒体を抽選により決定する第2抽選を実行する処理と、
前記特定ゲーム媒体が当選し、かつ、特定条件が満たされている場合、プレイヤ識別情報に特典情報を紐付ける処理と、
前記プレイヤ識別情報への前記特典情報の紐付けに応じて、前記プレイヤ識別情報に紐付けられる前記特典情報の紐付回数を更新する処理と、
をコンピュータに遂行させ、
前記特定条件は、前記特典情報の前記紐付回数が所定回数未満であることであり、
前記プレイヤ識別情報に紐付けられる前記特典情報の紐付回数を更新する処理は、前記第1抽選および前記第2抽選による前記特典情報の前記紐付回数を更新する場合、共通の紐付回数を更新する、
情報処理プログラム。
続きを表示(約 1,600 文字)
【請求項2】
前記第1抽選の実行回数および前記第2抽選の実行回数に応じて、前記プレイヤ識別情報にポイントを紐付ける処理、
をコンピュータに遂行させ、
前記プレイヤ識別情報に前記特典情報を紐付ける処理は、
前記プレイヤ識別情報に紐付けられたポイントが所定値以上である場合、前記プレイヤ識別情報に前記特定ゲーム媒体を紐付け、前記特定ゲーム媒体の紐付けに応じて前記プレイヤ識別情報に前記特典情報を紐付ける処理を実行し、
前記プレイヤ識別情報に紐付けられる前記特典情報の前記紐付回数を更新する処理は、
前記プレイヤ識別情報に前記特定ゲーム媒体が紐付けられるとともに、前記プレイヤ識別情報に前記特典情報が紐付けられたことに応じて、前記プレイヤ識別情報に紐付けられる前記特典情報の前記紐付回数を更新する、
請求項1に記載の情報処理プログラム。
【請求項3】
前記第1抽選による前記特定ゲーム媒体の当選確率は、前記第2抽選による前記特定ゲーム媒体の当選確率と異なる、
請求項1または2に記載の情報処理プログラム。
【請求項4】
前記第1抽選は、特定期間内において実行され、
前記第2抽選は、前記特定期間内および前記特定期間外において実行され、
前記プレイヤ識別情報に前記特典情報を紐付ける処理は、
前記特定期間内において前記第2抽選により前記特定ゲーム媒体が当選した場合に、前記プレイヤ識別情報に前記特典情報を紐付ける、
請求項1または2に記載の情報処理プログラム。
【請求項5】
1または複数のコンピュータが、
特定ゲーム媒体を含む複数のゲーム媒体の中から少なくとも一のゲーム媒体を抽選により決定する第1抽選を実行する処理と、
前記第1抽選と異なり、前記特定ゲーム媒体を含む前記複数のゲーム媒体の中から少なくとも一の前記ゲーム媒体を抽選により決定する第2抽選を実行する処理と、
前記特定ゲーム媒体が当選し、かつ、特定条件が満たされている場合、プレイヤ識別情報に特典情報を紐付ける処理と、
前記プレイヤ識別情報への前記特典情報の紐付けに応じて、前記プレイヤ識別情報に紐付けられる前記特典情報の紐付回数を更新する処理と、
を遂行し、
前記特定条件は、前記特典情報の前記紐付回数が所定回数未満であることであり、
前記プレイヤ識別情報に紐付けられる前記特典情報の紐付回数を更新する処理は、前記第1抽選および前記第2抽選による前記特典情報の前記紐付回数を更新する場合、共通の紐付回数を更新する、
情報処理方法。
【請求項6】
1または複数のコンピュータを備え、
前記コンピュータが、
特定ゲーム媒体を含む複数のゲーム媒体の中から少なくとも一のゲーム媒体を抽選により決定する第1抽選を実行する処理と、
前記第1抽選と異なり、前記特定ゲーム媒体を含む前記複数のゲーム媒体の中から少なくとも一の前記ゲーム媒体を抽選により決定する第2抽選を実行する処理と、
前記特定ゲーム媒体が当選し、かつ、特定条件が満たされている場合、プレイヤ識別情報に特典情報を紐付ける処理と、
前記プレイヤ識別情報への前記特典情報の紐付けに応じて、前記プレイヤ識別情報に紐付けられる前記特典情報の紐付回数を更新する処理と、
を遂行し、
前記特定条件は、前記特典情報の前記紐付回数が所定回数未満であることであり、
前記プレイヤ識別情報に紐付けられる前記特典情報の紐付回数を更新する処理は、前記第1抽選および前記第2抽選による前記特典情報の前記紐付回数を更新する場合、共通の紐付回数を更新する、
情報処理システム。
発明の詳細な説明
【技術分野】
【0001】
本発明は、情報処理プログラム、情報処理方法および情報処理システムに関する。
続きを表示(約 1,800 文字)
【背景技術】
【0002】
従来、所謂ガチャと呼ばれる抽選を実行することにより、ゲームで利用するアイテムやキャラクタ等を獲得することができる情報処理システムがある。
【0003】
非特許文献1には、抽選で特定のキャラクタが当選した場合、1回に限り、プレイヤにゲーム内で利用可能な特典を付与することについて開示がある。
【先行技術文献】
【非特許文献】
【0004】
“タワーオブスカイ”、[online]、令和5年11月14日、株式会社MIXI、[令和6年2月2日検索]、インターネット<URL:https://tower-of-sky.com/news/0041e3e14962ef9405a76390cc408aef61f19810.html>
【発明の概要】
【発明が解決しようとする課題】
【0005】
ところで、抽選によりプレイヤに付与される特典は、ゲーム内において利用価値の高いアイテムである場合がある。その場合、抽選によりプレイヤに特典を無制限に付与可能としてしまうと、ゲームバランスを崩してしまうおそれがある。そのため、抽選によりプレイヤに付与可能な特典の回数には、制限を設ける必要性がある。
【0006】
また、抽選には、複数の種類があり、複数の種類それぞれの抽選において特定のキャラクタが当選する場合がある。このとき、複数の種類の抽選のうち、特定の抽選でのみプレイヤに特典を付与可能とした場合、特定の抽選とは別の抽選で特定のキャラクタが当選しても、プレイヤに特典が付与されずにプレイヤの不満感に繋がるおそれがある。このように、抽選にはゲーム性の改善の余地があり、ゲーム性を向上させることが希求されている。
【0007】
本発明は、ゲーム性を向上させることが可能な情報処理プログラム、情報処理方法および情報処理システムを提供することを目的としている。
【課題を解決するための手段】
【0008】
上記課題を解決するために、情報処理プログラムは、
特定ゲーム媒体を含む複数のゲーム媒体の中から少なくとも一のゲーム媒体を抽選により決定する第1抽選を実行する処理と、
前記第1抽選と異なり、前記特定ゲーム媒体を含む前記複数のゲーム媒体の中から少なくとも一の前記ゲーム媒体を抽選により決定する第2抽選を実行する処理と、
前記特定ゲーム媒体が当選し、かつ、特定条件が満たされている場合、プレイヤ識別情報に特典情報を紐付ける処理と、
前記プレイヤ識別情報への前記特典情報の紐付けに応じて、前記プレイヤ識別情報に紐付けられる前記特典情報の紐付回数を更新する処理と、
をコンピュータに遂行させ、
前記特定条件は、前記特典情報の前記紐付回数が所定回数未満であることであり、
前記プレイヤ識別情報に紐付けられる前記特典情報の紐付回数を更新する処理は、前記第1抽選および前記第2抽選による前記特典情報の前記紐付回数を更新する場合、共通の紐付回数を更新する。
【0009】
情報処理プログラムは、
前記第1抽選の実行回数および前記第2抽選の実行回数に応じて、前記プレイヤ識別情報にポイントを紐付ける処理、
をコンピュータに遂行させ、
前記プレイヤ識別情報に前記特典情報を紐付ける処理は、
前記プレイヤ識別情報に紐付けられたポイントが所定値以上である場合、前記プレイヤ識別情報に前記特定ゲーム媒体を紐付け、前記特定ゲーム媒体の紐付けに応じて前記プレイヤ識別情報に前記特典情報を紐付ける処理を実行し、
前記プレイヤ識別情報に紐付けられる前記特典情報の前記紐付回数を更新する処理は、
前記プレイヤ識別情報に前記特定ゲーム媒体が紐付けられるとともに、前記プレイヤ識別情報に前記特典情報が紐付けられたことに応じて、前記プレイヤ識別情報に紐付けられる前記特典情報の前記紐付回数を更新してもよい。
【0010】
前記第1抽選による前記特定ゲーム媒体の当選確率は、前記第2抽選による前記特定ゲーム媒体の当選確率と異なってもよい。
(【0011】以降は省略されています)
特許ウォッチbot のツイートを見る
この特許をJ-PlatPat(特許庁公式サイト)で参照する
関連特許
個人
玩具
3か月前
個人
玩具
1か月前
個人
自走玩具
27日前
個人
フィギュア
8か月前
個人
運動補助具
2か月前
個人
ゲーム玩具
5か月前
個人
盤上遊戯具
8か月前
個人
玩具
8か月前
個人
打撃練習用具
7日前
株式会社三共
遊技機
7か月前
株式会社高尾
遊技機
7か月前
株式会社三共
遊技機
3か月前
株式会社三共
遊技機
3か月前
株式会社三共
遊技機
3か月前
株式会社高尾
遊技機
7か月前
株式会社三共
遊技機
3か月前
株式会社三共
遊技機
3か月前
株式会社三共
遊技機
3か月前
株式会社三共
遊技機
3か月前
株式会社三共
遊技機
3か月前
株式会社三共
遊技機
24日前
株式会社三共
遊技機
3か月前
株式会社三共
遊技機
24日前
株式会社三共
遊技機
24日前
株式会社三共
遊技機
24日前
株式会社三共
遊技機
24日前
株式会社三共
遊技機
24日前
株式会社三共
遊技機
24日前
株式会社三共
遊技機
24日前
株式会社三共
遊技機
24日前
株式会社三共
遊技機
24日前
株式会社三共
遊技機
24日前
株式会社三共
遊技機
3か月前
株式会社三共
遊技機
3か月前
株式会社三共
遊技機
3か月前
株式会社三共
遊技機
3か月前
続きを見る
他の特許を見る