TOP
|
特許
|
意匠
|
商標
特許ウォッチ
Twitter
他の特許を見る
公開番号
2025149040
公報種別
公開特許公報(A)
公開日
2025-10-08
出願番号
2024049470
出願日
2024-03-26
発明の名称
燃焼装置
出願人
大阪瓦斯株式会社
代理人
弁理士法人R&C
主分類
F23N
5/24 20060101AFI20251001BHJP(燃焼装置;燃焼方法)
要約
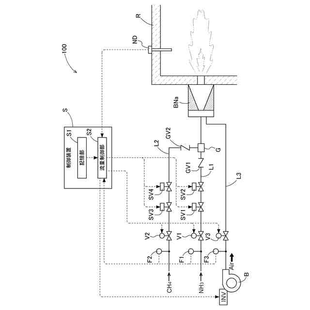
【課題】燃料ガスとしてアンモニアを用いる場合に、外部へのアンモニアの排出量を十分に低減しながらも、経済性の向上及び運用における作業効率の向上を図り得る燃焼装置を提供する。
【解決手段】第1流量制御弁V1及び第2流量制御弁V2の弁開度を制御可能な制御装置Sを備え、炭化水素ガス通流配管L2は、アンモニアガス通流配管L1の第1流量制御弁V1の設置位置より下流側の下流側配管部位に対し、炭化水素ガスを通流可能な状態で連通接続されており、制御装置Sは、燃焼停止前に、第1流量制御弁V1を閉止状態とすると共に第2流量制御弁V2を開放状態として、アンモニアガス通流配管L1の下流側配管部位アンモニアガスを炭化水素ガスによりパージする炭化水素ガスパージ制御を実行する。
【選択図】図1
特許請求の範囲
【請求項1】
燃料ガスと、酸素を含む酸化剤とを混合した混合気を燃焼する燃焼装置であって、
前記燃料ガスとしてのメタンを主成分とする炭化水素ガスを通流する炭化水素ガス通流配管と、
前記燃料ガスとしてのアンモニアガスを通流するアンモニアガス通流配管と、
前記アンモニアガス通流配管を通流する前記アンモニアガスの流量を調整可能な第1流量制御弁と、前記炭化水素ガス通流配管を通流する前記炭化水素ガスの流量を調整可能な第2流量制御弁と、前記第1流量制御弁及び前記第2流量制御弁の弁開度を制御可能な制御装置とを備え、
前記炭化水素ガス通流配管は、前記アンモニアガス通流配管の前記第1流量制御弁の設置位置より下流側の下流側配管部位に対し、前記炭化水素ガスを通流可能な状態で連通接続されており、
前記制御装置は、燃焼停止前に、前記第1流量制御弁を閉止状態とすると共に前記第2流量制御弁を開放状態として、前記アンモニアガス通流配管の前記下流側配管部位の前記アンモニアガスを前記炭化水素ガスによりパージする炭化水素ガスパージ制御を実行する燃焼装置。
続きを表示(約 1,000 文字)
【請求項2】
前記混合気に点火する点火装置を備え、
前記制御装置は、前記点火装置による点火前から点火時までは、前記第1流量制御弁を閉止状態とすると共に前記第2流量制御弁を開放状態とし、前記点火装置による点火後は、前記第1流量制御弁の開度を徐々に増加すると共に前記第2流量制御弁の開度を徐々に低下する点火時燃料流量制御を実行する請求項1に記載の燃焼装置。
【請求項3】
前記制御装置は、前記点火時燃料流量制御の実行後に、前記第1流量制御弁を開放状態とすると共に前記第2流量制御弁を閉止状態とするアンモニア燃焼制御へ移行する請求項2に記載の燃焼装置。
【請求項4】
前記制御装置は、
前記第1流量制御弁の弁開度を所定の第1基準変化割合で増加させると共に、前記第2流量制御弁の弁開度を所定の第2基準変化割合で減少させて、すべての前記燃料ガスに対する前記アンモニアガスの混焼率を増加させる第1混焼率調整制御を実行可能であると共に、
前記混焼率が30%以上60%以下の場合に、前記第1流量制御弁の弁開度の変化割合を前記第1基準変化割合よりも大きい第1変化割合で増加させると共に、前記第2流量制御弁の弁開度を前記第2基準変化割合よりも大きい第2変化割合で減少させて、前記混焼率を増加する第2混焼率調整制御を、前記点火時燃料流量制御において実行する請求項2に記載の燃焼装置。
【請求項5】
前記制御装置は、
前記炭化水素ガスパージ制御の前に、前記第2流量制御弁の開度を零より大きい燃焼下限開度以上の開度にした状態で前記第1流量制御弁の開度を徐々に低下して零とする停止時流量制御を実行可能に構成され、
前記第1流量制御弁の弁開度を第3基準変化割合で減少させると共に、前記第2流量制御弁の弁開度を第4基準変化割合で増加させて、すべての前記燃料ガスに対する前記アンモニアガスの混焼率を減少させる第3混焼率調整制御を実行可能であると共に、
前記混焼率が30%以上60%以下の場合に、前記第1流量制御弁の弁開度の変化割合を前記第3基準変化割合よりも大きい第3変化割合で減少させると共に、前記第2流量制御弁の弁開度を前記第4基準変化割合よりも大きい第4変化割合で増加させて、前記混焼率を減少する第4混焼率調整制御を、前記停止時流量制御において実行する請求項1又は2に記載の燃焼装置。
発明の詳細な説明
【技術分野】
【0001】
本発明は、燃料ガスと、酸素を含む酸化剤とを混合して燃焼する燃焼装置に関する。
続きを表示(約 2,600 文字)
【背景技術】
【0002】
従来、地球温暖化等の環境問題に対応するべく、二酸化炭素が排出されない脱炭素燃焼技術として、燃料ガスとしてアンモニアガスを用いると共に酸化剤として燃焼用空気を用いるアンモニアバーナ及び燃焼炉が知られている(特許文献1を参照)。
アンモニアは、最小着火エネルギーが170mJと比較的大きいと共に燃焼速度が7cm/sと比較的遅く、所謂、難燃性で着火し難い特徴を有する。また、悪臭防止法にて排出基準が設けられている、特定悪臭物質に分類される。
このため、特にバーナの燃焼停止時に未燃のアンモニアが、バーナや燃焼炉の外部へ漏洩しないことが重要である。
【0003】
そこで、燃料ガスが通流する燃料ガス通流配管を、窒素ガスを通流する窒素パージを行うことにより、燃料ガス通流配管における逆火を防止する技術が知られている(特許文献2を参照)。当該特許文献2に開示の技術は、燃料ガス通流配管の途中に、パージ用の窒素ガス通流配管を連通接続すると共に当該窒素ガス通流配管を開閉する開閉弁を備え、パージが必要な場合に当該開閉弁を開放状態として、窒素ガスを燃料ガス通流配管に通流するパージ制御を実行可能に構成されている。
【先行技術文献】
【特許文献】
【0004】
特開2023-178082号公報
特開2019-168205号公報
【発明の概要】
【発明が解決しようとする課題】
【0005】
上記特許文献1に開示のバーナにおいて、上記特許文献2に開示される窒素ガスによるパージ制御を実行する構成が考えられるが、窒素ガスによるパージを行う場合、パージに用いる窒素は、燃焼に寄与しないにも関わらず、少なくともバーナの燃焼停止時に消費されるため、経済性の観点から改善の余地があった。また、窒素を供給するためには、窒素ボンベを用意する必要があるから、定期的なボンベの交換を要するため、運用における作業効率の観点からも改善の余地があった。
【0006】
本発明は、上述の課題に鑑みてなされたものであり、その目的は、燃料ガスとしてアンモニアを用いる場合に、外部へのアンモニアの排出量を十分に低減しながらも、経済性の向上及び運用における作業効率の向上を図り得る燃焼装置を提供することにある。
【課題を解決するための手段】
【0007】
上記目的を達成するための燃焼装置は、燃料ガスと、酸素を含む酸化剤とを混合した混合気を燃焼する燃焼装置であって、その特徴構成は、
前記燃料ガスとしてのメタンを主成分とする炭化水素ガスを通流する炭化水素ガス通流配管と、
前記燃料ガスとしてのアンモニアガスを通流するアンモニアガス通流配管と、
前記アンモニアガス通流配管を通流する前記アンモニアガスの流量を調整可能な第1流量制御弁と、前記炭化水素ガス通流配管を通流する前記炭化水素ガスの流量を調整可能な第2流量制御弁と、前記第1流量制御弁及び前記第2流量制御弁の弁開度を制御可能な制御装置とを備え、
前記炭化水素ガス通流配管は、前記アンモニアガス通流配管の前記第1流量制御弁の設置位置より下流側の下流側配管部位に対し、前記炭化水素ガスを通流可能な状態で連通接続されており、
前記制御装置は、燃焼停止前に、前記第1流量制御弁を閉止状態とすると共に前記第2流量制御弁を開放状態として、前記アンモニアガス通流配管の前記下流側配管部位の前記アンモニアガスを前記炭化水素ガスによりパージする炭化水素ガスパージ制御を実行する点にある。
【0008】
上記特徴構成によれば、記制御装置は、燃焼停止前に、第1流量制御弁を閉止状態とすると共に第2流量制御弁を開放状態として、アンモニアガス通流配管の下流側配管部位のアンモニアガスを炭化水素ガスによりパージする炭化水素ガスパージ制御を実行するから、例えば、燃焼停止後に、アンモニアガス通流配管にアンモニアが残留することを防止でき、当該アンモニアガス通流配管から、外部へ特定悪臭物質としてのアンモニアが排出されることを防止できる。
特に、当該炭化水素ガスパージ制御は、一般的なガス供給網にて供給可能な都市ガス13A等の炭化水素ガスによりパージするので、通常ボンベ等により供給される窒素によりパージする場合に比べて、ボンベの入れ替え作業等を省略でき、運用における作業効率の向上を図ることができると共に経済性の向上を図ることができる。
以上より、燃料ガスとしてアンモニアを用いる場合に、外部へのアンモニアの排出量を十分に低減しながらも、経済性の向上及び運用における作業効率の向上を図り得る燃焼装置を実現できる。
【0009】
燃焼装置の更なる特徴構成は、
前記混合気に点火する点火装置を備え、
前記制御装置は、前記点火装置による点火前から点火時までは、前記第1流量制御弁を閉止状態とすると共に前記第2流量制御弁を開放状態とし、前記点火装置による点火後は、前記第1流量制御弁の開度を徐々に増加すると共に前記第2流量制御弁の開度を徐々に低下する点火時燃料流量制御を実行する点にある。
【0010】
これまで説明してきたように、アンモニアは、最小着火エネルギーが170mJと比較的大きいと共に燃焼速度が7cm/sと比較的遅く、所謂、難燃性で着火し難い特徴を有するため、アンモニアガス単体では、点火時に失火が発生したり、燃焼が不安定化する虞がある。
上記特徴構成の如く、点火時燃料流量制御を実行することで、点火前から点火時までは、第1流量制御弁を閉止状態とすると共に第2流量制御弁を開放状態とするから、点火時には、炭化水素ガスを燃料ガスとする混合気に点火することができる。これにより、点火時に失火が発生したり、燃焼が不安定化したりすることを防止できる。
更に、点火後には、燃料ガスにおけるアンモニアガスの割合を徐々に増加するから、瞬間的に炭化水素ガスから水素ガスへ切り換える場合に比べ、失火や燃焼不安定化が生じるリスクを十分に低減できる。
(【0011】以降は省略されています)
この特許をJ-PlatPat(特許庁公式サイト)で参照する
関連特許
大阪瓦斯株式会社
燃焼装置
1日前
大阪瓦斯株式会社
管理システム
1日前
大阪瓦斯株式会社
警報システム
1日前
大阪瓦斯株式会社
警報システム
1日前
大阪瓦斯株式会社
音声出力装置
1日前
大阪瓦斯株式会社
シトクロムcペルオキシダーゼの製造方法
2日前
他の特許を見る