TOP
|
特許
|
意匠
|
商標
特許ウォッチ
Twitter
他の特許を見る
10個以上の画像は省略されています。
公開番号
2025152832
公報種別
公開特許公報(A)
公開日
2025-10-10
出願番号
2024054953
出願日
2024-03-28
発明の名称
プログラム及び情報処理装置
出願人
株式会社セガ
代理人
個人
主分類
H04N
21/2543 20110101AFI20251002BHJP(電気通信技術)
要約
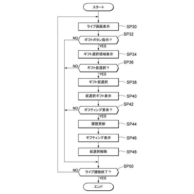
【課題】ギフティングのタイミングが重複したことによるユーザの失望感を軽減する。
【解決手段】プログラムがコンピュータを、各ユーザによるギフトのギフティングを管理する管理手段52、ユーザがギフトの対価を支払うギフティング要求をしたことに応じて、当該ギフトを動画に表示させる表示手段54、として機能させ、管理手段52は、所定時間内において二以上のユーザがギフティング要求をした場合、対価の一部又は全部を当該二以上のユーザそれぞれに返還する。
【選択図】図4
特許請求の範囲
【請求項1】
配信中の動画を視聴する各ユーザが、当該動画にギフトを表示させるギフティングを行うためのプログラムであって、
コンピュータを、
各ユーザによるギフトのギフティングを管理する管理手段、
前記ユーザがギフトの対価を支払うギフティング要求をしたことに応じて、当該ギフトを前記動画に表示させる表示手段、
として機能させ、
前記管理手段は、所定時間内において二以上のユーザが前記ギフティング要求をした場合、前記対価の一部又は全部を当該二以上のユーザそれぞれに返還する、
プログラム。
続きを表示(約 1,300 文字)
【請求項2】
前記管理手段は、前記所定時間内においてギフティング要求をしたユーザの数が多いほど、当該ユーザそれぞれに返還する対価を多くする、
請求項1に記載のプログラム。
【請求項3】
配信中の動画を視聴する各ユーザが、当該動画にギフトを表示させるギフティングを行うためのプログラムであって、
コンピュータを、
各ユーザによるギフトのギフティングを管理する管理手段、
前記ユーザがギフトの対価を支払うギフティング要求をしたことに応じて、当該ギフトを前記動画に表示させる表示手段、
として機能させ、
前記管理手段は、所定時間内において二以上のユーザが前記ギフティング要求をした場合、前記対価の一部又は全部を当該二以上のユーザの一部に返還する、
プログラム。
【請求項4】
前記管理手段は、前記所定時間内においてギフティング要求を行った二以上のユーザのうち、当該ギフティング要求において支払った対価が所定額以上のユーザに、前記対価の一部又は全部を返還する、
請求項3に記載のプログラム。
【請求項5】
前記管理手段は、前記所定時間内においてギフティング要求を行った二以上のユーザのうち、当該ギフティング要求において支払った対価が所定額未満のユーザに、前記対価の一部又は全部を返還する、
請求項3に記載のプログラム。
【請求項6】
前記管理手段は、前記所定時間内においてギフティング要求を行った二以上のユーザそれぞれが当該ギフティング要求において支払った対価の総額が一定額以上である場合に、前記対価の一部又は全部を返還する、
請求項1又は3に記載のプログラム。
【請求項7】
前記管理手段は、前記動画を視聴するユーザ数が一定数以上である場合に、前記対価の一部又は全部を返還する、
請求項1又は3に記載のプログラム。
【請求項8】
前記管理手段は、前記所定時間内において前記二以上のユーザが同じ対価を支払うギフティング要求をした場合に、前記対価の一部又は全部を返還する、
請求項1又は3に記載のプログラム。
【請求項9】
前記管理手段は、前記所定時間内において前記二以上のユーザが同じギフトに対するギフティング要求をした場合に、前記対価の一部又は全部を返還する、
請求項1又は3に記載のプログラム。
【請求項10】
配信中の動画を視聴する各ユーザが、当該動画にギフトを表示させるギフティングを行うための情報処理装置であって、
各ユーザによるギフトのギフティングを管理する管理手段と、
前記ユーザがギフトの対価を支払うギフティング要求をしたことに応じて、当該ギフトを前記動画に表示させる表示手段と、
を備え、
前記管理手段は、所定時間内において二以上のユーザが前記ギフティング要求をした場合、前記対価の一部又は全部を当該二以上のユーザそれぞれに返還する、
情報処理装置。
(【請求項11】以降は省略されています)
発明の詳細な説明
【技術分野】
【0001】
本発明は、プログラム及び情報処理装置に関する。
続きを表示(約 1,200 文字)
【0002】
従来から、複数のユーザに対して動画を配信する動画配信システムが知られている。
【0003】
これに関し、特許文献1には、動画を視聴しているユーザ(プレイヤ)が、演者オブジェクトがいるステージエリアに向かって、購入したアイテムを投げる(ギフティングする)ことができる技術が開示されている。
【先行技術文献】
【特許文献】
【0004】
特開2023-092332号公報
【発明の概要】
【発明が解決しようとする課題】
【0005】
このような技術において、動画を視聴しているユーザがギフティングした場合、当該ギフティングのタイミングが別のユーザと重複してしまい、演者オブジェクト又は他のユーザに当該ギフティングが認識されない場合があった。
【0006】
本発明はこのような課題に鑑みてなされたものであり、その目的は、ギフティングのタイミングが重複したことによるユーザの失望感を軽減することができるプログラム及び情報処理装置を提供することにある。
【課題を解決するための手段】
【0007】
上記課題を解決するために、本発明の第一態様に係るプログラムは、配信中の動画を視聴する各ユーザが、当該動画にギフトを表示させるギフティングを行うためのプログラムであって、コンピュータを、各ユーザによるギフトのギフティングを管理する管理手段、前記ユーザがギフトの対価を支払うギフティング要求をしたことに応じて、当該ギフトを前記動画に表示させる表示手段、として機能させ、前記管理手段は、所定時間内において二以上のユーザが前記ギフティング要求をした場合、前記対価の一部又は全部を当該二以上のユーザそれぞれに返還する。
【0008】
また、本発明の第二態様では、前記管理手段は、前記所定時間内においてギフティング要求をしたユーザの数が多いほど、当該ユーザそれぞれに返還する対価を多くする。
【0009】
また、本発明の第三態様に係るプログラムは、配信中の動画を視聴する各ユーザが、当該動画にギフトを表示させるギフティングを行うためのプログラムであって、コンピュータを、各ユーザによるギフトのギフティングを管理する管理手段、前記ユーザがギフトの対価を支払うギフティング要求をしたことに応じて、当該ギフトを前記動画に表示させる表示手段、として機能させ、前記管理手段は、所定時間内において二以上のユーザが前記ギフティング要求をした場合、前記対価の一部又は全部を当該二以上のユーザの一部に返還する。
【0010】
また、本発明の第四態様では、前記管理手段は、前記所定時間内においてギフティング要求を行った二以上のユーザのうち、当該ギフティング要求において支払った対価が所定額以上のユーザに、前記対価の一部又は全部を返還する。
(【0011】以降は省略されています)
特許ウォッチbot のツイートを見る
この特許をJ-PlatPat(特許庁公式サイト)で参照する
関連特許
株式会社セガフェイブ
通信端末
1か月前
株式会社セガ
写真シール作成機
1か月前
株式会社セガ
写真シール作成機
1か月前
株式会社セガ
写真シール作成機
1か月前
株式会社セガフェイブ
装身具及びカチューシャ
9日前
株式会社セガフェイブ
通信端末及び通信システム
1か月前
株式会社セガ
プログラム及び情報処理装置
19日前
株式会社セガ
プログラム及び情報処理装置
8日前
株式会社セガ
プログラム及び情報処理装置
8日前
株式会社セガ
プログラム及び情報処理装置
8日前
株式会社セガ
プログラム及び情報処理装置
8日前
株式会社セガ
プログラム及び情報処理装置
1か月前
株式会社セガ
プログラム及び情報処理装置
19日前
株式会社セガ
プログラム及び情報処理装置
15日前
株式会社セガ
プログラム、及び、情報処理装置
8日前
株式会社セガ
プログラム、及び、情報処理装置
8日前
株式会社セガ
プログラム、及び、情報処理装置
8日前
株式会社セガ
店舗管理システム、管理者端末、及び作業者端末
11日前
株式会社セガ
画像処理装置
18日前
株式会社セガ
商品販売装置
1か月前
株式会社セガ
メダルゲーム機
15日前
株式会社セガ
遊戯画像撮影装置
1か月前
株式会社セガ
プログラム及び情報処理装置
1か月前
株式会社セガ
プログラム及び情報処理装置
1日前
株式会社セガ
プログラム及び情報処理装置
17日前
株式会社セガ
プログラム及び情報処理装置
29日前
株式会社セガ
プログラム及び情報処理装置
4日前
株式会社セガ
プログラム及び情報処理装置
11日前
株式会社セガ
プログラム及び情報処理装置
4日前
株式会社セガ
プログラム及び情報処理装置
4日前
株式会社セガ
プログラム、及び、情報処理装置
4日前
株式会社ダーツライブ
投擲ゲーム装置、情報処理装置、情報処理方法、及びプログラム
22日前
株式会社セガ
プログラム、情報処理装置、及び情報処理方法
1か月前
株式会社セガ
プログラム、情報処理装置、及び情報処理方法
1か月前
個人
監視カメラシステム
3日前
キーコム株式会社
光伝送線路
4日前
続きを見る
他の特許を見る