TOP
|
特許
|
意匠
|
商標
特許ウォッチ
Twitter
他の特許を見る
10個以上の画像は省略されています。
公開番号
2025153380
公報種別
公開特許公報(A)
公開日
2025-10-10
出願番号
2024055844
出願日
2024-03-29
発明の名称
コンピュータシステムおよびプログラム
出願人
株式会社バンダイナムコエンターテインメント
代理人
個人
,
個人
,
個人
主分類
A63F
13/67 20140101AFI20251002BHJP(スポーツ;ゲーム;娯楽)
要約
【課題】内容が様々に変化して飽きのこないコンテンツを実現する新たな技術を提供すること。
【解決手段】コンテンツ提供システムは、コンテンツの所与のプレイデータ700に応じてアレンジ情報を生成するように学習されたアレンジ情報生成AI(Artificial Intelligence)20を有する。コンテンツ提供システムは、ユーザのプレイデータ700をアレンジ情報生成AI20へ入力することで生成アレンジ情報770を取得し、当該生成アレンジ情報に基づいて適用コンテンツデータ730を変更・アレンジして、コンテンツの実行を制御する。
【選択図】図3
特許請求の範囲
【請求項1】
ユーザによってプレイされるコンテンツを所与のアレンジ情報に基づいてアレンジして実行制御するコンピュータシステムであって、
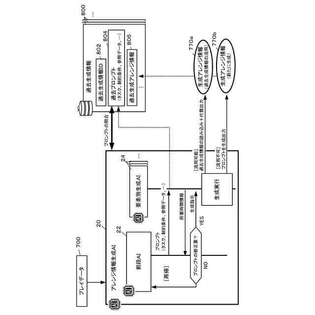
前記コンテンツの所与のプレイデータに応じて前記アレンジ情報を生成するように学習されたアレンジ情報生成AI(Artificial Intelligence)に、前記ユーザの前記プレイデータを入力することで生成アレンジ情報を取得する生成アレンジ情報取得制御手段と、
前記生成アレンジ情報に基づいてアレンジした前記コンテンツの実行を制御することで前記ユーザへのコンテンツ提供制御を実行するコンテンツ提供制御手段と、
を備えるコンピュータシステム。
続きを表示(約 1,700 文字)
【請求項2】
前記コンテンツは、所与のコンテンツセットアップ情報に基づいて可変にセットアップして実行され、
前記アレンジ情報は、前記コンテンツの標準的な実行制御に係る標準セットアップ情報に対する変更情報であり、
前記コンテンツ提供制御手段は、前記標準セットアップ情報を前記生成アレンジ情報に基づいて変更することで前記コンテンツセットアップ情報を決定し、当該決定したコンテンツセットアップ情報に基づいて前記コンテンツをセットアップして実行制御する、
請求項1に記載のコンピュータシステム。
【請求項3】
前記コンテンツセットアップ情報は、セットアップ要素毎のセットアップ要素情報を含み、
前記アレンジ情報は、前記標準セットアップ情報に対する変更対象セットアップ要素毎のアレンジ要素情報を含み、
前記アレンジ情報生成AIは、
前記セットアップ要素別に、当該セットアップ要素の前記アレンジ要素情報を所与のアレンジ内容に基づいて生成する要素別生成AIと、
前記プレイデータに基づいて、前記変更対象セットアップ要素と前記アレンジ内容とを決定し、当該変更対象セットアップ要素に対応する前記要素別生成AIに当該アレンジ内容に基づく前記アレンジ要素情報を生成させる生成指示の制御を行う前段AIと、
を有し、
前記コンテンツ提供制御手段は、前記生成アレンジ情報に含まれる前記変更対象セットアップ要素毎の前記アレンジ要素情報に基づいて前記セットアップ要素毎の前記セットアップ要素情報を決定して前記コンテンツをセットアップする、
請求項2に記載のコンピュータシステム。
【請求項4】
前記要素別生成AIは、前記プレイデータおよび前記アレンジ内容に応じて前記アレンジ要素情報を生成するように学習されたAIである、
請求項3に記載のコンピュータシステム。
【請求項5】
前記コンテンツは、ゲームコンテンツであり、
前記セットアップ要素は、ゲームステージ、ゲームシナリオ、クエスト、アイテム出現、出現するアイテムのパラメータ、アイテムショップ、登場キャラクタ、登場するキャラクタのパラメータ、のうちの何れかを含む、
請求項3に記載のコンピュータシステム。
【請求項6】
前記セットアップ要素は、アイテム出現を含み、
前記セットアップ要素情報は、出現するアイテムの種類、出現する確率、入手方法の何れかを含む、
請求項5に記載のコンピュータシステム。
【請求項7】
前記セットアップ要素情報は、出現するアイテム毎の確率を含み、
前記確率を前記ユーザに提示する制御を行う出現確率提示制御手段、
を更に備える請求項6に記載のコンピュータシステム。
【請求項8】
前記セットアップ要素は、アイテムショップを含み、
前記セットアップ要素情報は、販売されるアイテムの種類、数量、対価の何れかを含む、
請求項5に記載のコンピュータシステム。
【請求項9】
前記アレンジ情報生成AIは、複数種類があり、
前記複数種類のアレンジ情報生成AIのうちから適用AIを選択する適用AI選択手段、
を更に備え、
前記生成アレンジ情報取得制御手段は、前記適用AIに前記ユーザの前記プレイデータを入力することで前記生成アレンジ情報を取得する、
請求項1に記載のコンピュータシステム。
【請求項10】
前記前段AIは、複数種類があり、
前記複数種類の前段AIのうちから適用AIを選択する適用AI選択手段、
を更に備え、
前記生成アレンジ情報取得制御手段は、前記適用AIに前記ユーザの前記プレイデータを入力することで前記生成アレンジ情報を取得する、
請求項3に記載のコンピュータシステム。
(【請求項11】以降は省略されています)
発明の詳細な説明
【技術分野】
【0001】
本発明は、コンピュータシステム等に関する。
続きを表示(約 1,800 文字)
【背景技術】
【0002】
AI(Artificial Intelligence)モデルの技術発達が著しく、AIモデルをビデオゲームにおいて利用する技術が様々に考案されている。
例えば、特許文献1には、ゲーム状態情報を入力し、ゲーム内で取るべき行動を示す行動情報を出力する教師データで学習済みの深層学習モデルを用いる技術が記載されている。また、特許文献2には、シナリオの複数のゲームプレイから収集された訓練状態データと、複数のゲームプレイのそれぞれの関連する成功基準とを使用して、ゲームアプリケーションのシナリオの複数のゲームプレイからAIモデルを訓練する技術が記載されている。
【先行技術文献】
【特許文献】
【0003】
国際公開第2021/049254号
特開2022-033164号公報
【発明の概要】
【発明が解決しようとする課題】
【0004】
従来、ビデオゲームは、ゲームメーカが予め用意したデータの範囲内で実行されるので、ゲーム内容は基本的には変化しなかった。ゲーム内容の多様化のために用意されている幾つかの変化する要素については、一見、ゲーム内容が変化するかのようにも考えられるが、その変化する内容が、予めゲームメーカによって予め定められているものであった。
【0005】
例えば、プレイ開始前にプレイヤーがゲーム難易度を選択すると、敵NPC(Non-Player Character)の強さは、選択されたゲーム難易度に合わせて設定されるため、一見すると変化しているように考えられるが、選択可能なゲーム難易度は予め用意されているものである。そのため、予め設計されている範囲内で変化しているに過ぎなかった。また、プレイヤーの行動やゲーム成績に応じて、ボスキャラクタに辿り着くまでのシナリオが分岐しルートが変化するゲームも知られているが、シナリオの変化もルートの内容も予め用意されている範囲に限られている。俗に言う「やりこみ要素」であっても、予めゲームメーカにより用意されている範囲に限られていた。
【0006】
ゲームの内容が基本的に変化しないことは、ゲーム攻略をする上では好都合でもあった。ゲームの内容が基本的に変化しなければこそ、プレイヤーは前回までのプレイ経験を元に次にどのように攻略するかを考案することができる。しかし、ゲームを攻略し終えたプレイヤーにとっては、ゲーム難易度を変えてプレイしたり、登場するアイテムの収集やクエストの全制覇といった「やりこみ」を目的にプレイするとしても、同じゲーム内容を反復することになっていた。
【0007】
なお、これらの問題は、ビデオゲームに限らず、仮想空間での仮想体験をプレイヤーに提供する仮想体験コンテンツにおいても同様である。
【0008】
本発明が解決しようとする課題は、内容が様々に変化して飽きのこないコンテンツを実現する新たな技術を提供すること、である。
【課題を解決するための手段】
【0009】
上記の課題を解決するための第1の発明は、ユーザによってプレイされるコンテンツを所与のアレンジ情報に基づいてアレンジして実行制御するコンピュータシステムであって、
前記コンテンツの所与のプレイデータに応じて前記アレンジ情報を生成するように学習されたアレンジ情報生成AI(Artificial Intelligence)に、前記ユーザの前記プレイデータを入力することで生成アレンジ情報を取得する生成アレンジ情報取得制御手段(例えば、図11の生成アレンジ情報取得制御部210、図15のステップS82)と、
前記生成アレンジ情報に基づいてアレンジした前記コンテンツの実行を制御することで前記ユーザへのコンテンツ提供制御を実行するコンテンツ提供制御手段(例えば、図11のコンテンツ提供制御部222、図14のステップS18、図15のステップS64、ステップS84)と、を備えるコンピュータシステムである。
【0010】
第1の発明によれば、コンピュータシステムは、アレンジ情報生成AIから生成アレンジ情報を取得して、コンテンツの内容を変化させることが可能になる。内容が様々に変化して飽きのこないコンテンツを実現することが可能になる。
(【0011】以降は省略されています)
この特許をJ-PlatPat(特許庁公式サイト)で参照する
関連特許
個人
玩具
3か月前
個人
玩具
1か月前
個人
自走玩具
24日前
個人
ゲーム玩具
4か月前
個人
運動補助具
2か月前
個人
フィギュア
8か月前
個人
玩具
8か月前
個人
盤上遊戯具
8か月前
個人
打撃練習用具
4日前
株式会社三共
遊技機
6か月前
株式会社三共
遊技機
6か月前
株式会社三共
遊技機
6か月前
株式会社三共
遊技機
6か月前
株式会社三共
遊技機
6か月前
株式会社三共
遊技機
6か月前
株式会社三共
遊技機
6か月前
株式会社三共
遊技機
6か月前
株式会社三共
遊技機
6か月前
株式会社三共
遊技機
6か月前
株式会社三共
遊技機
6か月前
株式会社三共
遊技機
6か月前
株式会社三共
遊技機
6か月前
株式会社三共
遊技機
6か月前
株式会社三共
遊技機
6か月前
株式会社三共
遊技機
6か月前
株式会社三共
遊技機
6か月前
株式会社三共
遊技機
6か月前
株式会社三共
遊技機
6か月前
株式会社三共
遊技機
6か月前
株式会社三共
遊技機
6か月前
株式会社三共
遊技機
6か月前
株式会社三共
遊技機
6か月前
株式会社三共
遊技機
6か月前
株式会社三共
遊技機
6か月前
株式会社三共
遊技機
6か月前
株式会社三共
遊技機
6か月前
続きを見る
他の特許を見る