TOP
|
特許
|
意匠
|
商標
特許ウォッチ
Twitter
他の特許を見る
10個以上の画像は省略されています。
公開番号
2025153382
公報種別
公開特許公報(A)
公開日
2025-10-10
出願番号
2024055846
出願日
2024-03-29
発明の名称
コンピュータシステムおよびプログラム
出願人
株式会社バンダイナムコエンターテインメント
代理人
個人
,
個人
,
個人
主分類
A63F
13/60 20140101AFI20251002BHJP(スポーツ;ゲーム;娯楽)
要約
【課題】AIの利用に伴うコストを低減する新たな技術を提供すること。
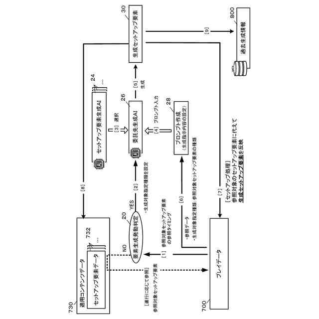
【解決手段】サーバシステムは、コンテンツのセットアップ要素を生成するセットアップ要素生成AI24で生成させた生成セットアップ要素30をコンテンツ(適用コンテンツデータ730、プレイデータ700)に適用するセットアップ処理を施して当該コンテンツをユーザに提供する。サーバシステムは、プロンプト作成28を実行する際に、セットアップ要素生成AI24それぞれの生成実行状況情報742に基づいてそれぞれの生成実行状況に応じたプロンプトを作成する。
【選択図】図6
特許請求の範囲
【請求項1】
コンテンツのセットアップ要素を生成するセットアップ要素生成AI(Artificial Intelligence)を有する生成部から取得した生成セットアップ要素を前記コンテンツに適用するセットアップ処理を施して当該コンテンツをユーザに提供するコンピュータシステムであって、
前記生成部は、前記セットアップ要素生成AIの生成実行状況情報を出力し、
前記生成部への生成指示内容を前記生成実行状況情報に基づいて決定する生成指示内容決定手段と、
前記生成指示内容を前記生成部に与えることで前記生成セットアップ要素を取得し、当該生成セットアップ要素を適用する前記セットアップ処理を施した前記コンテンツを前記ユーザへ提供するコンテンツ提供制御手段と、
を備えるコンピュータシステム。
続きを表示(約 1,500 文字)
【請求項2】
前記生成指示内容決定手段は、前記ユーザによる前記コンテンツのユーザプレイデータに基づいて前記生成指示内容を決定するとともに、前記生成実行状況情報に基づいて、決定する当該生成指示内容の質又は量の程度を変更する、
請求項1に記載のコンピュータシステム。
【請求項3】
前記生成指示内容は、所与の参照データと所与の考慮要望データとを含み、
前記生成指示内容決定手段は、前記ユーザによる前記コンテンツのユーザプレイデータおよび/又は前記ユーザのユーザデータに基づいて前記参照データおよび前記考慮要望データを決定するとともに、前記生成実行状況情報に基づいて、当該参照データに含めるデータ種類又はデータ量を変更する、
請求項1に記載のコンピュータシステム。
【請求項4】
前記生成指示内容は、所与の参照データと所与の考慮要望データとを含み、
前記生成指示内容決定手段は、前記ユーザによる前記コンテンツのユーザプレイデータおよび/又は前記ユーザのユーザデータに基づいて前記参照データおよび前記考慮要望データを決定するとともに、前記生成実行状況情報に基づいて、当該考慮要望データが示す要望の程度を変更する、
請求項1に記載のコンピュータシステム。
【請求項5】
前記コンテンツ提供制御手段は、前記生成指示内容決定手段により決定された生成指示内容を前記生成部に与えることで取得した前記生成セットアップ要素が、所与の許容条件を満たすか否かを判定し、満たさない場合に前記生成指示内容決定手段に新たな前記生成指示内容を決定させ、当該新たな生成指示内容を前記生成部に与えることで新たな生成セットアップ要素を取得する制御を行う、
請求項1に記載のコンピュータシステム。
【請求項6】
過去に取得した過去生成セットアップ要素を含む過去生成情報を記憶する制御を行う過去生成情報記憶制御手段、
を更に備え、
前記コンテンツ提供制御手段は、前記生成指示内容を前記生成部に与えて生成セットアップ要素を取得する代わりに、前記過去生成セットアップ要素を前記過去生成情報から代替取得する制御を行う、
請求項1に記載のコンピュータシステム。
【請求項7】
過去に取得した過去生成セットアップ要素を含む過去生成情報を記憶する制御を行う過去生成情報記憶制御手段、
を更に備え、
前記生成指示内容は、生成対象指定データを含み、
前記コンテンツ提供制御手段は、前記生成指示内容に含まれる前記生成対象指定データに基づいて、前記生成部から生成セットアップ要素を取得するか、前記過去生成セットアップ要素を前記過去生成情報から代替取得するか、の制御を行う、
請求項1に記載のコンピュータシステム。
【請求項8】
前記コンテンツ提供制御手段は、前記生成実行状況情報を参照して、前記生成部から生成セットアップ要素を取得するか、前記過去生成セットアップ要素を前記過去生成情報から代替取得するか、の制御を行う、
請求項6又は7に記載のコンピュータシステム。
【請求項9】
前記生成実行状況情報は、生成コスト情報を少なくとも含む、
請求項1に記載のコンピュータシステム。
【請求項10】
前記生成コスト情報は、生成の所要時間の情報を少なくとも含む、
請求項9に記載のコンピュータシステム。
(【請求項11】以降は省略されています)
発明の詳細な説明
【技術分野】
【0001】
本発明は、コンピュータシステム等に関する。
続きを表示(約 1,800 文字)
【背景技術】
【0002】
AI(Artificial Intelligence)モデルの技術発達が著しく、AIモデルをビデオゲームにおいて利用する技術が様々に考案されている。例えば、特許文献1には、シナリオの複数のゲームプレイから収集された訓練状態データと、複数のゲームプレイのそれぞれの関連する成功基準とを使用して、ゲームアプリケーションのシナリオの複数のゲームプレイからAIモデルを訓練する技術が記載されている。
【先行技術文献】
【特許文献】
【0003】
特開2022-033164号公報
【発明の概要】
【発明が解決しようとする課題】
【0004】
ビデオゲームにおけるAIの利用形態の1つとして、ゲームで使用する画像、アイテム、キャラクタ、会話、シナリオなどといったゲーム内容をセットアップするためのセットアップ要素を、AIに生成させることが考えられる。しかし、AIの利用には、生成に要する時間や、生成処理に使用する演算リソース、利用料金などといったコストが発生する。ゲームで使用するセットアップ要素の種類は多種多様であり、AIを利用するに当たってのコスト低減は重要な課題である。
【0005】
なお、これらの問題は、ビデオゲームに限らず、仮想空間での仮想体験をプレイヤーに提供する仮想体験コンテンツにおいてAIを利用する場合も同様である。
【0006】
本発明が解決しようとする課題は、AIの利用に伴うコストを低減する新たな技術を提供すること、である。
【課題を解決するための手段】
【0007】
上記の課題を解決するための第1の発明は、コンテンツのセットアップ要素を生成するセットアップ要素生成AI(Artificial Intelligence)を有する生成部(例えば、図13の生成部230、図17のステップS100)、から取得した生成セットアップ要素を前記コンテンツに適用するセットアップ処理を施して当該コンテンツをユーザに提供するコンピュータシステムであって、
前記生成部は、前記セットアップ要素生成AIの生成実行状況情報を出力し(例えば、図15のステップS12)、
前記生成部への生成指示内容(例えば、図6のプロンプト)を前記生成実行状況情報に基づいて決定する生成指示内容決定手段(例えば、図13の生成指示内容決定部216、図15のステップS54、図16のステップS70からステップS78)と、
前記生成指示内容を前記生成部に与えることで前記生成セットアップ要素を取得し、当該生成セットアップ要素を適用する前記セットアップ処理を施した前記コンテンツを前記ユーザへ提供するコンテンツ提供制御手段(例えば、図13のコンテンツ提供制御部250、図15のステップS16、図17のステップS102およびステップS104)と、
を備えるコンピュータシステムである。
【0008】
「生成実行状況情報」は、例えば、セットアップ要素生成AIの「忙しさ」を示す。生成指示内容が、複雑で制約条件が多いほど生成コストが高くなり易い。
第1の発明によれば、コンピュータシステムは、セットアップ要素生成AIの生成実行状況に基づいて生成指示内容を生成し、生成セットアップ要素を取得することが可能になる。よって、セットアップ要素生成AIの「忙しさ」に基づいて生成指示内容を生成し、そのセットアップ要素生成AIへ与えることで、生成コストを抑制することが可能になる。
【0009】
第2の発明は、上記のコンピュータシステムにおいて、前記生成指示内容決定手段は、前記ユーザによる前記コンテンツのユーザプレイデータ(例えば、図4のプレイデータ700)に基づいて前記生成指示内容を決定するとともに(例えば、図15のステップS54)、前記生成実行状況情報に基づいて、決定する当該生成指示内容の質又は量の程度を変更する(例えば、図6のプロンプトの修正、図16のステップS78)、コンピュータシステムである。
【0010】
第2の発明によれば、コンピュータシステムは、ユーザプレイデータと生成実行状況情報とに基づいて生成指示内容の質又は量の程度を決定・変更することが可能になる。
(【0011】以降は省略されています)
この特許をJ-PlatPat(特許庁公式サイト)で参照する
関連特許
個人
玩具
1か月前
個人
玩具
3か月前
個人
自走玩具
1か月前
個人
ゲーム玩具
5か月前
個人
運動補助具
2か月前
個人
打撃練習用具
10日前
株式会社三共
遊技機
6か月前
株式会社三共
遊技機
6か月前
株式会社三共
遊技機
6か月前
株式会社三共
遊技機
6か月前
株式会社三共
遊技機
6か月前
株式会社三共
遊技機
6か月前
株式会社三共
遊技機
6か月前
株式会社三共
遊技機
6か月前
株式会社三共
遊技機
6か月前
株式会社三共
遊技機
6か月前
株式会社三共
遊技機
6か月前
株式会社三共
遊技機
6か月前
株式会社三共
遊技機
6か月前
株式会社三共
遊技機
6か月前
株式会社三共
遊技機
6か月前
株式会社三共
遊技機
6か月前
株式会社三共
遊技機
6か月前
株式会社三共
遊技機
6か月前
株式会社三共
遊技機
6か月前
株式会社三共
遊技機
6か月前
株式会社三共
遊技機
6か月前
株式会社三共
遊技機
6か月前
株式会社三共
遊技機
6か月前
株式会社三共
遊技機
6か月前
株式会社三共
遊技機
6か月前
株式会社三共
遊技機
6か月前
株式会社三共
遊技機
6か月前
株式会社三共
遊技機
6か月前
株式会社三共
遊技機
6か月前
株式会社三共
遊技機
6か月前
続きを見る
他の特許を見る