TOP
|
特許
|
意匠
|
商標
特許ウォッチ
Twitter
他の特許を見る
10個以上の画像は省略されています。
公開番号
2025158973
公報種別
公開特許公報(A)
公開日
2025-10-17
出願番号
2025080584,2024060959
出願日
2025-05-13,2024-04-04
発明の名称
玩具
出願人
株式会社バンダイ
代理人
弁理士法人大塚国際特許事務所
主分類
A63H
33/00 20060101AFI20251009BHJP(スポーツ;ゲーム;娯楽)
要約
【課題】本発明は、例えば、収容する部品を搬送して排出する玩具において、部品の詰まりを好適に解消し得る新規な仕組みを提供する。
【解決手段】本玩具は、部品を収容可能な収容部を有する第1部分101と、第1部分101から供給される部品を搬送し、排出口105に接続された糸部材へ部品を案内する第2部分102とを備え、第1部分101と第2部分102とは取り外し可能である。
【選択図】図2B
特許請求の範囲
【請求項1】
玩具であって、
部品を収容可能な収容部を有する第1部分と、
前記第1部分から供給される部品を搬送し、排出口に接続された糸部材へ部品を案内する第2部分と
を備え、
前記第1部分と前記第2部分とは取り外し可能であることを特徴とする玩具。
続きを表示(約 1,000 文字)
【請求項2】
前記第1部分は複数の収容部を有し、前記複数の収容部はそれぞれが異なる部品を収容可能であることを特徴とする請求項1に記載の玩具。
【請求項3】
前記異なる部品には、前記糸部材に挿通されるための挿通孔が形成され、形状及びサイズの少なくとも一方が互いに異なる部品が含まれることを特徴とする請求項2に記載の玩具。
【請求項4】
前記異なる部品には、球体形状の部品及び四面体形状の部品の少なくとも1つが含まれることを特徴とする請求項3に記載の玩具。
【請求項5】
前記第1部分は、
前記複数の収容部と、
前記複数の収容部が回転可能に連結され、該複数の収容部の何れかから収容されている部品を供給する供給部と、
前記供給部によって供給された部品を第2部分へ搬送するとともに、該部品の向きを調整する誘導部と
を備えることを特徴とする請求項3に記載の玩具。
【請求項6】
前記第2部分は、
前記誘導部から向きが調整されて案内された部品の前記挿通孔に一端が挿入され、他端が前記排出口まで延びた線状部材と、
前記線状部材が巻かれる円柱部材と、
前記円柱部材から延伸した接続部と
を備えることを特徴とする請求項5に記載の玩具。
【請求項7】
前記第1部分は内部に貫通した開口部を有し、
前記第2部分の前記接続部は前記開口部を通過して第1操作部材へ接続されることを特徴とする請求項6に記載の玩具。
【請求項8】
前記第1操作部材を回転操作することにより、前記接続部が回転し、それに伴って前記誘導部及び第2部分が振動し、前記部品が搬送されることを特徴とする請求項7に記載の玩具。
【請求項9】
前記誘導部は、前記異なる部品に含まれる最大サイズの部品を搬送可能なサイズに調整して形成されることを特徴とする請求項5乃至8の何れか1項に記載の玩具。
【請求項10】
前記供給部は、押し込み可能な第2操作部材を有し、
前記複数の収容部のそれぞれは前記供給部に対して回転させることにより、前記第2操作部材の近傍へ回転させることができ、
前記第2操作部材を操作することにより、前記複数の収容部のうち該第2操作部材の近傍に位置する収容部から部品が供給されることを特徴とする請求項5に記載の玩具。
(【請求項11】以降は省略されています)
発明の詳細な説明
【技術分野】
【0001】
本発明は、玩具に関する。
続きを表示(約 1,500 文字)
【背景技術】
【0002】
複数のビーズ(部品)を糸に通してアクセサリを製作する玩具が知られている。例えば、特許文献1には、収容したビーズを排出口へ排出し、排出口から排出されたビーズを糸へ案内して通すビーズ通し玩具が提案されている。
【先行技術文献】
【特許文献】
【0003】
登録実用新案第3164961号公報
【発明の概要】
【発明が解決しようとする課題】
【0004】
ビーズには挿通孔が貫通孔として形成され、当該挿通孔に糸を通すことでアクセサリが製作される。したがって、玩具内でビーズを収容する部分から排出口まで搬送する経路においてビーズの向きを規制し、排出口において挿通孔が糸へ挿通するようにビーズを搬送する必要がある。ビーズを搬送する経路はビーズのサイズや形状に合わせて、搬送中にビーズが斜行しないようなサイズや形状で形成される。上記従来技術では、ビーズ等の部品が搬送経路において詰まった場合には、玩具全体を振るか、或いは玩具を分解するなどして詰まりを解消する必要があり手間となっていた。
【0005】
本発明は、例えば、収容する部品を搬送して排出する玩具において、部品の詰まりを好適に解消し得る新規な仕組みを提供する。
【課題を解決するための手段】
【0006】
本発明は、例えば、玩具であって、部品を収容可能な収容部を有する第1部分と、前記第1部分から供給される部品を搬送し、排出口に接続された糸部材へ部品を案内する第2部分とを備え、前記第1部分と前記第2部分とは取り外し可能である。
【発明の効果】
【0007】
本発明によれば、例えば、収容する部品を搬送して排出する玩具において、部品の詰まりを好適に解消し得る新規な仕組みを提供することができる。
【図面の簡単な説明】
【0008】
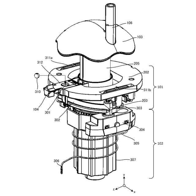
一実施形態に係る玩具の外観正面の一例を示す図。
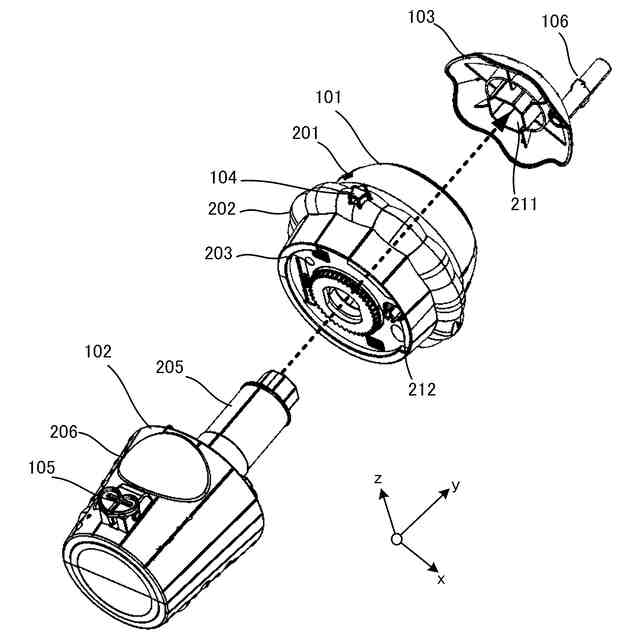
一実施形態に係る玩具を分解した(a)正面図、及び(b)斜視図。
一実施形態に係る玩具を分解した斜視図。
一実施形態に係る玩具の内部構造を示す斜視図。
一実施形態に係る第1部分及び第2部分の詳細な内部構造を示す正面図。
一実施形態に係る処理部の詳細な内部構造を示す側面図。
一実施形態に係る第1部分の(a)正面図、(b)平面図、及び(c)分解斜視図。
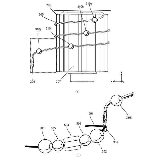
一実施形態に係る第1部分の収容部の一部を示す図。
一実施形態に係る留め具の構成を示す図。
一実施形態に係る留め具の使用例を示す図。
【発明を実施するための形態】
【0009】
以下、添付図面を参照して実施形態を詳しく説明する。尚、以下の実施形態は特許請求の範囲に係る発明を限定するものではなく、また実施形態で説明されている特徴の組み合わせの全てが発明に必須のものとは限らない。実施形態で説明されている複数の特徴うち二つ以上の特徴が任意に組み合わされてもよい。また、同一若しくは同様の構成には同一の参照番号を付し、重複した説明は省略する。
【0010】
<玩具の外観>
まず図1を参照して、本実施形態に係る玩具100の外観構成の一例について説明する。図1は玩具100の外観正面を示す。なお、x,y,zの矢印はそれぞれ玩具における上、左、前方向の向きを示し、他の図面についても同様である。
(【0011】以降は省略されています)
この特許をJ-PlatPat(特許庁公式サイト)で参照する
関連特許
個人
玩具
4か月前
個人
玩具
1か月前
個人
自走玩具
1か月前
個人
運動補助具
3か月前
個人
ゲーム玩具
5か月前
個人
打撃練習用具
14日前
株式会社三共
遊技機
3か月前
株式会社三共
遊技機
6か月前
株式会社三共
遊技機
6か月前
株式会社三共
遊技機
6か月前
株式会社三共
遊技機
6か月前
株式会社三共
遊技機
6か月前
株式会社三共
遊技機
6か月前
株式会社三共
遊技機
6か月前
株式会社三共
遊技機
6か月前
株式会社三共
遊技機
6か月前
株式会社三共
遊技機
6か月前
株式会社三共
遊技機
6か月前
株式会社三共
遊技機
6か月前
株式会社三共
遊技機
6か月前
株式会社三共
遊技機
6か月前
株式会社三共
遊技機
6か月前
株式会社三共
遊技機
6か月前
株式会社三共
遊技機
6か月前
株式会社三共
遊技機
6か月前
株式会社三共
遊技機
6か月前
株式会社三共
遊技機
6か月前
株式会社三共
遊技機
6か月前
株式会社三共
遊技機
6か月前
株式会社三共
遊技機
6か月前
株式会社三共
遊技機
6か月前
株式会社三共
遊技機
6か月前
株式会社三共
遊技機
6か月前
株式会社三共
遊技機
6か月前
株式会社三共
遊技機
6か月前
株式会社三共
遊技機
6か月前
続きを見る
他の特許を見る