TOP
|
特許
|
意匠
|
商標
特許ウォッチ
Twitter
《公報を最速で反映》特許検索
最新の12か月分 188,776件
0.91秒
主分類 絞込み
G(物理学)
56,294
H(電気)
36,361
A(生活必需品)
31,130
B(処理操作;運輸)
28,437
C(化学;冶金)
17,490
さらに表示..
出願人 絞込み
ソフトバンクグループ株式会社
13,908
トヨタ自動車株式会社
6,432
キヤノン株式会社
5,428
個人
3,721
株式会社三共
2,656
さらに表示..
代理人 絞込み
個人
89,379
なし
12,240
弁理士法人酒井国際特許事務所
11,798
弁理士法人太陽国際特許事務所
10,522
弁理士法人ITOH
2,141
さらに表示..
公開日 絞込み
2026-04-17(金)
578
2026-04-16(木)
657
2026-04-15(水)
537
2026-04-14(火)
972
2026-04-13(月)
665
さらに表示..
30,913 / 188,776
ストライカー コーポレイション
患者支援装置及び医療機器ネットワーク
1か月前
フィリップ・モーリス・プロダクツ・ソシエテ・アノニム
ホルダー
1か月前
日本電気株式会社
方法、無線アクセスネットワークノード、およびユーザ機器
1か月前
アルゴケア コーポレイション
剤形カートリッジ組立体及びそれを備える剤形ディスペンサ
1か月前
ポスコ カンパニー リミテッド
加工性に優れた高強度鋼板及びその製造方法
1か月前
トニックス ファーマ リミテッド
標識オキシトシンならびに製造および使用の方法
1か月前
トニックス ファーマ リミテッド
標識オキシトシンならびに製造および使用の方法
1か月前
シラグ・ゲーエムベーハー・インターナショナル
モジュール式エネルギーシステムを介した外科手順化
1か月前
株式会社リコー
遠隔監視システム、情報処理装置、プログラムおよびアダプタ装置
1か月前
ラム リサーチ コーポレーション
ラジカルおよび前駆体ガスを下流チャンバに供給して遠隔プラズマ膜蒸着を可能にするための温度制御を備えた統合シャワーヘッド
1か月前
ホーチキ株式会社
火災報知設備
1か月前
深せん麦克韋爾科技有限公司
エアロゾル生成装置、その制御方法と制御装置、及び読み取り可能な記録媒体
1か月前
ライジェル ファーマシューティカルズ, インコーポレイテッド
RIPK1阻害剤の結晶形態
1か月前
ターンズ・インコーポレイテッド
THRΒ受容体アゴニスト化合物、およびその製造方法および使用
1か月前
株式会社リコー
情報処理装置、情報処理システム、情報処理方法およびプログラム
1か月前
東芝情報システム株式会社
異物出現監視処理装置及び異物出現監視処理方法
1か月前
プロマクソ インコーポレイテッド
片面磁気共鳴撮像のための無線周波数受信コイルネットワーク
1か月前
セリバ・バイオロジクス・インコーポレイテッド
移植片対宿主病の処置のためのβ-ラクタマーゼ組成物
1か月前
株式会社セガ
景品取得ゲーム装置
1か月前
ハイット プライベート リミテッド
性的刺激装置
1か月前
テイ・エス テック株式会社
サービス提供装置
1か月前
42ドット・インコーポレイテッド
地図修正データの共有方法および装置
1か月前
ベイ マテリアルズ エルエルシー
二重シェル歯科装置及び材料構造
1か月前
旭化成エレクトロニクス株式会社
赤外線センサ
1か月前
株式会社東京精密
ウエハ搬送方法
1か月前
株式会社ニコン
眼科装置及び眼科用光学系
1か月前
Astemo株式会社
状態判定装置
1か月前
華為技術有限公司
バッファ報告送信および受信方法ならびに装置
1か月前
華為技術有限公司
ピクチャーレベルでの非ピクチャーレベルの構文要素のシグナリング
1か月前
デンカ株式会社
簡易鼻腔粘膜表面付着粘液の採取方法および該検体中の被検出物を検出するための検査キット
1か月前
マクセル株式会社
音声拡張現実オブジェクト再生装置及び音声拡張現実オブジェクト再生方法
1か月前
イルミナ インコーポレイテッド
ビオチン-ストレプトアビジン切断組成物及びライブラリ断片切断
1か月前
サン パテント トラスト
復号装置、符号化装置、復号方法、および符号化方法
1か月前
株式会社ニコン
基板補正装置、基板積層装置、基板処理システム、基板補正方法、基板処理方法、および半導体装置の製造方法
1か月前
ジュール・ラブズ・インコーポレイテッド
気化器デバイスマイクロ流体システムおよび装置
1か月前
日産自動車株式会社
MECアーキテクチャにおけるジオサービスへ加入する方法
1か月前
ジョンソン・アンド・ジョンソン・ビジョン・ケア・インコーポレイテッド
コンタクトレンズパッケージ及び開封方法
1か月前
株式会社シディ
情報処理方法、情報処理装置および情報処理プログラム
1か月前
信越ポリマー株式会社
積層体、及び該積層体を有する金属張積層板
1か月前
ザ リージェンツ オブ ザ ユニバーシティー オブ ミシガン
ヒストトリプシのための送受信機能を備えた超音波トランスデューサ
1か月前
個人
コエンザイムQ産生促進剤及びコエンザイムQ産生促進方法
1か月前
ベイ マテリアルズ エルエルシー
二重シェル歯科装置及び材料構成
1か月前
イルミナ インコーポレイテッド
ハイスループット単一核及び単一細胞ライブラリー、並びに製造及び使用方法
1か月前
株式会社半導体エネルギー研究所
二次電池
1か月前
株式会社ニコンビジョン
距離測定装置及び距離測定方法
1か月前
株式会社ニコン
撮像素子
1か月前
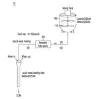
コリア ハイドロ アンド ニュークリアー パワー カンパニー リミテッド
液体放射性廃棄物投入システム
1か月前
アバララ インク
独自に調達可能な商品のコンプライアンス情報
1か月前
続きを見る
前へ
640
641
642
643
644
645
646
647
648
649
650
次へ