TOP
|
特許
|
意匠
|
商標
意匠ウォッチ
Twitter
他の意匠を見る
発行日
2025-01-28
公報種別
意匠公報(S)
登録番号
1705487
登録日
2022-01-12
意匠に係る物品
カメラ用レンズキャップ
意匠分類
J3
-2912(光学機械器具)
出願番号
2020006042
出願日
2020-03-27
意匠権者
ソニーグループ株式会社
代理人
個人
意匠に係る物品の説明
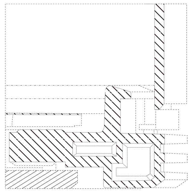
本願物品は花形レンズフード(長い花弁状部分及び短い花弁状部分を交互に有するレンズ鏡筒のフード)に装着するレンズキャップであり、正面視上下左右の四か所に係合用の爪を具える。爪の背面に設けられた背面視左右一対のプッシュボタンを押し込むと、爪を動かした状態を示す正面図に示す通り、これらが連動してキャップ中心方向に移動する。花形レンズフードに二つある、軸方向により長い方の花弁状部分先端には、それぞれ横長の細長い突起(以下「突起部」という。)があり、本願物品をレンズフードに装着した状態の参考斜視図及び本願物品をレンズフードに装着する態様を説明する参考斜視図に示す通り、かかる突起部を本願物品の爪に係合して、両者を固定する(爪とレンズキャップの内壁でレンズフードを挟み込むようにして固定する)。四つの爪の相互の間隔を、突起部の円周方向の長さより短くすることで、本願物品をレンズフードに装着する態様を説明する参考斜視図において赤の矢印で示すように、少なくとも両突起部の左右端にそれぞれ必ず二つの爪が係合し、レンズキャップが安定的に固定される。
意匠の説明
一点鎖線で囲んだ部分(それぞれの爪の背面の一部及びレンズキャップ内壁の一周)が部分意匠として意匠登録を受けようとする部分である。各図における一点鎖線は意匠登録を受けようとする部分とそれ以外の部分の境界のみを表している。平面図は底面図と対称に現れるので省略する。左側面図は右側面図と対称に現れるので省略する。全ての断面図は内部機構を省略した断面図である。
この意匠をJ-PlatPat(特許庁公式サイト)で参照する
関連意匠
ソニーグループ株式会社
14日前
ソニーグループ株式会社
4か月前
ソニーグループ株式会社
9か月前
ソニーグループ株式会社
9か月前
ソニーグループ株式会社
10か月前
ソニーグループ株式会社
10か月前
ソニーグループ株式会社
10か月前
ソニーグループ株式会社
10か月前
ソニーグループ株式会社
乗用自動車
10か月前
ソニーグループ株式会社
乗用自動車
10か月前
ソニーグループ株式会社
乗用自動車
7か月前
ソニーグループ株式会社
設定用画像
5か月前
ソニーグループ株式会社
無人航空機
8か月前
ソニーグループ株式会社
選択操作用画像
2か月前
ソニーグループ株式会社
映像撮影用画像
5か月前
ソニーグループ株式会社
無人航空機用画像
11か月前
ソニーグループ株式会社
乗用自動車
10か月前
ソニーグループ株式会社
乗用自動車
10か月前
ソニーグループ株式会社
無人航空機用画像
10か月前
ソニーグループ株式会社
無人航空機用画像
10か月前
ソニーグループ株式会社
蓄電池
5か月前
ソニーグループ株式会社
蓄電池
10か月前
ソニーグループ株式会社
乗用自動車
9か月前
ソニーグループ株式会社
イヤホン
6か月前
ソニーグループ株式会社
イヤホン
27日前
ソニーグループ株式会社
包装用容器
12か月前
ソニーグループ株式会社
スピーカー
2か月前
ソニーグループ株式会社
スピーカー
9か月前
ソニーグループ株式会社
スピーカー
2か月前
ソニーグループ株式会社
コントローラー
11か月前
ソニーグループ株式会社
スピーカー
9か月前
ソニーグループ株式会社
カメラ用レンズキャップ
8か月前
ソニーグループ株式会社
ディスプレイユニット
1か月前
ソニーグループ株式会社
ディスプレイユニット
1か月前
ソニーグループ株式会社
ディスプレイユニット
1か月前
ソニーグループ株式会社
ディスプレイユニット
3か月前
続きを見る
他の意匠を見る