TOP
|
特許
|
意匠
|
商標
意匠ウォッチ
Twitter
他の意匠を見る
発行日
2025-07-16
公報種別
意匠公報(S)
登録番号
1719270
登録日
2022-06-29
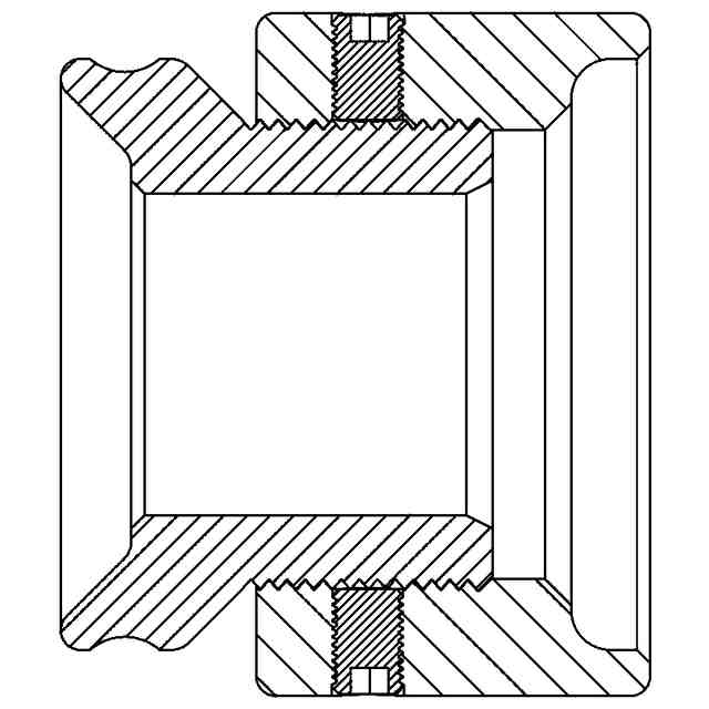
意匠に係る物品
電線保持具
意匠分類
H2
-440(回転電気機械、配電機械器具)
出願番号
2021025357
出願日
2021-11-19
意匠権者
株式会社永木精機
代理人
個人
意匠に係る物品の説明
本物品は、「使用状態を示す参考斜視図」に示すように、電線の架設・保守の無停電工事において用いられる活線振分工具の伸縮棒の細軸側に組み付けられる電線保持具である。「使用状態を示す参考斜視図」には作業対象となる電線の位置を二点鎖線で表している。電線保持具は、切断前に撓ませた電線を保持し、切断後の電線を振り分ける際に用いられる。
意匠の説明
この意匠をJ-PlatPat(特許庁公式サイト)で参照する
関連意匠
株式会社永木精機
4か月前
株式会社永木精機
7か月前
株式会社永木精機
7か月前
株式会社永木精機
7か月前
株式会社永木精機
7か月前
株式会社永木精機
7か月前
株式会社永木精機
7か月前
株式会社永木精機
7か月前
株式会社永木精機
7か月前
株式会社永木精機
被覆線保持体
4か月前
株式会社永木精機
被覆線保持体
4か月前
株式会社永木精機
被覆線保持体
4か月前
株式会社永木精機
電工用ナイフ
4か月前
株式会社永木精機
配線回路基板
19日前
株式会社永木精機
電工用ナイフ
4か月前
株式会社永木精機
被覆線剥離工具
1か月前
株式会社永木精機
被覆線剥離工具
1か月前
株式会社永木精機
帯状体巻き付け具
6か月前
株式会社永木精機
電線保持具
2か月前
株式会社永木精機
電線保持具
2か月前
株式会社永木精機
遠隔作業工具用操作杆保持具
6か月前
株式会社永木精機
遠隔作業工具用操作杆保持具
7か月前
東北電力株式会社
締結工具
11か月前
株式会社永木精機
掴線器
27日前
株式会社永木精機
掴線器
5か月前
株式会社永木精機
掴線器
5か月前
株式会社永木精機
ラチェットレンチの切替爪
19日前
株式会社永木精機
ラチェットレンチのグリップ
27日前
東北電力株式会社
締結工具のカバー
10か月前
デンヨー株式会社
発電機
9か月前
深セン市緑聯科技股フン有限公司
充電器
1か月前
テンパール工業株式会社
分電盤
11か月前
テンパール工業株式会社
分電盤
11か月前
デンヨー株式会社
発電機
27日前
GROOVE X株式会社
充電器
6か月前
CPSpeed株式会社
充電器
11か月前
続きを見る
他の意匠を見る