TOP
|
特許
|
意匠
|
商標
意匠ウォッチ
Twitter
他の意匠を見る
発行日
2024-12-05
公報種別
意匠公報(S)
登録番号
1786288
登録日
2024-11-27
意匠に係る物品
建築用タラップ
意匠分類
D0
-200(D3~D9に属さないその他の住宅設備用品)
出願番号
2024013265
出願日
2024-06-27
意匠権者
個人
代理人
個人
,
個人
,
個人
,
個人
,
個人
,
個人
意匠に係る物品の説明
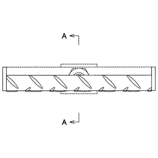
本物品は、ビルの建築現場や作業場において、作業者の昇降作業用の足場を確保するために仮設される建築用タラップに関する。本物品は、帯板と踏桟部を環状に形成してなるタラップ部材本体と建築用鉄骨に固着された支持部材に掛止可能に成形される掛具からなる。前記タラップ部材本体は、前方に位置し掛具の固定される短辺部、該短辺部の両側端からそれぞれ後方に向かって末広がりに連接する一対の斜辺部、該一対の斜辺部の各後端から後方に略平行に連接する一対の側辺部、及び、前記一対の側辺部後端側において帯板と連結して形成される前記踏桟部により、環状に形成される。前記掛具は、タラップ部材本体から前方に突出して形成されて支持部材に載置可能な当接部と、該当接部前端から周方向に延出して形成された抜け止め部とを備える掛止部、及び、タラップから前方に一体に突出して形成され、当接部が支持部材に載置された際に支持部材の側面に当接して支持部材に対しタラップ部材が回転しないよう制限する回転止め部からなる。本物品は、使用状態を示す参考図(1)及び(2)に示すように、建築用鉄骨の外側面に固着されてなる支持部材に対して、掛具を上方から着脱可能に掛け止めることで、足場を形成し、建築用鉄骨への作業者の昇降を可能にする。
意匠の説明
実線で表した部分が、意匠登録を受けようとする部分である。一点鎖線は、意匠登録を受けようとする部分とその他の境界のみを示す線である。
この意匠をJ-PlatPat(特許庁公式サイト)で参照する
関連意匠
長谷川工業株式会社
踏み台
4か月前
株式会社猫壱
踏み台
4か月前
ヴェルナー ドルシュ ゲーエムベーハー
踏み台
6か月前
株式会社ナカオ
作業台
4か月前
株式会社オールマーケットジャパン
踏み台
4か月前
長谷川工業株式会社
踏み台
4か月前
三和鋼器株式会社
足場金具
4か月前
三和鋼器株式会社
足場金具
4か月前
株式会社ヤマソロ
郵便受け箱
11か月前
株式会社ヤマソロ
郵便受け箱
11か月前
株式会社ヤマソロ
郵便受け箱
11か月前
株式会社ヤマソロ
郵便受け箱
11か月前
株式会社ヤマソロ
郵便受け箱
11か月前
株式会社ヤマソロ
郵便受け箱
11か月前
株式会社ヤマソロ
郵便受け箱
11か月前
株式会社ヤマソロ
郵便受け箱
11か月前
株式会社長谷工コーポレーション
宅配ボックス
7か月前
天馬株式会社
宅配ボックス
6か月前
天馬株式会社
宅配ボックス
6か月前
天馬株式会社
宅配ボックス
6か月前
株式会社グリーンライフ
宅配便受け箱
5か月前
洛陽威盛電子科技有限公司
宅配ボックス
7か月前
三協立山株式会社
宅配ボックス
11か月前
株式会社渡辺製作所
宅配便受け箱
2か月前
フルサト工業株式会社
昇降用ステップ
7か月前
長谷川工業株式会社
脚立用脚カバー
3か月前
日工株式会社
昇降用ステップ
2か月前
個人
建築用タラップ
10か月前
日工株式会社
昇降用ステップ
2か月前
日工株式会社
昇降用ステップ
2か月前
日工株式会社
昇降用ステップ
2か月前
日工株式会社
昇降用ステップ
2か月前
有限会社フタワシステム
宅配用ボックス
6か月前
日工株式会社
昇降用ステップ
2か月前
株式会社PLEISE
トイレ用踏み台
2か月前
株式会社トレードワン
折り畳み式踏み台
4か月前
続きを見る
他の意匠を見る