TOP
|
特許
|
意匠
|
商標
意匠ウォッチ
Twitter
他の意匠を見る
発行日
2025-01-08
公報種別
意匠公報(S)
登録番号
1788482
登録日
2024-12-24
意匠に係る物品
釣り竿
意匠分類
K2
-40(漁業用機械器具)
出願番号
2024012169
出願日
2024-06-16
意匠権者
株式会社Japan Standard
代理人
個人
意匠に係る物品の説明
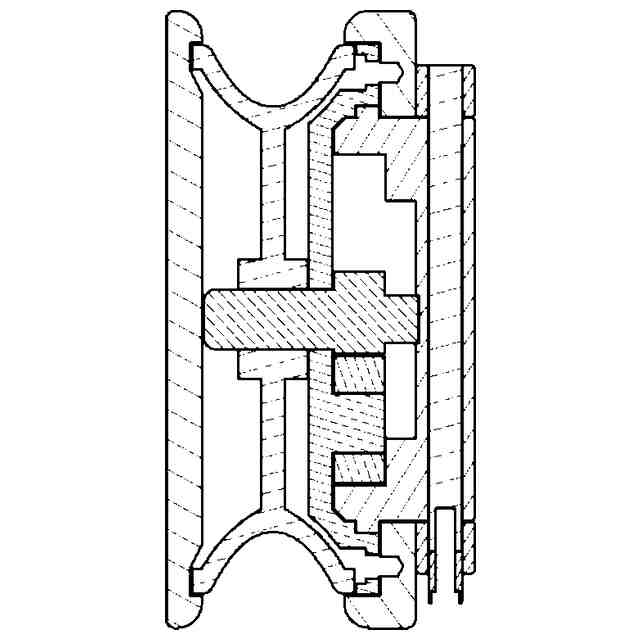
本物品は、釣り竿として利用可能な釣り具であり、より具体的には、棒状部のないリール付きの釣り竿である。「各部の名称を示す参考図」に示すように、本物品は、リールと持ち手とを備える。リールは、釣り糸が巻き付けられるスプールと、このスプールを回転させるツマミと、釣り糸の掛け部とを備える。持ち手には、二つの指掛け穴が設けられている。本物品は、「使用方法を示す参考図」および「使用状態を示す参考図1」に示すように、スプールに釣り糸が巻かれて使用される。スプールからの釣り糸は、掛け部を介して、外部へ導出される。釣り糸の先端には、ルアーが設けられる。「使用状態を示す参考図1,3,4」に示すように、持ち手の指掛け穴には、人差し指と中指とを引っ掛けて使用できる。「使用方法を示す参考図」において、(a)~(d)の順に示すように、本物品を一方の手で持った状態で、他方の手で釣り糸を持ち、ルアーを振り回して、勢いよく水中へルアーを放てばよい。その後、ルアーを引き寄せるようにして動かして、魚を釣り上げることができる。釣り上げる際、リールのツマミを回すことで、容易に釣り糸を巻き取って、ルアーを引き戻すことができる。使用後には、「ツマミ収納状態の各図」に示すように、ツマミを反転して収納可能とされる。また、「使用状態を示す参考図2,4」に示すように、糸止めに糸を引っ掛けて保持することができる。
意匠の説明
本物品の大きさは、右側面図において、上下方向寸法が5cmである。「ツマミ収納状態の参考斜視図1,2」および「使用状態を示す参考図3,4」は、実施態様の一例を示している。「使用方法を示す参考図」および「使用状態を示す参考図1,2」では、釣り糸およびルアーを強調ないし簡略化して示している。
この意匠をJ-PlatPat(特許庁公式サイト)で参照する
関連意匠
株式会社Japan Standard
釣り竿
9か月前
株式会社がまかつ
釣針
9か月前
株式会社長崎工業
釣竿
9か月前
個人
釣針
3か月前
ビーズ株式会社
釣具
8か月前
株式会社がまかつ
釣針
9か月前
株式会社Japan Standard
釣り竿
9か月前
株式会社アグア
疑似餌
2か月前
マナチャイ タンピタクパイブーン
タンク
7か月前
個人
疑似餌
4か月前
株式会社下元企画
擬似餌
6か月前
株式会社アグア
疑似餌
4か月前
マルハニチロ株式会社
混合器
9か月前
マルハニチロ株式会社
混合器
9か月前
有限会社工房Ryo
疑似餌
4か月前
グローブライド株式会社
ルアー
4か月前
グローブライド株式会社
ルアー
4か月前
株式会社START
擬似餌
4か月前
個人
釣り針
8日前
個人
逆さ針
4か月前
株式会社プロックス
魚掴み器
1か月前
有限会社サニー商事
ハリ外し
2か月前
株式会社オーツボ
海苔箱船
8か月前
株式会社オーツボ
海苔箱船
8か月前
株式会社森機械製作所
貝類養殖籠
2か月前
グローブライド株式会社
釣用リール
1か月前
株式会社森機械製作所
貝類養殖籠
2か月前
グローブライド株式会社
釣用かばん
4か月前
三菱製鋼株式会社
ホタテ漁具
2か月前
グローブライド株式会社
釣竿の元竿
5か月前
グローブライド株式会社
釣竿の元竿
5か月前
株式会社安達工業
釣用ルアー
3か月前
有限会社 林釣具店
釣用おもり
4か月前
個人
釣用ルアー
4か月前
個人
釣用ルアー
4か月前
グローブライド株式会社
釣用ルアー
4か月前
続きを見る
他の意匠を見る